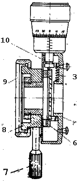
Гониометр Г-1,5

1- лампа; 2—сетка коллиматора; 3, 4—объектив коллиматора; 5, 6 - объектив зрительной грубы;
7—сетка зрительной трубы; 8—окуляр зрительной трубы; 9 - матовое стекло;
10 - линза; 11— светофильтр; 12, 14, 17, 18, 21, 27— призмы отсчетного устройства;
13 - лимб ; 15, 16, 19, 20, 26, 28—объективы, отсчетного устройства; 22 — неподвижные клинья;
23 - подвижные клинья; 24—разделительный блок; 25— шкала; 29- окуляр отсчетного устройства
Рис. 2. Оптическая схема
Рис. 3. Поле зрения отсчетного микроскопа.

Каждое деление шкалы соответствует 1/600 от 10', т. о. 1". Поле зрения отсчетного микроскопа приведено на рис.3; В левом окно наблюдаются изображения диаметральна Противоположных участков лимба и вертикальный индекс, и правом окно - деления шкалы оптического микрометра и горизонтальный индекс.

Чтобы снять отечет по лимбу; необходимо повернуть маховичок 49 оптического микрометра (рис. 5) настолько, чтобы верхние и нижние изображения штрихов лимба в левом окне точно совместились. Чисто градусов будет равно видимой ближайшей левой от вертикального индекса цифре. Число десятков минут равно числу интервалов, заключенных между верхним штрихом, который соответствую отсчитанному числу градусов, и нижним оцифрованным штрихом, отличающимся от верхнего на 180. Число единиц минут обсчитывается по шкале микрометра в правом окне по левому ряду чисел. Число десятков секунд - в том же окно по правому ряду чисел. Разность двух отсчетов даст угол автоколлимациии:

γ == А1 - А2.

Штрихами, соответствующими отсчету десятков секунд, и неподвижным горизонтальным индексом. Положение, показанное на рис. 3, соответствует отсчету 0° 15'57".

2. Конструктивные особенности

Прибор ГС-5 обладает рядом конструктивных особенностей :

3. Устройство

Прибор состоит из следующих основных узлов: зрительной трубы 38 (рис. 4). коллиматора 33, основания 48 с осевой системой и столиком. Зрительная труба и коллиматор имеют одинаковую конструкцию.

Фокусировка зрительной трубы и коллиматора производится маховичками 34 и 52 (рис. 5) по шкалам 55 и 37 (рис. 4), на который имеются индексы «∞ » и деления. Цена одного деления равна 1 мм.

Шкала служит для определения положения фокусирующей линзы при измерении пластинок или призм, имеющих некоторую кривизну поверхности.

Винты 35 и 53 (рис. 5), расположенные под объективами и трубами, служат для юстировки визирных осей по вертикали.

Рис. 4.
Общий вид гониометра ГС-5
(со стороны коллиматора)
30—стойка коллиматора;
31 - раздвижная щель;
32—кольцо;
33-коллиматор;
34--маховичок фокусировки коллиматора,
35—юстировочный винт;
36- винт наклона столика;
37 — шкала;
38- зрительная труба;
39, 40 рычажки;
41—алидада
42 -механизм соединения лимба
с алидадой,
43—маховичок;
44- общий выключатель;
45— розетка
46- переключатель;
47- подсветка;
48 основание

Окулярные устройства крепятся к трубам с помощью колец 32 (рис. 4) и 51 (рис. 5). Коллиматор 33 показан, на рис. 4 с раздвижной щелью 31, а зрительная труба — с автоколлимационным окуляром с кубиком. Лимб гониометра и сетки окуляров освещаются лампой. Лампа: помещена и подсветке 47. Прибор включается непосредственно в сеть переменного тока через розетку 45. Для понижения напряжения в приборе предусмотрен трансформатор, который переключается на напряжения 127 и 220в переключателем 46. Общий выключатель 44 установлен на основании 48. Зрительная труба 38 со стойкой, в которой смонтирован микроскоп, крепится к алидаде 41. Коллиматор установлен на стопке 30, которая закреплена неподвижно на основании 48. В средней части основания жестко закреплена цилиндрическая ось 6 (рис. 6), на которой установлены лимб 4 в оправе с шестерней 5 и алидада 41 (рис. 4). Установка оси в вертикальное положение производится винтами 60 (рис. 5) по уровню 57, вмонтированному в корпусе алидады. Алидада вращается относительно оси прибора и установленного на ней лимба грубо от руки и точно микрометрическим винтом 61 при зажатом винте 59. Лимб может вращаться также вместе с алидадой. Для этого в приборе предусмотрен специальный механизм 42 (рис 4), обеспечивающий соединение лимба с алидадой. Включение, и выключение лимба для совместного или раздельного вращения с алидадой осуществляется рычажками 39 и 40. При совместном вращении лимба и алидады производятся измерения углов методом повторений. При неподвижной алидаде лимб имеет еще два варианта движений — самостоятельное, относительно алидады и столика , и вместе со столиком 54 (рис. 5). Самостоятельное вращение лимба относительно столика алидады осуществляется маховичком 43 (рис. 4). Это движение используется в тех случаях, когда необходимо производить измерения различными участками лимба. Вращение лимба вместе со столиком производится грубо от руки и точно микрометричкским винтом 58 (рис. 5),

Рис. 5. Общий вид гониометра ГС-5 (со
стороны зрительной трубы)
49 — маховичок оптического микрометра;
50—подсветка;
51 — кольцо;
52—маховичок фокусировки трубы;
53—юстировочный винт;
54—столик;
55—шкала;
56—винт;
57—уровень;
58—микрометренный винт;
59—зажимной винт;
60—винт;
61 — микрометренный винт.

Столик 54 представляет собой круглым диск 2 (рис. 6), установленный на оси 3. Для правильной установки измеряемого предмета предусмотрен наклон столика в двух взаимно перпендикулярных направлениях, осуществляемый с помощью винтов 36 (рис. 4). Столик может вращаться:

Нa поверхности лимба нанесена шкала с делениями. Шкала оцифрована от 0° до 360° . Цена одного деления равна 1' . Каждое деление, в свою очередь, разделено на 3 части. Таким образом, цена одного деления лимба равна 20".

Изображение штрихов лимба через призменный блок 14, 17 и объектив 15, 16 передается на диаметрально противоположный участок лимба. Изображения штрихов двух диаметрально противоположных участков лимба через систему призм 18, 21 и объектив 19, 20 передаются в оптический микрометр и микроскоп, причем одно изображение прямое, другое обратное.

Принцип действия оптического микрометра заключается в следующем. На ходу лучей от лимба к микроскопу помечены две пары оптических клиньев 22 и 23. Верхние и нижние клинья каждой пары имеют одинаковые, но направленные и противоположные стороны углы и представляют в сумме плоскопараллельные пластинки. Верхние клинья расположены на пути пучка лучей дающих прямое изображение штрихов лимба, нижние на пути пучка лучей, дающих обратное и изображение штрихов диаметрально противоположного участка ли[] При движении подвижных клиньев в направлении хода лучей последние будут смещаться - один пучок в одном направлении , второй - в противоположном, навстречу длpуг другу. Таким образом, перемещая клинья в прямом и обратном направлениях, можно совместить или развести изображения штрихов диаметрально противоположных участков лимба. Пройдя через клинья изображения штрихов лимба падает на разделительный блок 24. В окуляр 29 микроскопа рассматривают одновременно изображения штрихов лимба и шкалу микрометра, жестко соединенною с подвижными клиньями. Шкала рассчитана таким образом, что при перемещении ее на 600 делений смещается верхнее изображение штрихов лимба относительно нижнего на 10'.

ГЛАВА 2

Устройство прибора

оптическая система

Оптическая система гониометра включает оптическую систему зрительной трубы, оптическую систему коллиматора и оптическую систему отсчетного устройства.

Зрительная труба и коллиматор представляют собой телескопические системы с внутренней фокусировкой

Коллиматор состоит из сетки 2 (рис. 2) и объектива 3,4. Зрительная труба coctoит из объектива 5, 6, сетки 7 и окуляра 8. Подсвеченная лампой 1 сетка 2 коллиматора расположена в фокусе объектива 3.4. Коллиматор дает параллельный пучок лучей, который, отразившись от грани исследуемой детали, попадает в объектив 5, 6 зрительной трубы, проходит через сетку 7 и затем попадает в окуляр 8.

Объектив зрительной трубы одинаков с объективом коллиматора. Рядом с окуляром 8 зрительной трубы расположен окуляр 29 отсчетного устройства.

Отсчетное устройство состоит из матового стекла 9. линзы 10, светофильтра 11. призм 12, 14. 17. 18, 21, 27, стеклянного лимба 13, объективов 15, 16, 19, 20. 26, 28, пары неподвижных клиньев 22. пары подвижных клиньев 23. разделительного блока 24. шкалы 25 и окуляра 29.

Ход лучей и отсчетном устройстве следующий. От лампы через матовое стекло 9, линзу 10, светофильтр 11 и прямоугольную призму 12 освещается лимб 13.

Рис. 6.
Осевое устройства прибора
1—винт;
2—диск;
3—ось столика;
4—лимб в оправе;
5 -шестерня;
6 ось нижнего основания прибора

Для измерения призм различных размеров имеется набор колец, позволяющих изменить высоту столика. Для того, чтобы установить кольцо, необходимо отвернуть винты 1 настолько, чтобы они вышли из канавки, и снять диск 2. Установив кольцо, винты кольца завинтить до упора. 1 Важнейшим узлом гониометра является оптический микрометр. Устройство оптического микрометра приведено на рис. 7. В направляющий паз линейки 9 вставлен ползун 2, с которым скреплена зубчатая рейка 6. При вращении маховичка ползун получает поступательное движение. С ползуном 2 жестко связаны подвижные клинья в оправе 4 и шкала 1 микрометра. Клинья в оправе 5 неподвижны. Рейка 6 находится в постоянном зацеплении с шестерней 8, ось 7 которой соединена с маховичком 49 микрометра (рис. 5) посредством шарнирного валика.

Рис. 7. Устройство
оптического микрометра
1—шкала микрометра;
2 ползун;
3 диафрагма;
4 оправа подвижных клиньев;
5 оправа неподвижных клиньев;
6 зубчатая рейка;
7 ось;
8 шестерня;
9 линейка

Призма и оправе направляет пучки лучей, прошедших через клинья, в сторону диафрагмы 3, через большое окно которой рассматриваются изображения штрихов диаметрально противоположных участков лимба, а через малое - шкала микрометра.

ГЛАВА 3

устройство сменных принадлежностей гониометра

Принадлежности, входящие к основной комплект прибора

а) Автоколлимационный окуляр с кубиком

Техническая характеристика - фокусное расстояние 9.8 мм, увеличение 25х.

Устройство

Автоколлимационный окуляр с кубиком состоит из двух склеенных прямоугольных призм 7 (рис. 8) и 6, сеток 3 и 5, лампы 1 подсветки и окуляра 4.

Рис. 8. Устройство автоколлимационного
окуляра с кубиком
1—лампа;
2—защитное стекло;
3, 5—сетки;
4—окуляр;
6, 7 — прямоугольные призмы

:

Свет от лампы проходит через защитное стекло 2 и освещает сетку 3. Вид сетки 3 показан на рис. 9.

Рис. 9
Автоколлимационная сетка
окуляра с кубиком.

Далее, отразившись от полупрозрачной диагональной грани кубика, свет проходит через объектив трубы гониометра на плоскую поверхность измеряемого предмета. Отразившись от предмета, световой пучок образует изображение сетки 3 (рис. 8) В плоскости сетки 5. Полученное таким образом изображение наблюдается с помощью окуляра 4, Автоколлимационное изображение сеток 3 и 5 находится фокальной плоскости объектива трубы гониометра. Вид сетки 5 показан на рис. 10. Окуляр с кубиком рекомендуется применять в тех случаях, когда необходимо получить наибольшую точность измерения угла, так как этот окуляр имеет фокусное расстояние меньше, чем окуляр Гаусса, а следовательно, большее увеличение. что позволяет более точно совместить автоколлимационный крест с основной сеткой, а Также в тех случаях, когда требуется получить хорошую видимость автоколлимационного изображения от грани размером не менее 2 см2.

Рис. 10. Сетка окуляра с кубиком.

б) Окуляр с сеткой

Техническая характеристика; фокусное расстояние 9,8 мм, увеличение 25х

Устройство

Окуляр состоит из сетки 1 (рис. 11) и окуляра 2. Сетка 1 выполнена в виде перекрестия с биссекторами (рис. 10). Окуляр используется, и основном, при совместной работе зрительной трубы и коллиматора гониометра.

Рис. 11.
Устройство нормального окуляра
1- сетка;
2 окуляр

Такие работы производятся при:

в) Автоколлимационный окуляр Гаусса

Техническая характеристика: фокусное расстояние 27,3 мм, увеличение 9х.

Устройство

Автоколлимационный окуляр Гаусса состоит из перекрестия капроновых нитей, натянутых в оправе 5 (рис. 12) стеклянной пластинки 4, лампы 1 подсветки и нормального окуляра 3.

Рис. 12.
Автоколлимационный окуляр Гаусса
1—лампа;
2—защитное стекло;
3—окуляр;
4--стеклянная пластинка;
5 оправа

Свет от лампы 1 проходит через защитное стекло 2 и, отразившись от стеклянной пластинки, расположенной под углом 45° к оси окуляра, освещает капроновые нити. Автоколлимационное изображение нитей получается в плоскости самых нитей и наблюдается с помощью окуляра 3. Установка нити в горизонтальное положение производится путем разворота оправы с нитями вокруг оси окуляра.

Преимущество окуляра Гаусса состоит в том, что полученное автоколлимационное изображение нитей может быть совмещено с самими нитями и, таким образом, оптическая ось трубы гониометра может быть установлена строго перпендикулярно к зеркальной поверхности, от которой получено автоколлимационное изображение.

Автоколлимационный окуляр Гаусса незаменим при контроле перпендикулярности оси трубы к оси вращения столика гониометра и для наиболее точной фокусировки трубы на бесконечность.

Автоколлимационный окуляр Гаусса рекомендуется применять в тех случаях, когда, размер площади поверхности, от которой получают - автоколлимационное изображение, более чем 1 см2. В противном случае изображение становится настолько слабым, что точные измерения оказываются невозможными.

Необходимо помнить, что нити в окуляре Гаусса очень тонки (0.01 мм) и поэтому не допускается продувание или какая-либо чистка в месте расположения нитей, так как легко можно оборвать нити и автоколлимационный окуляр выйдет из строя.

г} Механическая раздвижная щель

Механическая раздвижная щель устроена таким образом микровинт 3 (рис. 13), на котором закреплен барабанчик 2 со шкалой 1. перемешается во втулке 4 и нажимает на шаровую опору рычага 5. Рычаг 5 поворачиваясь вокруг своим оси, действует на рычаг 6 в результате чего пластины А и В одновременно раздвигаются в разные стороны, образуя щель. При обратном вращении микровинта 3 пластины сближаются под действием пружин 7 и 8. На барабанчике 2 нанесено 100 делений с ценой 0.01 мм.

Рис. 13.
Механическая раздвижная щель
1 — шкала;
2 — барабанчик;
3 — микровинт;
4 — втулка;
5, 6 — рычаги;
7, 8 — пружины

Предел изменения ширины щели 0 — 2 мм. Максимальная длина щели 15 мм. Она может быть уменьшена с помощью имеющейся в механической щели пластины с V-образным вырезом. Шаг микровинта — 0,5 мм.

Механическая щель находится в фокусе объектива коллиматора и является щелевидной диафрагмой, изображение которой наблюдается в фокальной плоскости объектива трубы гониометра с помощью окуляра. Щель применяется для измерения показателя преломления и дисперсии стекла методом наименьшего отклонения луча света.

Механическая щель также применяется при измерении углов призм методом скользящего отражения параллельного пучка лучей коллиматора от гранен призм, имеющих малые размеры . В этом случае изображение наблюдается в зрительную трубу благодаря достаточной протяженности щели и высокой яркости ее освещения.

д) Окулярный микрометр

Окулярный микрометр является сменным узлом гониометра ГС-5 и служит для измерения угла с точностью отсчета ±2" (дуговые секунды). Конструктивно микрометр оформлен следующим образом: сетка 4 (рис. 14) закреплена в салазках 6 типа «ласточкин хвост». Сетка 4 представляет собой перекрестие с вертикальным биссектором и штрихом. Поле зрения сетки 4 показано на рис. 15. Микрометренний, винт 1 (рис. 14). на котором закреплен барабанчик с делениями, нажимает на торец салазок 6 и перемещает сетку по направляющим. Салазки 6 прижимаются к торцу микрометренного винта 1 пружинами 3.

Рис. 14.
Окулярный микрометр
1- микрометренный винт;
2 - винт;
3- пружина;
4 — сетка кожух;
6- салазки;
7 винт:
8 хомутик;
9—кольцо;
10 основание

Микрометренный винт имеет шаг резьбы 0.4 мм. Окружность маховичка разделена на 100 частей. При повороте маховичка на одно деление винт перемещается на 0.004 мм, что соответствует перемещению штриха сетки при фокусе зрительной трубы 400,5 мм на угол, ранный 2".

Рис. 15. Поле зрения окулярного микрометра.

Салазки с сеткой и микрометренный винт закреплены в основании 10 и кожухе 5. Винты 2 служат для фиксации и закрепления сменных окуляров.

Основание 10 совместно с хомутиком 8 представляет ось для вращения основания на 90°. Винтом 7 фиксируется заданное положение микрометра. При помощи кольца 9 микрометр крепится к окулярной части труб.

Микрометр снабжен сменными окулярами с фокусными расстояниями 9,8 мм; 15,3 мм; 27,3 мм; 48 мм, а также окуляром Гаусса с фокусным расстоянием 23.5 мм. Окуляр состоит из двух пар сменных линз 4 (рис. 16) и 5. закреплениях в оправе 6, несущей диоптрийное кольцо 7. Свет от лампы 1 проходит через матовое стекло 2 и отразившись от стеклянной пластинки 3, расположенной под углом 45° к оси окуляра освещает штрихи сетки микрометра. Автоколлимационное изображение сетки получается в плоскости самой сетки и наблюдается с помощью окуляра.

Рис. 16. Окуляр Гаусса
1 — лампа;
2— матовое стекло;
3 стеклянная пластинка;
4, 5 — сменные линзы;
6 - оправа;
7 — диоптрийное кольцо

е) Ирисовая диафрагма

Ирисовая диафрагма предназначена для изменения величины светового отверстия зрительной трубы и коллиматора. Диафрагма конструктивно оформлена следующим образом. В корпусе 2 диафрагмы (рис. 17) закреплены оси ламелей 1, а поводок их помещен в пазы коронки 7. При повороте ведущего кольца 4 от упора до упора, в корпусе 2 диафрагмы поводок 3 вращает коронку 7, которая через поводки; ламелей изменяет световое отверстие от 5 до 50 мм. Диафрагма крепится на объективную часть трубы при помощи

Рис. 17.
Ирисовая диафрагма
1 — ламели;
2 — корпус;
3 — поводок;
4 — ведущее кольцо;
5 — втулка;
6 — гайка;
7 — коронка

Дополнительные принадлежности, поставляемые по требованию заказчика

а) Автоколлимационный окуляр Аббе

Техническая характеристика: фокусное расстояние 15,3 мм; увеличение 16х.

Устройство

Автоколлимационный окуляр Аббе состоит из сетки 1 (рис. 18), к которой приклеена призма 5, лампы 2 подсветки окуляра 4. Находится прозрачным крестик, прорезанный в непрозрачном слое. Свет от лампы 2 через защитное стекло 3 попадает в призму 5 и отразившись от ее гипотенузной грани, освещает прозрачный крестик (на рис. 19 он светлый). Дальнейшей ход лучей аналогичен ходу лучей в окуляре с кубиком. Полученное автоколлимационное изображение будет находиться в плоскости темного креста сетки, но несколько в стороне от него.

Рис. 18. Автоколлимационный окуляр Аббе
1 — сетка;
2 — лампа;
3 — защитное стекло;
4 — окуляр;
5 — призма

Сетка 1, наряду с обычным перекрестием (на рис. 19 темный крест), имеет непрозрачный перпендикулярные шкалы с ценой деления 1'. Шкалы и автоколлимационное изображение рассматриваются через окуляр 4.

Рис. 19. Сетка автоколлимационного окуляра Аббе.

В отличие от других автоколлимационных окуляров окуляр Аббе имеет в поле зрения шкалу, позволяющую производить непосредственный отсчет небольших величин измеряемого угла в двух взаимно перпендикулярных направлениях и измерение пирамидальности призм в пределах величин, не превышающих 30', т. е производить измерения в вертикальном направлении.

Таким образом, окуляр Аббе рационально применять, в случаях, когда:

б) окуляр со светящейся сеткой

Техническая характеристика - фокусное расстояние 27.3 мм; увеличение 9х .

Устройство

Окуляр со светящейся сеткой состоит пз сетки 4 (рис. 20). лампы 1 подсветки и окуляра 3.

Рис. 20. Окуляр со
светящейся сеткой
1 — лампа;
2 конденсор;
3 — окуляр;
4 — сетка

Сетка представляет собой стеклянный диск (рис. 21), на поверхности которого во взаимно перпендикулярном направлении нанесены шкалы с ценой деления 1'. Оцифровка шкал начинается от центрального перекрестия к краю поля зрения. Измерения могут производиться в пределах 60'.

Рис. 21. Вид сетки окуляра
со светящейся сеткой.

Свет падающий от лампы 1 (рис. 20), через конденсор 2 проходит в сетку 4. Вследствие полного внутреннего отражения света внутри сетки 4 протравленные штрихи шкалы на поверхности сетки получают рассеянный свет и в окуляре 3 наблюдается светлая шкала на темном фоне. Окуляр со светящейся сеткой применяется в тех случаях, когда требуется произвести наводку или измерение по слабо освещенному изображению. В частности данный окуляр может быть использован при измерении дисперсии стекла в фиолетовой области спектра. В этом случае сравнителен легко ориентироваться и производить наводку изображения, имеющего незначительную яркость, на светлые штрихи сетки окуляра.

в) Револьверная головка с набором точечных диафрагм

Револьверная головка представляет собой вращающийся вокруг оси 4 (рис. 22) диск 9, в отверстие которого вставлены пластинки с круглыми точечными диафрагмами диаметром 0,01; 0,02; 0.03; 0.05 и 0,1 мм (1, 2, 3, 5, 8).

Рис. 22. Револьверная головка
2, 3, 5, 8—точечные диафрагмы; 4—ось; 6—пружина; 7—корпус; 9—диск

Ось 4 закреплена в корпусе 7 в центре которого имеется окно. Вращая диск 9, можно установить перед окном любую из диафрагм. Положение диафрагмы фиксируется пружиной 6.

Точечные диафрагмы применяются для исследования стекла на однородность, для исследования качества телескопических систем небольшого размера по виду дифракционного изображения точечной диафрагмы и для исследования качества объективов труб данного гониометра.

При исследовании телескопической системы (бинокль, небольшая зрительная труба и др.) последняя устанавливается на столике гониометра и направляется объективом на коллиматор гониометра. Фокусируя окуляром исследуемой телескопической системы, наблюдают изображение точечной диафрагмы и по виду дифракционного изображения судят о качестве объектива этом системы. Устанавливая зрительную трубу гониометра против коллиматора и наблюдая в фокальной плоскости нормального окуляра зрительной трубы дифракционное изображение точечной диафрагмы, судят о качестве труб данного гониометра.

При хорошем качестве испытуемых объективов или систем дифракционное изображение точечной диафрагмы должно иметь вид центрального круглого и яркого ядра, вокруг которого имеется одно круглое кольцо значительно менее яркое, чем ядро.

В случае плохого качества испытуемого объектива или системы, дифракционное изображение точечной диафрагмы либо будет иметь вокруг центрального ядра не одно светлое кольцо, а несколько (что будет указывать на наличие значительной сферической аберрации), либо дифракционное кольцо изображения точечной диафрагмы примет неправильную форму, вытянется в эллипс, а ядро вытянется в одну сторону, образуя светлый хвост (что будет указывать на плохую центриРовку объектива или деформацию линз, входящих в объектив).

г) Подсветка с сеткой

Подсветка с сеткой состоит из матового стекла 2 (рис 23 сетки 1 и лампы 3. С помощью лампы и матового стекла освещается перекрестие сетки, которая помещается в фокусе объектива коллиматора или зрительной трубы гониометра.

Рис. 23.
Подсветка с сеткой
1—сетка
2—матовое стекло
; 3—лампа

Подсветка с сеткой может быть закреплена как на коллиматоре, так и на зрительной трубе гониометра. Это устройство используется, в частности, для установки параллельности визирных осей зрительной трубы и коллиматора в тех случаях. когда вместо освещенной щели в фокусе коллиматора желательно иметь черный крест нитей, необходимый Например, для качественной оценки смещения изображения по высоте при использовании зрительной трубы с нормальным окуляром.

д) Окуляр (f'= 15,3мм)

Техническая характеристика

Фокусное расстояние 15,3 мм Увеличение 16<

Устройство

Устройство данного окуляра аналогично описанному выше устройству окуляра с сеткой с фокусным расстоянием f' = 9,8 мм и увеличением Г = 25*.

е) Комплект осветителя монохроматического света

Назначение

Комплект осветителя монохроматического света ОМС, снабженный ртутной, ртутно-кадмиевой и натриевой лампами, а также водородной и гелиевой трубками, предназначен для получения монохроматического и белого света. Комплект осветителя ОМС выпускается как самостоятельное изделие.

ГЛАВА 4

ЭКСПЛУАТАЦИЯ ГОНИОМЕТРА

1. Проверка прибора

Прежде чем приступить к работе на гониометре, необходимо проверить его рабочее состояние. При проверке нужно следить за следующим:

1. Визирная ось зрительной трубы должна быть перпендикулярна к оси вращения алидады.

Это условие проверяют при помощи плоскопараллельной, пластинки, имеющейся и комплекте гониометра. Пластинку установить на столике гониометра. Винтами 36 (рис. 4) добиться, чтобы ее полированная грань была перпендикулярна к визирной оси зрительной трубы. При правильной установке автоколлимационное изображение, полученное от пластинки, совпадает с перекрестием сетки зрительной трубы. Повернув алидаду, при неподвижном столике на 180° : проверить совпадение перекрестия сетки с автоколлимационным изображением, полученным от противоположной границы пластинки по вертикали. При несовпадении необходимо произвести юстировку винтами столика 36 и винтом 53 (рис. 5) зрительной трубы, исправляя каждым половину величины до совпадения. проверку производить до тех пор, пока не бУдет точно совмещена. Затем проверить совпадение перекрестий при повороте трубы у столика с лимбом на 90°.

2, Визирная ось коллиматора должна быть параллельна визирной оси зрительной трубы. Это условие обеспечивается совмещением перекрестия сетки зрительной трубы с изображением перекрестия сетки, установленной в коллиматоре; Совмещение достигается вращением винта 35 (рис 4).

2. Типовые случаи измерения на гониометре

а) Измерение угла между гранями призмы или клина помощью автоколлиматора (рис. 24)

Призму или клин установить на столике 54 (рис. 5) так, чтобы одна из граней располагалась перпендикулярно к одному из винтов 36 (рис.. 4) наклона столика.Поворачивая зрительную трубу в горизонтальной плоскости и пользуясь наводящим винтом 56 (рис. 5) столика, найти автоколлимационное изображение перекрестия. С помощью винтов 36 (рис. 4) и 56 (рис. 5) автоколлимационное изображение совместить с перекрестием сетки трубы. Поворотам в горизонтальной плоскости трубы или столика призмой на величину β (рис. 24) найти автоколлимационное изображение креста от второй грани призмы и совместить с перекрестием сетки. При обратном повороте трубы может получиться несовпадение автоколлимационного изображения перекрестия с перекрестием сетки. Совмещения автоколлимационных изображений, полученных от обоих граней призмы, с перекрестием сетки зрительной трубы по вертикали достигают с помощью двух винтов (рис. 4) наклона столика. Правильная установка призмы получится в том случае, если Перекрестие сетки зрительной трубы будет строго совмещаться с автоколлимационными изображениями перекрестие обеих граней.

Рис. 24. Схема измерения угла между гранями призмы или клина с помощью автоколлиматора
I - первое положение трубы;
II - второе положение трубы;
β - измеренный на гониометре угол;
α - искомый угол призмы

В этом случае ребро призмы установлено параллельно оси вращения прибора. Измерения угла производить следующим образом. При совмещении перекрестии сетки трубы с ого автоколлимационным изображением, полученным от первой грани снять отсчет А1 по лимбу. Повернув трубу или столик с лимбом до совмещения перекрестии с его автоколлимационным изображением от втором грани, снять втором отсчет А2. Угол призмы α получается как разность 180° и измеренного на гониометре угла β:

α =180° - β, где β = A1 - A2; α - искомый угол призмы; А1 и А2 - отсчеты по лимбу.

б) Измерение угла между гранями призмы или клина методом отражения (рис. 25)

При измерении угла призмы методом отражения используются коллиматор и зрительная групп с нормальным окуляром.

Измеряемого призму установить на столик, как описано в предыдущем случае. Между коллиматором и трубой установить угол 30- 60° но можно и больше.

Наблюдая в трубу и поворачивая столик сначала от руки, а затем микрометренным винтом 58 (рис. 5), совместить изображение щели коллиматора, полученное от первой грани призмы, с соответствующей нитью перекрестия сетки трубы.

рис; 25. Схема измерения угла между гранями призмы или клина методом отражения:

К — коллиматор; Т—зрительная труба; α - угол призму γ — измеренный угол.

Видимая ширина щели должна быть в 2- 3 раза больше толщины штриха сетки. Закрепив столик в этом положении; снять отсчет A1. Повернув столик до совмещения изображения; щели, полученного от втором грани. С нитью перекрестия сетки трубы, снять отсчет A2 Угол призмы α - определить как разность между 180° и измеренным углом gamma: α = 180° - γ где γ=А1 - А2.

в) Измерение показателя преломления стекла методом автоколлимации (рис. 26)

Для определения показателя преломления стекла нужно измерить угол α между гранями клина и угол автоколлимации δ. Угол между гранями призмы при этом способе должен быть малым ( клин). Измерение угла клина α производить, как описано в п. а, а угол автоколлимации определить и процессе измерения угла α следующим образом:

Навести зрительную трубу на первую грань клина, с помощью винтов 36 (рис. 4) наклона столика и пинта 58 (рис. 5) микрометренной наколки столика, совместить автоколлимационное изображение с перекрестием сетки трубы и спять осечет по лимбу А1.

Поворачивая трубу, найти положений, при котором автоколлимационное изображение, полученное от внутренней поверхности второй грани клина, совместится с перекрестием сетки. Автоколлимационное изображение, полученное от внутренней поверхности второй грани, будет менее резким, чем первое, с небольшой окраской по краям перекрестия.

После точного совмещения автоколлимационного изображения перекрестия с перекрестием сетки трубы снять отсчет А2. Угол между гранями призмы для этого определения рекомендуется орать 60°. Значение наименьшего угла отклонения используется для определения показателя преломлений. по формуле:

n= sin[ (α-δ)/2]/sin[α/2] где α -угол между гранями призм;

Определенный таким способом показатель преломления стекла призмы будет соответствовать тем лучам спектра, которыми пользовались при освещении щели.

д) Измерение угла пирамидальности призм

Пирамидальность следует измерять с помощью автоколлимационной трубы со шкалой на сетке (окуляр Аббе). На столик установить испытуемую призму. Поворачивая столик, получить автоколлимационные изображения от одного и от другого катетов/призмы. Винтами столика совместить автоколлимационные изображения перекрестий со шкалой сетки окуляра.

Закрепив столик, нанести трубу на гипотенузную грань призмы и получить автоколлимационное изображение от этой грани. Если призма имеет пирамидальность, то центр автоколлимационного изображения перекрестия будет выше или ниже центра шкалы сетки.

Величина смешения автоколлимационного изображения, отсчитанная в числовых единицах по окулярной шкале, дает удвоенный угол пирамидальности.

Рис. 26.
Схема измерения показателя
преломления стекла методом автоколлимации:
I — первое положение зрительной трубы;
II — второе положение зрительной трубы;
δ — угол автоколлимации.

Показатель преломления стекла определяется по формуле: sin δ = n * sin α , n =sin δ / sin α

При данном методе измерений необходимо пользоваться cпециальным приспособлением, позволяющим освещать сетку окуляра монохроматическим светом,

г) Измерение показателя преломления стекла по способу наименьшею отклонения луча (рис.27)

Измерение наименьшего угла отклонения производить следующим образом. Призму установить на столике; как указывалось в п. а. щель осветить монохроматическим светом отражение щели коллиматора в поле зрения трубы. Наблюдая трубу, поворачивать от руки в одном направлении столик с призмой. При этом изображение щели будет передвигаться по полю зрения и в некоторый момент начнет двигаться в обратном направлении, несмотря на то, что вращение столика продолжается в том же направлении.

К—коллиматор; Т—зрительная труба; 1—первое положение зрительной трубы; 2—второе положение зрительной трубы α - угол между гранями призм; δ — наименьший угол отклонения
Рис. 27. Схема измерения показателя преломления стекла по способу наименьшего отклонения луча

3. правила ухода за прибором

Гониометр ГС-5 требует бережного и осторожного обращения.

Во избежание загрязнения и разъюстировки прибора необходимо принимать следующие меры:

Hosted by uCoz
HolyBiblesSearch:
Internet Search:

www.WHAK.com

www.MAKE-A-MEME.com
www.HolyBibleVerse.com

www.SignGenerator.org

www.MedChecker.com

www.SeekFreak.com

www.Syncrisis.com

www.Presearcher.com

www.SirSeek.com

www.FotoTrix.com

www.BoobSigns.com

www.Canuckster.com

me.ddleso.me

www.9lbs.com

www.TXT2PIC.com

www.FakeMagazineCover.com

www.Trollize.com

www.FanSignGenerator.com

www.Holy-Bibles.org

www.Is-A-Jerk.com

www.HolyBibleSearch.com
www.SillyWebcam.com
www.SillyScenes.com
www.Seekerific.com
www.Nerdful.com
www.BodySwitcher.com
www.13KG.com
www.SpareSomeChange.com
www.FloppyApps.com
www.MaxSpider.com
www.ChatPhobia.com
www.SirSeek.com
www.HappyFaceGenerator.com
www.DangerSignGenerator.com
HolyBiblesSearch:
Internet Search:

www.WHAK.com

www.MAKE-A-MEME.com
www.HolyBibleVerse.com

www.SignGenerator.org

www.MedChecker.com

www.SeekFreak.com

www.Syncrisis.com

www.Presearcher.com

www.SirSeek.com

www.FotoTrix.com

www.BoobSigns.com

www.Canuckster.com

me.ddleso.me

www.9lbs.com

www.TXT2PIC.com

www.FakeMagazineCover.com

www.Trollize.com

www.FanSignGenerator.com

www.Holy-Bibles.org

www.Is-A-Jerk.com

www.HolyBibleSearch.com
www.SillyWebcam.com
www.SillyScenes.com
www.Seekerific.com
www.Nerdful.com
www.BodySwitcher.com
www.13KG.com
www.SpareSomeChange.com
www.FloppyApps.com
www.MaxSpider.com
www.ChatPhobia.com
www.SirSeek.com
www.HappyFaceGenerator.com
www.DangerSignGenerator.com
HolyBiblesSearch:
Internet Search:

www.WHAK.com

www.MAKE-A-MEME.com
www.HolyBibleVerse.com

www.SignGenerator.org

www.MedChecker.com

www.SeekFreak.com

www.Syncrisis.com

www.Presearcher.com

www.SirSeek.com

www.FotoTrix.com

www.BoobSigns.com

www.Canuckster.com

me.ddleso.me

www.9lbs.com

www.TXT2PIC.com

www.FakeMagazineCover.com

www.Trollize.com

www.FanSignGenerator.com

www.Holy-Bibles.org

www.Is-A-Jerk.com

www.HolyBibleSearch.com
www.SillyWebcam.com
www.SillyScenes.com
www.Seekerific.com
www.Nerdful.com
www.BodySwitcher.com
www.13KG.com
www.SpareSomeChange.com
www.FloppyApps.com
www.MaxSpider.com
www.ChatPhobia.com
www.SirSeek.com
www.HappyFaceGenerator.com
www.DangerSignGenerator.com
HolyBiblesSearch:
Internet Search:

www.WHAK.com

www.MAKE-A-MEME.com
www.HolyBibleVerse.com

www.SignGenerator.org

www.MedChecker.com

www.SeekFreak.com

www.Syncrisis.com

www.Presearcher.com

www.SirSeek.com

www.FotoTrix.com

www.BoobSigns.com

www.Canuckster.com

me.ddleso.me

www.9lbs.com

www.TXT2PIC.com

www.FakeMagazineCover.com

www.Trollize.com

www.FanSignGenerator.com

www.Holy-Bibles.org

www.Is-A-Jerk.com

www.HolyBibleSearch.com
www.SillyWebcam.com
www.SillyScenes.com
www.Seekerific.com
www.Nerdful.com
www.BodySwitcher.com
www.13KG.com
www.SpareSomeChange.com
www.FloppyApps.com
www.MaxSpider.com
www.ChatPhobia.com
www.SirSeek.com
www.HappyFaceGenerator.com
www.DangerSignGenerator.com
HolyBiblesSearch:
Internet Search:

www.WHAK.com

www.MAKE-A-MEME.com
www.HolyBibleVerse.com

www.SignGenerator.org

www.MedChecker.com

www.SeekFreak.com

www.Syncrisis.com

www.Presearcher.com

www.SirSeek.com

www.FotoTrix.com

www.BoobSigns.com

www.Canuckster.com

me.ddleso.me

www.9lbs.com

www.TXT2PIC.com

www.FakeMagazineCover.com

www.Trollize.com

www.FanSignGenerator.com

www.Holy-Bibles.org

www.Is-A-Jerk.com

www.HolyBibleSearch.com
www.SillyWebcam.com
www.SillyScenes.com
www.Seekerific.com
www.Nerdful.com
www.BodySwitcher.com
www.13KG.com
www.SpareSomeChange.com
www.FloppyApps.com
www.MaxSpider.com
www.ChatPhobia.com
www.SirSeek.com
www.HappyFaceGenerator.com
www.DangerSignGenerator.com
HolyBiblesSearch:
Internet Search:

www.WHAK.com

www.MAKE-A-MEME.com
www.HolyBibleVerse.com

www.SignGenerator.org

www.MedChecker.com

www.SeekFreak.com

www.Syncrisis.com

www.Presearcher.com

www.SirSeek.com

www.FotoTrix.com

www.BoobSigns.com

www.Canuckster.com

me.ddleso.me

www.9lbs.com

www.TXT2PIC.com

www.FakeMagazineCover.com

www.Trollize.com

www.FanSignGenerator.com

www.Holy-Bibles.org

www.Is-A-Jerk.com

www.HolyBibleSearch.com
www.SillyWebcam.com
www.SillyScenes.com
www.Seekerific.com
www.Nerdful.com
www.BodySwitcher.com
www.13KG.com
www.SpareSomeChange.com
www.FloppyApps.com
www.MaxSpider.com
www.ChatPhobia.com
www.SirSeek.com
www.HappyFaceGenerator.com
www.DangerSignGenerator.com
HolyBiblesSearch:
Internet Search:

www.WHAK.com

www.MAKE-A-MEME.com
www.HolyBibleVerse.com

www.SignGenerator.org

www.MedChecker.com

www.SeekFreak.com

www.Syncrisis.com

www.Presearcher.com

www.SirSeek.com

www.FotoTrix.com

www.BoobSigns.com

www.Canuckster.com

me.ddleso.me

www.9lbs.com

www.TXT2PIC.com

www.FakeMagazineCover.com

www.Trollize.com

www.FanSignGenerator.com

www.Holy-Bibles.org

www.Is-A-Jerk.com

www.HolyBibleSearch.com
www.SillyWebcam.com
www.SillyScenes.com
www.Seekerific.com
www.Nerdful.com
www.BodySwitcher.com
www.13KG.com
www.SpareSomeChange.com
www.FloppyApps.com
www.MaxSpider.com
www.ChatPhobia.com
www.SirSeek.com
www.HappyFaceGenerator.com
www.DangerSignGenerator.com
HolyBiblesSearch:
Internet Search:

www.WHAK.com

www.MAKE-A-MEME.com
www.HolyBibleVerse.com

www.SignGenerator.org

www.MedChecker.com

www.SeekFreak.com

www.Syncrisis.com

www.Presearcher.com

www.SirSeek.com

www.FotoTrix.com

www.BoobSigns.com

www.Canuckster.com

me.ddleso.me

www.9lbs.com

www.TXT2PIC.com

www.FakeMagazineCover.com

www.Trollize.com

www.FanSignGenerator.com

www.Holy-Bibles.org

www.Is-A-Jerk.com

www.HolyBibleSearch.com
www.SillyWebcam.com
www.SillyScenes.com
www.Seekerific.com
www.Nerdful.com
www.BodySwitcher.com
www.13KG.com
www.SpareSomeChange.com
www.FloppyApps.com
www.MaxSpider.com
www.ChatPhobia.com
www.SirSeek.com
www.HappyFaceGenerator.com
www.DangerSignGenerator.com
HolyBiblesSearch:
Internet Search:

www.WHAK.com

www.MAKE-A-MEME.com
www.HolyBibleVerse.com

www.SignGenerator.org

www.MedChecker.com

www.SeekFreak.com

www.Syncrisis.com

www.Presearcher.com

www.SirSeek.com

www.FotoTrix.com

www.BoobSigns.com

www.Canuckster.com

me.ddleso.me

www.9lbs.com

www.TXT2PIC.com

www.FakeMagazineCover.com

www.Trollize.com

www.FanSignGenerator.com

www.Holy-Bibles.org

www.Is-A-Jerk.com

www.HolyBibleSearch.com
www.SillyWebcam.com
www.SillyScenes.com
www.Seekerific.com
www.Nerdful.com
www.BodySwitcher.com
www.13KG.com
www.SpareSomeChange.com
www.FloppyApps.com
www.MaxSpider.com
www.ChatPhobia.com
www.SirSeek.com
www.HappyFaceGenerator.com
www.DangerSignGenerator.com
HolyBiblesSearch:
Internet Search:

www.WHAK.com

www.MAKE-A-MEME.com
www.HolyBibleVerse.com

www.SignGenerator.org

www.MedChecker.com

www.SeekFreak.com

www.Syncrisis.com

www.Presearcher.com

www.SirSeek.com

www.FotoTrix.com

www.BoobSigns.com

www.Canuckster.com

me.ddleso.me

www.9lbs.com

www.TXT2PIC.com

www.FakeMagazineCover.com

www.Trollize.com

www.FanSignGenerator.com

www.Holy-Bibles.org

www.Is-A-Jerk.com

www.HolyBibleSearch.com
www.SillyWebcam.com
www.SillyScenes.com
www.Seekerific.com
www.Nerdful.com
www.BodySwitcher.com
www.13KG.com
www.SpareSomeChange.com
www.FloppyApps.com
www.MaxSpider.com
www.ChatPhobia.com
www.SirSeek.com
www.HappyFaceGenerator.com
www.DangerSignGenerator.com
HolyBiblesSearch:
Internet Search:

www.WHAK.com

www.MAKE-A-MEME.com
www.HolyBibleVerse.com

www.SignGenerator.org

www.MedChecker.com

www.SeekFreak.com

www.Syncrisis.com

www.Presearcher.com

www.SirSeek.com

www.FotoTrix.com

www.BoobSigns.com

www.Canuckster.com

me.ddleso.me

www.9lbs.com

www.TXT2PIC.com

www.FakeMagazineCover.com

www.Trollize.com

www.FanSignGenerator.com

www.Holy-Bibles.org

www.Is-A-Jerk.com

www.HolyBibleSearch.com
www.SillyWebcam.com
www.SillyScenes.com
www.Seekerific.com
www.Nerdful.com
www.BodySwitcher.com
www.13KG.com
www.SpareSomeChange.com
www.FloppyApps.com
www.MaxSpider.com
www.ChatPhobia.com
www.SirSeek.com
www.HappyFaceGenerator.com
www.DangerSignGenerator.com
HolyBiblesSearch:
Internet Search:

www.WHAK.com

www.MAKE-A-MEME.com
www.HolyBibleVerse.com

www.SignGenerator.org

www.MedChecker.com

www.SeekFreak.com

www.Syncrisis.com

www.Presearcher.com

www.SirSeek.com

www.FotoTrix.com

www.BoobSigns.com

www.Canuckster.com

me.ddleso.me

www.9lbs.com

www.TXT2PIC.com

www.FakeMagazineCover.com

www.Trollize.com

www.FanSignGenerator.com

www.Holy-Bibles.org

www.Is-A-Jerk.com

www.HolyBibleSearch.com
www.SillyWebcam.com
www.SillyScenes.com
www.Seekerific.com
www.Nerdful.com
www.BodySwitcher.com
www.13KG.com
www.SpareSomeChange.com
www.FloppyApps.com
www.MaxSpider.com
www.ChatPhobia.com
www.SirSeek.com
www.HappyFaceGenerator.com
www.DangerSignGenerator.com
HolyBiblesSearch:
Internet Search:

www.WHAK.com

www.MAKE-A-MEME.com
www.HolyBibleVerse.com

www.SignGenerator.org

www.MedChecker.com

www.SeekFreak.com

www.Syncrisis.com

www.Presearcher.com

www.SirSeek.com

www.FotoTrix.com

www.BoobSigns.com

www.Canuckster.com

me.ddleso.me

www.9lbs.com

www.TXT2PIC.com

www.FakeMagazineCover.com

www.Trollize.com

www.FanSignGenerator.com

www.Holy-Bibles.org

www.Is-A-Jerk.com

www.HolyBibleSearch.com
www.SillyWebcam.com
www.SillyScenes.com
www.Seekerific.com
www.Nerdful.com
www.BodySwitcher.com
www.13KG.com
www.SpareSomeChange.com
www.FloppyApps.com
www.MaxSpider.com
www.ChatPhobia.com
www.SirSeek.com
www.HappyFaceGenerator.com
www.DangerSignGenerator.com
HolyBiblesSearch:
Internet Search:

www.WHAK.com

www.MAKE-A-MEME.com
www.HolyBibleVerse.com

www.SignGenerator.org

www.MedChecker.com

www.SeekFreak.com

www.Syncrisis.com

www.Presearcher.com

www.SirSeek.com

www.FotoTrix.com

www.BoobSigns.com

www.Canuckster.com

me.ddleso.me

www.9lbs.com

www.TXT2PIC.com

www.FakeMagazineCover.com

www.Trollize.com

www.FanSignGenerator.com

www.Holy-Bibles.org

www.Is-A-Jerk.com

www.HolyBibleSearch.com
www.SillyWebcam.com
www.SillyScenes.com
www.Seekerific.com
www.Nerdful.com
www.BodySwitcher.com
www.13KG.com
www.SpareSomeChange.com
www.FloppyApps.com
www.MaxSpider.com
www.ChatPhobia.com
www.SirSeek.com
www.HappyFaceGenerator.com
www.DangerSignGenerator.com
HolyBiblesSearch:
Internet Search:

www.WHAK.com

www.MAKE-A-MEME.com
www.HolyBibleVerse.com

www.SignGenerator.org

www.MedChecker.com

www.SeekFreak.com

www.Syncrisis.com

www.Presearcher.com

www.SirSeek.com

www.FotoTrix.com

www.BoobSigns.com

www.Canuckster.com

me.ddleso.me

www.9lbs.com

www.TXT2PIC.com

www.FakeMagazineCover.com

www.Trollize.com

www.FanSignGenerator.com

www.Holy-Bibles.org

www.Is-A-Jerk.com

www.HolyBibleSearch.com
www.SillyWebcam.com
www.SillyScenes.com
www.Seekerific.com
www.Nerdful.com
www.BodySwitcher.com
www.13KG.com
www.SpareSomeChange.com
www.FloppyApps.com
www.MaxSpider.com
www.ChatPhobia.com
www.SirSeek.com
www.HappyFaceGenerator.com
www.DangerSignGenerator.com
HolyBiblesSearch:
Internet Search:

www.WHAK.com

www.MAKE-A-MEME.com
www.HolyBibleVerse.com

www.SignGenerator.org

www.MedChecker.com

www.SeekFreak.com

www.Syncrisis.com

www.Presearcher.com

www.SirSeek.com

www.FotoTrix.com

www.BoobSigns.com

www.Canuckster.com

me.ddleso.me

www.9lbs.com

www.TXT2PIC.com

www.FakeMagazineCover.com

www.Trollize.com

www.FanSignGenerator.com

www.Holy-Bibles.org

www.Is-A-Jerk.com

www.HolyBibleSearch.com
www.SillyWebcam.com
www.SillyScenes.com
www.Seekerific.com
www.Nerdful.com
www.BodySwitcher.com
www.13KG.com
www.SpareSomeChange.com
www.FloppyApps.com
www.MaxSpider.com
www.ChatPhobia.com
www.SirSeek.com
www.HappyFaceGenerator.com
www.DangerSignGenerator.com
HolyBiblesSearch:
Internet Search:

www.WHAK.com

www.MAKE-A-MEME.com
www.HolyBibleVerse.com

www.SignGenerator.org

www.MedChecker.com

www.SeekFreak.com

www.Syncrisis.com

www.Presearcher.com

www.SirSeek.com

www.FotoTrix.com

www.BoobSigns.com

www.Canuckster.com

me.ddleso.me

www.9lbs.com

www.TXT2PIC.com

www.FakeMagazineCover.com

www.Trollize.com

www.FanSignGenerator.com

www.Holy-Bibles.org

www.Is-A-Jerk.com

www.HolyBibleSearch.com
www.SillyWebcam.com
www.SillyScenes.com
www.Seekerific.com
www.Nerdful.com
www.BodySwitcher.com
www.13KG.com
www.SpareSomeChange.com
www.FloppyApps.com
www.MaxSpider.com
www.ChatPhobia.com
www.SirSeek.com
www.HappyFaceGenerator.com
www.DangerSignGenerator.com
HolyBiblesSearch:
Internet Search:

www.WHAK.com

www.MAKE-A-MEME.com
www.HolyBibleVerse.com

www.SignGenerator.org

www.MedChecker.com

www.SeekFreak.com

www.Syncrisis.com

www.Presearcher.com

www.SirSeek.com

www.FotoTrix.com

www.BoobSigns.com

www.Canuckster.com

me.ddleso.me

www.9lbs.com

www.TXT2PIC.com

www.FakeMagazineCover.com

www.Trollize.com

www.FanSignGenerator.com

www.Holy-Bibles.org

www.Is-A-Jerk.com

www.HolyBibleSearch.com
www.SillyWebcam.com
www.SillyScenes.com
www.Seekerific.com
www.Nerdful.com
www.BodySwitcher.com
www.13KG.com
www.SpareSomeChange.com
www.FloppyApps.com
www.MaxSpider.com
www.ChatPhobia.com
www.SirSeek.com
www.HappyFaceGenerator.com
www.DangerSignGenerator.com
HolyBiblesSearch:
Internet Search:

www.WHAK.com

www.MAKE-A-MEME.com
www.HolyBibleVerse.com

www.SignGenerator.org

www.MedChecker.com

www.SeekFreak.com

www.Syncrisis.com

www.Presearcher.com

www.SirSeek.com

www.FotoTrix.com

www.BoobSigns.com

www.Canuckster.com

me.ddleso.me

www.9lbs.com

www.TXT2PIC.com

www.FakeMagazineCover.com

www.Trollize.com

www.FanSignGenerator.com

www.Holy-Bibles.org

www.Is-A-Jerk.com

www.HolyBibleSearch.com
www.SillyWebcam.com
www.SillyScenes.com
www.Seekerific.com
www.Nerdful.com
www.BodySwitcher.com
www.13KG.com
www.SpareSomeChange.com
www.FloppyApps.com
www.MaxSpider.com
www.ChatPhobia.com
www.SirSeek.com
www.HappyFaceGenerator.com
www.DangerSignGenerator.com
HolyBiblesSearch:
Internet Search:

www.WHAK.com

www.MAKE-A-MEME.com
www.HolyBibleVerse.com

www.SignGenerator.org

www.MedChecker.com

www.SeekFreak.com

www.Syncrisis.com

www.Presearcher.com

www.SirSeek.com

www.FotoTrix.com

www.BoobSigns.com

www.Canuckster.com

me.ddleso.me

www.9lbs.com

www.TXT2PIC.com

www.FakeMagazineCover.com

www.Trollize.com

www.FanSignGenerator.com

www.Holy-Bibles.org

www.Is-A-Jerk.com

www.HolyBibleSearch.com
www.SillyWebcam.com
www.SillyScenes.com
www.Seekerific.com
www.Nerdful.com
www.BodySwitcher.com
www.13KG.com
www.SpareSomeChange.com
www.FloppyApps.com
www.MaxSpider.com
www.ChatPhobia.com
www.SirSeek.com
www.HappyFaceGenerator.com
www.DangerSignGenerator.com
HolyBiblesSearch:
Internet Search:

www.WHAK.com

www.MAKE-A-MEME.com
www.HolyBibleVerse.com

www.SignGenerator.org

www.MedChecker.com

www.SeekFreak.com

www.Syncrisis.com

www.Presearcher.com

www.SirSeek.com

www.FotoTrix.com

www.BoobSigns.com

www.Canuckster.com

me.ddleso.me

www.9lbs.com

www.TXT2PIC.com

www.FakeMagazineCover.com

www.Trollize.com

www.FanSignGenerator.com

www.Holy-Bibles.org

www.Is-A-Jerk.com

www.HolyBibleSearch.com
www.SillyWebcam.com
www.SillyScenes.com
www.Seekerific.com
www.Nerdful.com
www.BodySwitcher.com
www.13KG.com
www.SpareSomeChange.com
www.FloppyApps.com
www.MaxSpider.com
www.ChatPhobia.com
www.SirSeek.com
www.HappyFaceGenerator.com
www.DangerSignGenerator.com
HolyBiblesSearch:
Internet Search:

www.WHAK.com

www.MAKE-A-MEME.com
www.HolyBibleVerse.com

www.SignGenerator.org

www.MedChecker.com

www.SeekFreak.com

www.Syncrisis.com

www.Presearcher.com

www.SirSeek.com

www.FotoTrix.com

www.BoobSigns.com

www.Canuckster.com

me.ddleso.me

www.9lbs.com

www.TXT2PIC.com

www.FakeMagazineCover.com

www.Trollize.com

www.FanSignGenerator.com

www.Holy-Bibles.org

www.Is-A-Jerk.com

www.HolyBibleSearch.com
www.SillyWebcam.com
www.SillyScenes.com
www.Seekerific.com
www.Nerdful.com
www.BodySwitcher.com
www.13KG.com
www.SpareSomeChange.com
www.FloppyApps.com
www.MaxSpider.com
www.ChatPhobia.com
www.SirSeek.com
www.HappyFaceGenerator.com
www.DangerSignGenerator.com
HolyBiblesSearch:
Internet Search:

www.WHAK.com

www.MAKE-A-MEME.com
www.HolyBibleVerse.com

www.SignGenerator.org

www.MedChecker.com

www.SeekFreak.com

www.Syncrisis.com

www.Presearcher.com

www.SirSeek.com

www.FotoTrix.com

www.BoobSigns.com

www.Canuckster.com

me.ddleso.me

www.9lbs.com

www.TXT2PIC.com

www.FakeMagazineCover.com

www.Trollize.com

www.FanSignGenerator.com

www.Holy-Bibles.org

www.Is-A-Jerk.com

www.HolyBibleSearch.com
www.SillyWebcam.com
www.SillyScenes.com
www.Seekerific.com
www.Nerdful.com
www.BodySwitcher.com
www.13KG.com
www.SpareSomeChange.com
www.FloppyApps.com
www.MaxSpider.com
www.ChatPhobia.com
www.SirSeek.com
www.HappyFaceGenerator.com
www.DangerSignGenerator.com
HolyBiblesSearch:
Internet Search:

www.WHAK.com

www.MAKE-A-MEME.com
www.HolyBibleVerse.com

www.SignGenerator.org

www.MedChecker.com

www.SeekFreak.com

www.Syncrisis.com

www.Presearcher.com

www.SirSeek.com

www.FotoTrix.com

www.BoobSigns.com

www.Canuckster.com

me.ddleso.me

www.9lbs.com

www.TXT2PIC.com

www.FakeMagazineCover.com

www.Trollize.com

www.FanSignGenerator.com

www.Holy-Bibles.org

www.Is-A-Jerk.com

www.HolyBibleSearch.com
www.SillyWebcam.com
www.SillyScenes.com
www.Seekerific.com
www.Nerdful.com
www.BodySwitcher.com
www.13KG.com
www.SpareSomeChange.com
www.FloppyApps.com
www.MaxSpider.com
www.ChatPhobia.com
www.SirSeek.com
www.HappyFaceGenerator.com
www.DangerSignGenerator.com
HolyBiblesSearch:
Internet Search:

www.WHAK.com

www.MAKE-A-MEME.com
www.HolyBibleVerse.com

www.SignGenerator.org

www.MedChecker.com

www.SeekFreak.com

www.Syncrisis.com

www.Presearcher.com

www.SirSeek.com

www.FotoTrix.com

www.BoobSigns.com

www.Canuckster.com

me.ddleso.me

www.9lbs.com

www.TXT2PIC.com

www.FakeMagazineCover.com

www.Trollize.com

www.FanSignGenerator.com

www.Holy-Bibles.org

www.Is-A-Jerk.com

www.HolyBibleSearch.com
www.SillyWebcam.com
www.SillyScenes.com
www.Seekerific.com
www.Nerdful.com
www.BodySwitcher.com
www.13KG.com
www.SpareSomeChange.com
www.FloppyApps.com
www.MaxSpider.com
www.ChatPhobia.com
www.SirSeek.com
www.HappyFaceGenerator.com
www.DangerSignGenerator.com
HolyBiblesSearch:
Internet Search:

www.WHAK.com

www.MAKE-A-MEME.com
www.HolyBibleVerse.com

www.SignGenerator.org

www.MedChecker.com

www.SeekFreak.com

www.Syncrisis.com

www.Presearcher.com

www.SirSeek.com

www.FotoTrix.com

www.BoobSigns.com

www.Canuckster.com

me.ddleso.me

www.9lbs.com

www.TXT2PIC.com

www.FakeMagazineCover.com

www.Trollize.com

www.FanSignGenerator.com

www.Holy-Bibles.org

www.Is-A-Jerk.com

www.HolyBibleSearch.com
www.SillyWebcam.com
www.SillyScenes.com
www.Seekerific.com
www.Nerdful.com
www.BodySwitcher.com
www.13KG.com
www.SpareSomeChange.com
www.FloppyApps.com
www.MaxSpider.com
www.ChatPhobia.com
www.SirSeek.com
www.HappyFaceGenerator.com
www.DangerSignGenerator.com
HolyBiblesSearch:
Internet Search:

www.WHAK.com

www.MAKE-A-MEME.com
www.HolyBibleVerse.com

www.SignGenerator.org

www.MedChecker.com

www.SeekFreak.com

www.Syncrisis.com

www.Presearcher.com

www.SirSeek.com

www.FotoTrix.com

www.BoobSigns.com

www.Canuckster.com

me.ddleso.me

www.9lbs.com

www.TXT2PIC.com

www.FakeMagazineCover.com

www.Trollize.com

www.FanSignGenerator.com

www.Holy-Bibles.org

www.Is-A-Jerk.com

www.HolyBibleSearch.com
www.SillyWebcam.com
www.SillyScenes.com
www.Seekerific.com
www.Nerdful.com
www.BodySwitcher.com
www.13KG.com
www.SpareSomeChange.com
www.FloppyApps.com
www.MaxSpider.com
www.ChatPhobia.com
www.SirSeek.com
www.HappyFaceGenerator.com
www.DangerSignGenerator.com
HolyBiblesSearch:
Internet Search:

www.WHAK.com

www.MAKE-A-MEME.com
www.HolyBibleVerse.com

www.SignGenerator.org

www.MedChecker.com

www.SeekFreak.com

www.Syncrisis.com

www.Presearcher.com

www.SirSeek.com

www.FotoTrix.com

www.BoobSigns.com

www.Canuckster.com

me.ddleso.me

www.9lbs.com

www.TXT2PIC.com

www.FakeMagazineCover.com

www.Trollize.com

www.FanSignGenerator.com

www.Holy-Bibles.org

www.Is-A-Jerk.com

www.HolyBibleSearch.com
www.SillyWebcam.com
www.SillyScenes.com
www.Seekerific.com
www.Nerdful.com
www.BodySwitcher.com
www.13KG.com
www.SpareSomeChange.com
www.FloppyApps.com
www.MaxSpider.com
www.ChatPhobia.com
www.SirSeek.com
www.HappyFaceGenerator.com
www.DangerSignGenerator.com
HolyBiblesSearch:
Internet Search:

www.WHAK.com

www.MAKE-A-MEME.com
www.HolyBibleVerse.com

www.SignGenerator.org

www.MedChecker.com

www.SeekFreak.com

www.Syncrisis.com

www.Presearcher.com

www.SirSeek.com

www.FotoTrix.com

www.BoobSigns.com

www.Canuckster.com

me.ddleso.me

www.9lbs.com

www.TXT2PIC.com

www.FakeMagazineCover.com

www.Trollize.com

www.FanSignGenerator.com

www.Holy-Bibles.org

www.Is-A-Jerk.com

www.HolyBibleSearch.com
www.SillyWebcam.com
www.SillyScenes.com
www.Seekerific.com
www.Nerdful.com
www.BodySwitcher.com
www.13KG.com
www.SpareSomeChange.com
www.FloppyApps.com
www.MaxSpider.com
www.ChatPhobia.com
www.SirSeek.com
www.HappyFaceGenerator.com
www.DangerSignGenerator.com
HolyBiblesSearch:
Internet Search:

www.WHAK.com

www.MAKE-A-MEME.com
www.HolyBibleVerse.com

www.SignGenerator.org

www.MedChecker.com

www.SeekFreak.com

www.Syncrisis.com

www.Presearcher.com

www.SirSeek.com

www.FotoTrix.com

www.BoobSigns.com

www.Canuckster.com

me.ddleso.me

www.9lbs.com

www.TXT2PIC.com

www.FakeMagazineCover.com

www.Trollize.com

www.FanSignGenerator.com

www.Holy-Bibles.org

www.Is-A-Jerk.com

www.HolyBibleSearch.com
www.SillyWebcam.com
www.SillyScenes.com
www.Seekerific.com
www.Nerdful.com
www.BodySwitcher.com
www.13KG.com
www.SpareSomeChange.com
www.FloppyApps.com
www.MaxSpider.com
www.ChatPhobia.com
www.SirSeek.com
www.HappyFaceGenerator.com
www.DangerSignGenerator.com
HolyBiblesSearch:
Internet Search:

www.WHAK.com

www.MAKE-A-MEME.com
www.HolyBibleVerse.com

www.SignGenerator.org

www.MedChecker.com

www.SeekFreak.com

www.Syncrisis.com

www.Presearcher.com

www.SirSeek.com

www.FotoTrix.com

www.BoobSigns.com

www.Canuckster.com

me.ddleso.me

www.9lbs.com

www.TXT2PIC.com

www.FakeMagazineCover.com

www.Trollize.com

www.FanSignGenerator.com

www.Holy-Bibles.org

www.Is-A-Jerk.com

www.HolyBibleSearch.com
www.SillyWebcam.com
www.SillyScenes.com
www.Seekerific.com
www.Nerdful.com
www.BodySwitcher.com
www.13KG.com
www.SpareSomeChange.com
www.FloppyApps.com
www.MaxSpider.com
www.ChatPhobia.com
www.SirSeek.com
www.HappyFaceGenerator.com
www.DangerSignGenerator.com
HolyBiblesSearch:
Internet Search:

www.WHAK.com

www.MAKE-A-MEME.com
www.HolyBibleVerse.com

www.SignGenerator.org

www.MedChecker.com

www.SeekFreak.com

www.Syncrisis.com

www.Presearcher.com

www.SirSeek.com

www.FotoTrix.com

www.BoobSigns.com

www.Canuckster.com

me.ddleso.me

www.9lbs.com

www.TXT2PIC.com

www.FakeMagazineCover.com

www.Trollize.com

www.FanSignGenerator.com

www.Holy-Bibles.org

www.Is-A-Jerk.com

www.HolyBibleSearch.com
www.SillyWebcam.com
www.SillyScenes.com
www.Seekerific.com
www.Nerdful.com
www.BodySwitcher.com
www.13KG.com
www.SpareSomeChange.com
www.FloppyApps.com
www.MaxSpider.com
www.ChatPhobia.com
www.SirSeek.com
www.HappyFaceGenerator.com
www.DangerSignGenerator.com
HolyBiblesSearch:
Internet Search:

www.WHAK.com

www.MAKE-A-MEME.com
www.HolyBibleVerse.com

www.SignGenerator.org

www.MedChecker.com

www.SeekFreak.com

www.Syncrisis.com

www.Presearcher.com

www.SirSeek.com

www.FotoTrix.com

www.BoobSigns.com

www.Canuckster.com

me.ddleso.me

www.9lbs.com

www.TXT2PIC.com

www.FakeMagazineCover.com

www.Trollize.com

www.FanSignGenerator.com

www.Holy-Bibles.org

www.Is-A-Jerk.com

www.HolyBibleSearch.com
www.SillyWebcam.com
www.SillyScenes.com
www.Seekerific.com
www.Nerdful.com
www.BodySwitcher.com
www.13KG.com
www.SpareSomeChange.com
www.FloppyApps.com
www.MaxSpider.com
www.ChatPhobia.com
www.SirSeek.com
www.HappyFaceGenerator.com
www.DangerSignGenerator.com
HolyBiblesSearch:
Internet Search:

www.WHAK.com

www.MAKE-A-MEME.com
www.HolyBibleVerse.com

www.SignGenerator.org

www.MedChecker.com

www.SeekFreak.com

www.Syncrisis.com

www.Presearcher.com

www.SirSeek.com

www.FotoTrix.com

www.BoobSigns.com

www.Canuckster.com

me.ddleso.me

www.9lbs.com

www.TXT2PIC.com

www.FakeMagazineCover.com

www.Trollize.com

www.FanSignGenerator.com

www.Holy-Bibles.org

www.Is-A-Jerk.com

www.HolyBibleSearch.com
www.SillyWebcam.com
www.SillyScenes.com
www.Seekerific.com
www.Nerdful.com
www.BodySwitcher.com
www.13KG.com
www.SpareSomeChange.com
www.FloppyApps.com
www.MaxSpider.com
www.ChatPhobia.com
www.SirSeek.com
www.HappyFaceGenerator.com
www.DangerSignGenerator.com
HolyBiblesSearch:
Internet Search:

www.WHAK.com

www.MAKE-A-MEME.com
www.HolyBibleVerse.com

www.SignGenerator.org

www.MedChecker.com

www.SeekFreak.com

www.Syncrisis.com

www.Presearcher.com

www.SirSeek.com

www.FotoTrix.com

www.BoobSigns.com

www.Canuckster.com

me.ddleso.me

www.9lbs.com

www.TXT2PIC.com

www.FakeMagazineCover.com

www.Trollize.com

www.FanSignGenerator.com

www.Holy-Bibles.org

www.Is-A-Jerk.com

www.HolyBibleSearch.com
www.SillyWebcam.com
www.SillyScenes.com
www.Seekerific.com
www.Nerdful.com
www.BodySwitcher.com
www.13KG.com
www.SpareSomeChange.com
www.FloppyApps.com
www.MaxSpider.com
www.ChatPhobia.com
www.SirSeek.com
www.HappyFaceGenerator.com
www.DangerSignGenerator.com
HolyBiblesSearch:
Internet Search:

www.WHAK.com

www.MAKE-A-MEME.com
www.HolyBibleVerse.com

www.SignGenerator.org

www.MedChecker.com

www.SeekFreak.com

www.Syncrisis.com

www.Presearcher.com

www.SirSeek.com

www.FotoTrix.com

www.BoobSigns.com

www.Canuckster.com

me.ddleso.me

www.9lbs.com

www.TXT2PIC.com

www.FakeMagazineCover.com

www.Trollize.com

www.FanSignGenerator.com

www.Holy-Bibles.org

www.Is-A-Jerk.com

www.HolyBibleSearch.com
www.SillyWebcam.com
www.SillyScenes.com
www.Seekerific.com
www.Nerdful.com
www.BodySwitcher.com
www.13KG.com
www.SpareSomeChange.com
www.FloppyApps.com
www.MaxSpider.com
www.ChatPhobia.com
www.SirSeek.com
www.HappyFaceGenerator.com
www.DangerSignGenerator.com
HolyBiblesSearch:
Internet Search:

www.WHAK.com

www.MAKE-A-MEME.com
www.HolyBibleVerse.com

www.SignGenerator.org

www.MedChecker.com

www.SeekFreak.com

www.Syncrisis.com

www.Presearcher.com

www.SirSeek.com

www.FotoTrix.com

www.BoobSigns.com

www.Canuckster.com

me.ddleso.me

www.9lbs.com

www.TXT2PIC.com

www.FakeMagazineCover.com

www.Trollize.com

www.FanSignGenerator.com

www.Holy-Bibles.org

www.Is-A-Jerk.com

www.HolyBibleSearch.com
www.SillyWebcam.com
www.SillyScenes.com
www.Seekerific.com
www.Nerdful.com
www.BodySwitcher.com
www.13KG.com
www.SpareSomeChange.com
www.FloppyApps.com
www.MaxSpider.com
www.ChatPhobia.com
www.SirSeek.com
www.HappyFaceGenerator.com
www.DangerSignGenerator.com
HolyBiblesSearch:
Internet Search:

www.WHAK.com

www.MAKE-A-MEME.com
www.HolyBibleVerse.com

www.SignGenerator.org

www.MedChecker.com

www.SeekFreak.com

www.Syncrisis.com

www.Presearcher.com

www.SirSeek.com

www.FotoTrix.com

www.BoobSigns.com

www.Canuckster.com

me.ddleso.me

www.9lbs.com

www.TXT2PIC.com

www.FakeMagazineCover.com

www.Trollize.com

www.FanSignGenerator.com

www.Holy-Bibles.org

www.Is-A-Jerk.com

www.HolyBibleSearch.com
www.SillyWebcam.com
www.SillyScenes.com
www.Seekerific.com
www.Nerdful.com
www.BodySwitcher.com
www.13KG.com
www.SpareSomeChange.com
www.FloppyApps.com
www.MaxSpider.com
www.ChatPhobia.com
www.SirSeek.com
www.HappyFaceGenerator.com
www.DangerSignGenerator.com
HolyBiblesSearch:
Internet Search:

www.WHAK.com

www.MAKE-A-MEME.com
www.HolyBibleVerse.com

www.SignGenerator.org

www.MedChecker.com

www.SeekFreak.com

www.Syncrisis.com

www.Presearcher.com

www.SirSeek.com

www.FotoTrix.com

www.BoobSigns.com

www.Canuckster.com

me.ddleso.me

www.9lbs.com

www.TXT2PIC.com

www.FakeMagazineCover.com

www.Trollize.com

www.FanSignGenerator.com

www.Holy-Bibles.org

www.Is-A-Jerk.com

www.HolyBibleSearch.com
www.SillyWebcam.com
www.SillyScenes.com
www.Seekerific.com
www.Nerdful.com
www.BodySwitcher.com
www.13KG.com
www.SpareSomeChange.com
www.FloppyApps.com
www.MaxSpider.com
www.ChatPhobia.com
www.SirSeek.com
www.HappyFaceGenerator.com
www.DangerSignGenerator.com
HolyBiblesSearch:
Internet Search:

www.WHAK.com

www.MAKE-A-MEME.com
www.HolyBibleVerse.com

www.SignGenerator.org

www.MedChecker.com

www.SeekFreak.com

www.Syncrisis.com

www.Presearcher.com

www.SirSeek.com

www.FotoTrix.com

www.BoobSigns.com

www.Canuckster.com

me.ddleso.me

www.9lbs.com

www.TXT2PIC.com

www.FakeMagazineCover.com

www.Trollize.com

www.FanSignGenerator.com

www.Holy-Bibles.org

www.Is-A-Jerk.com

www.HolyBibleSearch.com
www.SillyWebcam.com
www.SillyScenes.com
www.Seekerific.com
www.Nerdful.com
www.BodySwitcher.com
www.13KG.com
www.SpareSomeChange.com
www.FloppyApps.com
www.MaxSpider.com
www.ChatPhobia.com
www.SirSeek.com
www.HappyFaceGenerator.com
www.DangerSignGenerator.com
HolyBiblesSearch:
Internet Search:

www.WHAK.com

www.MAKE-A-MEME.com
www.HolyBibleVerse.com

www.SignGenerator.org

www.MedChecker.com

www.SeekFreak.com

www.Syncrisis.com

www.Presearcher.com

www.SirSeek.com

www.FotoTrix.com

www.BoobSigns.com

www.Canuckster.com

me.ddleso.me

www.9lbs.com

www.TXT2PIC.com

www.FakeMagazineCover.com

www.Trollize.com

www.FanSignGenerator.com

www.Holy-Bibles.org

www.Is-A-Jerk.com

www.HolyBibleSearch.com
www.SillyWebcam.com
www.SillyScenes.com
www.Seekerific.com
www.Nerdful.com
www.BodySwitcher.com
www.13KG.com
www.SpareSomeChange.com
www.FloppyApps.com
www.MaxSpider.com
www.ChatPhobia.com
www.SirSeek.com
www.HappyFaceGenerator.com
www.DangerSignGenerator.com
HolyBiblesSearch:
Internet Search:

www.WHAK.com

www.MAKE-A-MEME.com
www.HolyBibleVerse.com

www.SignGenerator.org

www.MedChecker.com

www.SeekFreak.com

www.Syncrisis.com

www.Presearcher.com

www.SirSeek.com

www.FotoTrix.com

www.BoobSigns.com

www.Canuckster.com

me.ddleso.me

www.9lbs.com

www.TXT2PIC.com

www.FakeMagazineCover.com

www.Trollize.com

www.FanSignGenerator.com

www.Holy-Bibles.org

www.Is-A-Jerk.com

www.HolyBibleSearch.com
www.SillyWebcam.com
www.SillyScenes.com
www.Seekerific.com
www.Nerdful.com
www.BodySwitcher.com
www.13KG.com
www.SpareSomeChange.com
www.FloppyApps.com
www.MaxSpider.com
www.ChatPhobia.com
www.SirSeek.com
www.HappyFaceGenerator.com
www.DangerSignGenerator.com
HolyBiblesSearch:
Internet Search:

www.WHAK.com

www.MAKE-A-MEME.com
www.HolyBibleVerse.com

www.SignGenerator.org

www.MedChecker.com

www.SeekFreak.com

www.Syncrisis.com

www.Presearcher.com

www.SirSeek.com

www.FotoTrix.com

www.BoobSigns.com

www.Canuckster.com

me.ddleso.me

www.9lbs.com

www.TXT2PIC.com

www.FakeMagazineCover.com

www.Trollize.com

www.FanSignGenerator.com

www.Holy-Bibles.org

www.Is-A-Jerk.com

www.HolyBibleSearch.com
www.SillyWebcam.com
www.SillyScenes.com
www.Seekerific.com
www.Nerdful.com
www.BodySwitcher.com
www.13KG.com
www.SpareSomeChange.com
www.FloppyApps.com
www.MaxSpider.com
www.ChatPhobia.com
www.SirSeek.com
www.HappyFaceGenerator.com
www.DangerSignGenerator.com
HolyBiblesSearch:
Internet Search:

www.WHAK.com

www.MAKE-A-MEME.com
www.HolyBibleVerse.com

www.SignGenerator.org

www.MedChecker.com

www.SeekFreak.com

www.Syncrisis.com

www.Presearcher.com

www.SirSeek.com

www.FotoTrix.com

www.BoobSigns.com

www.Canuckster.com

me.ddleso.me

www.9lbs.com

www.TXT2PIC.com

www.FakeMagazineCover.com

www.Trollize.com

www.FanSignGenerator.com

www.Holy-Bibles.org

www.Is-A-Jerk.com

www.HolyBibleSearch.com
www.SillyWebcam.com
www.SillyScenes.com
www.Seekerific.com
www.Nerdful.com
www.BodySwitcher.com
www.13KG.com
www.SpareSomeChange.com
www.FloppyApps.com
www.MaxSpider.com
www.ChatPhobia.com
www.SirSeek.com
www.HappyFaceGenerator.com
www.DangerSignGenerator.com
HolyBiblesSearch:
Internet Search:

www.WHAK.com

www.MAKE-A-MEME.com
www.HolyBibleVerse.com

www.SignGenerator.org

www.MedChecker.com

www.SeekFreak.com

www.Syncrisis.com

www.Presearcher.com

www.SirSeek.com

www.FotoTrix.com

www.BoobSigns.com

www.Canuckster.com

me.ddleso.me

www.9lbs.com

www.TXT2PIC.com

www.FakeMagazineCover.com

www.Trollize.com

www.FanSignGenerator.com

www.Holy-Bibles.org

www.Is-A-Jerk.com

www.HolyBibleSearch.com
www.SillyWebcam.com
www.SillyScenes.com
www.Seekerific.com
www.Nerdful.com
www.BodySwitcher.com
www.13KG.com
www.SpareSomeChange.com
www.FloppyApps.com
www.MaxSpider.com
www.ChatPhobia.com
www.SirSeek.com
www.HappyFaceGenerator.com
www.DangerSignGenerator.com
HolyBiblesSearch:
Internet Search:

www.WHAK.com

www.MAKE-A-MEME.com
www.HolyBibleVerse.com

www.SignGenerator.org

www.MedChecker.com

www.SeekFreak.com

www.Syncrisis.com

www.Presearcher.com

www.SirSeek.com

www.FotoTrix.com

www.BoobSigns.com

www.Canuckster.com

me.ddleso.me

www.9lbs.com

www.TXT2PIC.com

www.FakeMagazineCover.com

www.Trollize.com

www.FanSignGenerator.com

www.Holy-Bibles.org

www.Is-A-Jerk.com

www.HolyBibleSearch.com
www.SillyWebcam.com
www.SillyScenes.com
www.Seekerific.com
www.Nerdful.com
www.BodySwitcher.com
www.13KG.com
www.SpareSomeChange.com
www.FloppyApps.com
www.MaxSpider.com
www.ChatPhobia.com
www.SirSeek.com
www.HappyFaceGenerator.com
www.DangerSignGenerator.com
HolyBiblesSearch:
Internet Search:

www.WHAK.com

www.MAKE-A-MEME.com
www.HolyBibleVerse.com

www.SignGenerator.org

www.MedChecker.com

www.SeekFreak.com

www.Syncrisis.com

www.Presearcher.com

www.SirSeek.com

www.FotoTrix.com

www.BoobSigns.com

www.Canuckster.com

me.ddleso.me

www.9lbs.com

www.TXT2PIC.com

www.FakeMagazineCover.com

www.Trollize.com

www.FanSignGenerator.com

www.Holy-Bibles.org

www.Is-A-Jerk.com

www.HolyBibleSearch.com
www.SillyWebcam.com
www.SillyScenes.com
www.Seekerific.com
www.Nerdful.com
www.BodySwitcher.com
www.13KG.com
www.SpareSomeChange.com
www.FloppyApps.com
www.MaxSpider.com
www.ChatPhobia.com
www.SirSeek.com
www.HappyFaceGenerator.com
www.DangerSignGenerator.com
HolyBiblesSearch:
Internet Search:

www.WHAK.com

www.MAKE-A-MEME.com
www.HolyBibleVerse.com

www.SignGenerator.org

www.MedChecker.com

www.SeekFreak.com

www.Syncrisis.com

www.Presearcher.com

www.SirSeek.com

www.FotoTrix.com

www.BoobSigns.com

www.Canuckster.com

me.ddleso.me

www.9lbs.com

www.TXT2PIC.com

www.FakeMagazineCover.com

www.Trollize.com

www.FanSignGenerator.com

www.Holy-Bibles.org

www.Is-A-Jerk.com

www.HolyBibleSearch.com
www.SillyWebcam.com
www.SillyScenes.com
www.Seekerific.com
www.Nerdful.com
www.BodySwitcher.com
www.13KG.com
www.SpareSomeChange.com
www.FloppyApps.com
www.MaxSpider.com
www.ChatPhobia.com
www.SirSeek.com
www.HappyFaceGenerator.com
www.DangerSignGenerator.com
HolyBiblesSearch:
Internet Search:

www.WHAK.com

www.MAKE-A-MEME.com
www.HolyBibleVerse.com

www.SignGenerator.org

www.MedChecker.com

www.SeekFreak.com

www.Syncrisis.com

www.Presearcher.com

www.SirSeek.com

www.FotoTrix.com

www.BoobSigns.com

www.Canuckster.com

me.ddleso.me

www.9lbs.com

www.TXT2PIC.com

www.FakeMagazineCover.com

www.Trollize.com

www.FanSignGenerator.com

www.Holy-Bibles.org

www.Is-A-Jerk.com

www.HolyBibleSearch.com
www.SillyWebcam.com
www.SillyScenes.com
www.Seekerific.com
www.Nerdful.com
www.BodySwitcher.com
www.13KG.com
www.SpareSomeChange.com
www.FloppyApps.com
www.MaxSpider.com
www.ChatPhobia.com
www.SirSeek.com
www.HappyFaceGenerator.com
www.DangerSignGenerator.com
HolyBiblesSearch:
Internet Search:

www.WHAK.com

www.MAKE-A-MEME.com
www.HolyBibleVerse.com

www.SignGenerator.org

www.MedChecker.com

www.SeekFreak.com

www.Syncrisis.com

www.Presearcher.com

www.SirSeek.com

www.FotoTrix.com

www.BoobSigns.com

www.Canuckster.com

me.ddleso.me

www.9lbs.com

www.TXT2PIC.com

www.FakeMagazineCover.com

www.Trollize.com

www.FanSignGenerator.com

www.Holy-Bibles.org

www.Is-A-Jerk.com

www.HolyBibleSearch.com
www.SillyWebcam.com
www.SillyScenes.com
www.Seekerific.com
www.Nerdful.com
www.BodySwitcher.com
www.13KG.com
www.SpareSomeChange.com
www.FloppyApps.com
www.MaxSpider.com
www.ChatPhobia.com
www.SirSeek.com
www.HappyFaceGenerator.com
www.DangerSignGenerator.com
HolyBiblesSearch:
Internet Search:

www.WHAK.com

www.MAKE-A-MEME.com
www.HolyBibleVerse.com

www.SignGenerator.org

www.MedChecker.com

www.SeekFreak.com

www.Syncrisis.com

www.Presearcher.com

www.SirSeek.com

www.FotoTrix.com

www.BoobSigns.com

www.Canuckster.com

me.ddleso.me

www.9lbs.com

www.TXT2PIC.com

www.FakeMagazineCover.com

www.Trollize.com

www.FanSignGenerator.com

www.Holy-Bibles.org

www.Is-A-Jerk.com

www.HolyBibleSearch.com
www.SillyWebcam.com
www.SillyScenes.com
www.Seekerific.com
www.Nerdful.com
www.BodySwitcher.com
www.13KG.com
www.SpareSomeChange.com
www.FloppyApps.com
www.MaxSpider.com
www.ChatPhobia.com
www.SirSeek.com
www.HappyFaceGenerator.com
www.DangerSignGenerator.com
HolyBiblesSearch:
Internet Search:

www.WHAK.com

www.MAKE-A-MEME.com
www.HolyBibleVerse.com

www.SignGenerator.org

www.MedChecker.com

www.SeekFreak.com

www.Syncrisis.com

www.Presearcher.com

www.SirSeek.com

www.FotoTrix.com

www.BoobSigns.com

www.Canuckster.com

me.ddleso.me

www.9lbs.com

www.TXT2PIC.com

www.FakeMagazineCover.com

www.Trollize.com

www.FanSignGenerator.com

www.Holy-Bibles.org

www.Is-A-Jerk.com

www.HolyBibleSearch.com
www.SillyWebcam.com
www.SillyScenes.com
www.Seekerific.com
www.Nerdful.com
www.BodySwitcher.com
www.13KG.com
www.SpareSomeChange.com
www.FloppyApps.com
www.MaxSpider.com
www.ChatPhobia.com
www.SirSeek.com
www.HappyFaceGenerator.com
www.DangerSignGenerator.com
HolyBiblesSearch:
Internet Search:

www.WHAK.com

www.MAKE-A-MEME.com
www.HolyBibleVerse.com

www.SignGenerator.org

www.MedChecker.com

www.SeekFreak.com

www.Syncrisis.com

www.Presearcher.com

www.SirSeek.com

www.FotoTrix.com

www.BoobSigns.com

www.Canuckster.com

me.ddleso.me

www.9lbs.com

www.TXT2PIC.com

www.FakeMagazineCover.com

www.Trollize.com

www.FanSignGenerator.com

www.Holy-Bibles.org

www.Is-A-Jerk.com

www.HolyBibleSearch.com
www.SillyWebcam.com
www.SillyScenes.com
www.Seekerific.com
www.Nerdful.com
www.BodySwitcher.com
www.13KG.com
www.SpareSomeChange.com
www.FloppyApps.com
www.MaxSpider.com
www.ChatPhobia.com
www.SirSeek.com
www.HappyFaceGenerator.com
www.DangerSignGenerator.com
HolyBiblesSearch:
Internet Search:

www.WHAK.com

www.MAKE-A-MEME.com
www.HolyBibleVerse.com

www.SignGenerator.org

www.MedChecker.com

www.SeekFreak.com

www.Syncrisis.com

www.Presearcher.com

www.SirSeek.com

www.FotoTrix.com

www.BoobSigns.com

www.Canuckster.com

me.ddleso.me

www.9lbs.com

www.TXT2PIC.com

www.FakeMagazineCover.com

www.Trollize.com

www.FanSignGenerator.com

www.Holy-Bibles.org

www.Is-A-Jerk.com

www.HolyBibleSearch.com
www.SillyWebcam.com
www.SillyScenes.com
www.Seekerific.com
www.Nerdful.com
www.BodySwitcher.com
www.13KG.com
www.SpareSomeChange.com
www.FloppyApps.com
www.MaxSpider.com
www.ChatPhobia.com
www.SirSeek.com
www.HappyFaceGenerator.com
www.DangerSignGenerator.com
HolyBiblesSearch:
Internet Search:

www.WHAK.com

www.MAKE-A-MEME.com
www.HolyBibleVerse.com

www.SignGenerator.org

www.MedChecker.com

www.SeekFreak.com

www.Syncrisis.com

www.Presearcher.com

www.SirSeek.com

www.FotoTrix.com

www.BoobSigns.com

www.Canuckster.com

me.ddleso.me

www.9lbs.com

www.TXT2PIC.com

www.FakeMagazineCover.com

www.Trollize.com

www.FanSignGenerator.com

www.Holy-Bibles.org

www.Is-A-Jerk.com

www.HolyBibleSearch.com
www.SillyWebcam.com
www.SillyScenes.com
www.Seekerific.com
www.Nerdful.com
www.BodySwitcher.com
www.13KG.com
www.SpareSomeChange.com
www.FloppyApps.com
www.MaxSpider.com
www.ChatPhobia.com
www.SirSeek.com
www.HappyFaceGenerator.com
www.DangerSignGenerator.com
HolyBiblesSearch:
Internet Search:

www.WHAK.com

www.MAKE-A-MEME.com
www.HolyBibleVerse.com

www.SignGenerator.org

www.MedChecker.com

www.SeekFreak.com

www.Syncrisis.com

www.Presearcher.com

www.SirSeek.com

www.FotoTrix.com

www.BoobSigns.com

www.Canuckster.com

me.ddleso.me

www.9lbs.com

www.TXT2PIC.com

www.FakeMagazineCover.com

www.Trollize.com

www.FanSignGenerator.com

www.Holy-Bibles.org

www.Is-A-Jerk.com

www.HolyBibleSearch.com
www.SillyWebcam.com
www.SillyScenes.com
www.Seekerific.com
www.Nerdful.com
www.BodySwitcher.com
www.13KG.com
www.SpareSomeChange.com
www.FloppyApps.com
www.MaxSpider.com
www.ChatPhobia.com
www.SirSeek.com
www.HappyFaceGenerator.com
www.DangerSignGenerator.com
HolyBiblesSearch:
Internet Search:

www.WHAK.com

www.MAKE-A-MEME.com
www.HolyBibleVerse.com

www.SignGenerator.org

www.MedChecker.com

www.SeekFreak.com

www.Syncrisis.com

www.Presearcher.com

www.SirSeek.com

www.FotoTrix.com

www.BoobSigns.com

www.Canuckster.com

me.ddleso.me

www.9lbs.com

www.TXT2PIC.com

www.FakeMagazineCover.com

www.Trollize.com

www.FanSignGenerator.com

www.Holy-Bibles.org

www.Is-A-Jerk.com

www.HolyBibleSearch.com
www.SillyWebcam.com
www.SillyScenes.com
www.Seekerific.com
www.Nerdful.com
www.BodySwitcher.com
www.13KG.com
www.SpareSomeChange.com
www.FloppyApps.com
www.MaxSpider.com
www.ChatPhobia.com
www.SirSeek.com
www.HappyFaceGenerator.com
www.DangerSignGenerator.com
HolyBiblesSearch:
Internet Search:

www.WHAK.com

www.MAKE-A-MEME.com
www.HolyBibleVerse.com

www.SignGenerator.org

www.MedChecker.com

www.SeekFreak.com

www.Syncrisis.com

www.Presearcher.com

www.SirSeek.com

www.FotoTrix.com

www.BoobSigns.com

www.Canuckster.com

me.ddleso.me

www.9lbs.com

www.TXT2PIC.com

www.FakeMagazineCover.com

www.Trollize.com

www.FanSignGenerator.com

www.Holy-Bibles.org

www.Is-A-Jerk.com

www.HolyBibleSearch.com
www.SillyWebcam.com
www.SillyScenes.com
www.Seekerific.com
www.Nerdful.com
www.BodySwitcher.com
www.13KG.com
www.SpareSomeChange.com
www.FloppyApps.com
www.MaxSpider.com
www.ChatPhobia.com
www.SirSeek.com
www.HappyFaceGenerator.com
www.DangerSignGenerator.com
HolyBiblesSearch:
Internet Search:

www.WHAK.com

www.MAKE-A-MEME.com
www.HolyBibleVerse.com

www.SignGenerator.org

www.MedChecker.com

www.SeekFreak.com

www.Syncrisis.com

www.Presearcher.com

www.SirSeek.com

www.FotoTrix.com

www.BoobSigns.com

www.Canuckster.com

me.ddleso.me

www.9lbs.com

www.TXT2PIC.com

www.FakeMagazineCover.com

www.Trollize.com

www.FanSignGenerator.com

www.Holy-Bibles.org

www.Is-A-Jerk.com

www.HolyBibleSearch.com
www.SillyWebcam.com
www.SillyScenes.com
www.Seekerific.com
www.Nerdful.com
www.BodySwitcher.com
www.13KG.com
www.SpareSomeChange.com
www.FloppyApps.com
www.MaxSpider.com
www.ChatPhobia.com
www.SirSeek.com
www.HappyFaceGenerator.com
www.DangerSignGenerator.com
HolyBiblesSearch:
Internet Search:

www.WHAK.com

www.MAKE-A-MEME.com
www.HolyBibleVerse.com

www.SignGenerator.org

www.MedChecker.com

www.SeekFreak.com

www.Syncrisis.com

www.Presearcher.com

www.SirSeek.com

www.FotoTrix.com

www.BoobSigns.com

www.Canuckster.com

me.ddleso.me

www.9lbs.com

www.TXT2PIC.com

www.FakeMagazineCover.com

www.Trollize.com

www.FanSignGenerator.com

www.Holy-Bibles.org

www.Is-A-Jerk.com

www.HolyBibleSearch.com
www.SillyWebcam.com
www.SillyScenes.com
www.Seekerific.com
www.Nerdful.com
www.BodySwitcher.com
www.13KG.com
www.SpareSomeChange.com
www.FloppyApps.com
www.MaxSpider.com
www.ChatPhobia.com
www.SirSeek.com
www.HappyFaceGenerator.com
www.DangerSignGenerator.com
HolyBiblesSearch:
Internet Search:

www.WHAK.com

www.MAKE-A-MEME.com
www.HolyBibleVerse.com

www.SignGenerator.org

www.MedChecker.com

www.SeekFreak.com

www.Syncrisis.com

www.Presearcher.com

www.SirSeek.com

www.FotoTrix.com

www.BoobSigns.com

www.Canuckster.com

me.ddleso.me

www.9lbs.com

www.TXT2PIC.com

www.FakeMagazineCover.com

www.Trollize.com

www.FanSignGenerator.com

www.Holy-Bibles.org

www.Is-A-Jerk.com

www.HolyBibleSearch.com
www.SillyWebcam.com
www.SillyScenes.com
www.Seekerific.com
www.Nerdful.com
www.BodySwitcher.com
www.13KG.com
www.SpareSomeChange.com
www.FloppyApps.com
www.MaxSpider.com
www.ChatPhobia.com
www.SirSeek.com
www.HappyFaceGenerator.com
www.DangerSignGenerator.com
HolyBiblesSearch:
Internet Search:

www.WHAK.com

www.MAKE-A-MEME.com
www.HolyBibleVerse.com

www.SignGenerator.org

www.MedChecker.com

www.SeekFreak.com

www.Syncrisis.com

www.Presearcher.com

www.SirSeek.com

www.FotoTrix.com

www.BoobSigns.com

www.Canuckster.com

me.ddleso.me

www.9lbs.com

www.TXT2PIC.com

www.FakeMagazineCover.com

www.Trollize.com

www.FanSignGenerator.com

www.Holy-Bibles.org

www.Is-A-Jerk.com

www.HolyBibleSearch.com
www.SillyWebcam.com
www.SillyScenes.com
www.Seekerific.com
www.Nerdful.com
www.BodySwitcher.com
www.13KG.com
www.SpareSomeChange.com
www.FloppyApps.com
www.MaxSpider.com
www.ChatPhobia.com
www.SirSeek.com
www.HappyFaceGenerator.com
www.DangerSignGenerator.com
HolyBiblesSearch:
Internet Search:

www.WHAK.com

www.MAKE-A-MEME.com
www.HolyBibleVerse.com

www.SignGenerator.org

www.MedChecker.com

www.SeekFreak.com

www.Syncrisis.com

www.Presearcher.com

www.SirSeek.com

www.FotoTrix.com

www.BoobSigns.com

www.Canuckster.com

me.ddleso.me

www.9lbs.com

www.TXT2PIC.com

www.FakeMagazineCover.com

www.Trollize.com

www.FanSignGenerator.com

www.Holy-Bibles.org

www.Is-A-Jerk.com

www.HolyBibleSearch.com
www.SillyWebcam.com
www.SillyScenes.com
www.Seekerific.com
www.Nerdful.com
www.BodySwitcher.com
www.13KG.com
www.SpareSomeChange.com
www.FloppyApps.com
www.MaxSpider.com
www.ChatPhobia.com
www.SirSeek.com
www.HappyFaceGenerator.com
www.DangerSignGenerator.com
HolyBiblesSearch:
Internet Search:

www.WHAK.com

www.MAKE-A-MEME.com
www.HolyBibleVerse.com

www.SignGenerator.org

www.MedChecker.com

www.SeekFreak.com

www.Syncrisis.com

www.Presearcher.com

www.SirSeek.com

www.FotoTrix.com

www.BoobSigns.com

www.Canuckster.com

me.ddleso.me

www.9lbs.com

www.TXT2PIC.com

www.FakeMagazineCover.com

www.Trollize.com

www.FanSignGenerator.com

www.Holy-Bibles.org

www.Is-A-Jerk.com

www.HolyBibleSearch.com
www.SillyWebcam.com
www.SillyScenes.com
www.Seekerific.com
www.Nerdful.com
www.BodySwitcher.com
www.13KG.com
www.SpareSomeChange.com
www.FloppyApps.com
www.MaxSpider.com
www.ChatPhobia.com
www.SirSeek.com
www.HappyFaceGenerator.com
www.DangerSignGenerator.com
HolyBiblesSearch:
Internet Search:

www.WHAK.com

www.MAKE-A-MEME.com
www.HolyBibleVerse.com

www.SignGenerator.org

www.MedChecker.com

www.SeekFreak.com

www.Syncrisis.com

www.Presearcher.com

www.SirSeek.com

www.FotoTrix.com

www.BoobSigns.com

www.Canuckster.com

me.ddleso.me

www.9lbs.com

www.TXT2PIC.com

www.FakeMagazineCover.com

www.Trollize.com

www.FanSignGenerator.com

www.Holy-Bibles.org

www.Is-A-Jerk.com

www.HolyBibleSearch.com
www.SillyWebcam.com
www.SillyScenes.com
www.Seekerific.com
www.Nerdful.com
www.BodySwitcher.com
www.13KG.com
www.SpareSomeChange.com
www.FloppyApps.com
www.MaxSpider.com
www.ChatPhobia.com
www.SirSeek.com
www.HappyFaceGenerator.com
www.DangerSignGenerator.com
HolyBiblesSearch:
Internet Search:

www.WHAK.com

www.MAKE-A-MEME.com
www.HolyBibleVerse.com

www.SignGenerator.org

www.MedChecker.com

www.SeekFreak.com

www.Syncrisis.com

www.Presearcher.com

www.SirSeek.com

www.FotoTrix.com

www.BoobSigns.com

www.Canuckster.com

me.ddleso.me

www.9lbs.com

www.TXT2PIC.com

www.FakeMagazineCover.com

www.Trollize.com

www.FanSignGenerator.com

www.Holy-Bibles.org

www.Is-A-Jerk.com

www.HolyBibleSearch.com
www.SillyWebcam.com
www.SillyScenes.com
www.Seekerific.com
www.Nerdful.com
www.BodySwitcher.com
www.13KG.com
www.SpareSomeChange.com
www.FloppyApps.com
www.MaxSpider.com
www.ChatPhobia.com
www.SirSeek.com
www.HappyFaceGenerator.com
www.DangerSignGenerator.com
HolyBiblesSearch:
Internet Search:

www.WHAK.com

www.MAKE-A-MEME.com
www.HolyBibleVerse.com

www.SignGenerator.org

www.MedChecker.com

www.SeekFreak.com

www.Syncrisis.com

www.Presearcher.com

www.SirSeek.com

www.FotoTrix.com

www.BoobSigns.com

www.Canuckster.com

me.ddleso.me

www.9lbs.com

www.TXT2PIC.com

www.FakeMagazineCover.com

www.Trollize.com

www.FanSignGenerator.com

www.Holy-Bibles.org

www.Is-A-Jerk.com

www.HolyBibleSearch.com
www.SillyWebcam.com
www.SillyScenes.com
www.Seekerific.com
www.Nerdful.com
www.BodySwitcher.com
www.13KG.com
www.SpareSomeChange.com
www.FloppyApps.com
www.MaxSpider.com
www.ChatPhobia.com
www.SirSeek.com
www.HappyFaceGenerator.com
www.DangerSignGenerator.com
HolyBiblesSearch:
Internet Search:

www.WHAK.com

www.MAKE-A-MEME.com
www.HolyBibleVerse.com

www.SignGenerator.org

www.MedChecker.com

www.SeekFreak.com

www.Syncrisis.com

www.Presearcher.com

www.SirSeek.com

www.FotoTrix.com

www.BoobSigns.com

www.Canuckster.com

me.ddleso.me

www.9lbs.com

www.TXT2PIC.com

www.FakeMagazineCover.com

www.Trollize.com

www.FanSignGenerator.com

www.Holy-Bibles.org

www.Is-A-Jerk.com

www.HolyBibleSearch.com
www.SillyWebcam.com
www.SillyScenes.com
www.Seekerific.com
www.Nerdful.com
www.BodySwitcher.com
www.13KG.com
www.SpareSomeChange.com
www.FloppyApps.com
www.MaxSpider.com
www.ChatPhobia.com
www.SirSeek.com
www.HappyFaceGenerator.com
www.DangerSignGenerator.com
HolyBiblesSearch:
Internet Search:

www.WHAK.com

www.MAKE-A-MEME.com
www.HolyBibleVerse.com

www.SignGenerator.org

www.MedChecker.com

www.SeekFreak.com

www.Syncrisis.com

www.Presearcher.com

www.SirSeek.com

www.FotoTrix.com

www.BoobSigns.com

www.Canuckster.com

me.ddleso.me

www.9lbs.com

www.TXT2PIC.com

www.FakeMagazineCover.com

www.Trollize.com

www.FanSignGenerator.com

www.Holy-Bibles.org

www.Is-A-Jerk.com

www.HolyBibleSearch.com
www.SillyWebcam.com
www.SillyScenes.com
www.Seekerific.com
www.Nerdful.com
www.BodySwitcher.com
www.13KG.com
www.SpareSomeChange.com
www.FloppyApps.com
www.MaxSpider.com
www.ChatPhobia.com
www.SirSeek.com
www.HappyFaceGenerator.com
www.DangerSignGenerator.com
HolyBiblesSearch:
Internet Search:

www.WHAK.com

www.MAKE-A-MEME.com
www.HolyBibleVerse.com

www.SignGenerator.org

www.MedChecker.com

www.SeekFreak.com

www.Syncrisis.com

www.Presearcher.com

www.SirSeek.com

www.FotoTrix.com

www.BoobSigns.com

www.Canuckster.com

me.ddleso.me

www.9lbs.com

www.TXT2PIC.com

www.FakeMagazineCover.com

www.Trollize.com

www.FanSignGenerator.com

www.Holy-Bibles.org

www.Is-A-Jerk.com

www.HolyBibleSearch.com
www.SillyWebcam.com
www.SillyScenes.com
www.Seekerific.com
www.Nerdful.com
www.BodySwitcher.com
www.13KG.com
www.SpareSomeChange.com
www.FloppyApps.com
www.MaxSpider.com
www.ChatPhobia.com
www.SirSeek.com
www.HappyFaceGenerator.com
www.DangerSignGenerator.com
HolyBiblesSearch:
Internet Search:

www.WHAK.com

www.MAKE-A-MEME.com
www.HolyBibleVerse.com

www.SignGenerator.org

www.MedChecker.com

www.SeekFreak.com

www.Syncrisis.com

www.Presearcher.com

www.SirSeek.com

www.FotoTrix.com

www.BoobSigns.com

www.Canuckster.com

me.ddleso.me

www.9lbs.com

www.TXT2PIC.com

www.FakeMagazineCover.com

www.Trollize.com

www.FanSignGenerator.com

www.Holy-Bibles.org

www.Is-A-Jerk.com

www.HolyBibleSearch.com
www.SillyWebcam.com
www.SillyScenes.com
www.Seekerific.com
www.Nerdful.com
www.BodySwitcher.com
www.13KG.com
www.SpareSomeChange.com
www.FloppyApps.com
www.MaxSpider.com
www.ChatPhobia.com
www.SirSeek.com
www.HappyFaceGenerator.com
www.DangerSignGenerator.com
HolyBiblesSearch:
Internet Search:

www.WHAK.com

www.MAKE-A-MEME.com
www.HolyBibleVerse.com

www.SignGenerator.org

www.MedChecker.com

www.SeekFreak.com

www.Syncrisis.com

www.Presearcher.com

www.SirSeek.com

www.FotoTrix.com

www.BoobSigns.com

www.Canuckster.com

me.ddleso.me

www.9lbs.com

www.TXT2PIC.com

www.FakeMagazineCover.com

www.Trollize.com

www.FanSignGenerator.com

www.Holy-Bibles.org

www.Is-A-Jerk.com

www.HolyBibleSearch.com
www.SillyWebcam.com
www.SillyScenes.com
www.Seekerific.com
www.Nerdful.com
www.BodySwitcher.com
www.13KG.com
www.SpareSomeChange.com
www.FloppyApps.com
www.MaxSpider.com
www.ChatPhobia.com
www.SirSeek.com
www.HappyFaceGenerator.com
www.DangerSignGenerator.com
HolyBiblesSearch:
Internet Search:

www.WHAK.com

www.MAKE-A-MEME.com
www.HolyBibleVerse.com

www.SignGenerator.org

www.MedChecker.com

www.SeekFreak.com

www.Syncrisis.com

www.Presearcher.com

www.SirSeek.com

www.FotoTrix.com

www.BoobSigns.com

www.Canuckster.com

me.ddleso.me

www.9lbs.com

www.TXT2PIC.com

www.FakeMagazineCover.com

www.Trollize.com

www.FanSignGenerator.com

www.Holy-Bibles.org

www.Is-A-Jerk.com

www.HolyBibleSearch.com
www.SillyWebcam.com
www.SillyScenes.com
www.Seekerific.com
www.Nerdful.com
www.BodySwitcher.com
www.13KG.com
www.SpareSomeChange.com
www.FloppyApps.com
www.MaxSpider.com
www.ChatPhobia.com
www.SirSeek.com
www.HappyFaceGenerator.com
www.DangerSignGenerator.com
HolyBiblesSearch:
Internet Search:

www.WHAK.com

www.MAKE-A-MEME.com
www.HolyBibleVerse.com

www.SignGenerator.org

www.MedChecker.com

www.SeekFreak.com

www.Syncrisis.com

www.Presearcher.com

www.SirSeek.com

www.FotoTrix.com

www.BoobSigns.com

www.Canuckster.com

me.ddleso.me

www.9lbs.com

www.TXT2PIC.com

www.FakeMagazineCover.com

www.Trollize.com

www.FanSignGenerator.com

www.Holy-Bibles.org

www.Is-A-Jerk.com

www.HolyBibleSearch.com
www.SillyWebcam.com
www.SillyScenes.com
www.Seekerific.com
www.Nerdful.com
www.BodySwitcher.com
www.13KG.com
www.SpareSomeChange.com
www.FloppyApps.com
www.MaxSpider.com
www.ChatPhobia.com
www.SirSeek.com
www.HappyFaceGenerator.com
www.DangerSignGenerator.com
HolyBiblesSearch:
Internet Search:

www.WHAK.com

www.MAKE-A-MEME.com
www.HolyBibleVerse.com

www.SignGenerator.org

www.MedChecker.com

www.SeekFreak.com

www.Syncrisis.com

www.Presearcher.com

www.SirSeek.com

www.FotoTrix.com

www.BoobSigns.com

www.Canuckster.com

me.ddleso.me

www.9lbs.com

www.TXT2PIC.com

www.FakeMagazineCover.com

www.Trollize.com

www.FanSignGenerator.com

www.Holy-Bibles.org

www.Is-A-Jerk.com

www.HolyBibleSearch.com
www.SillyWebcam.com
www.SillyScenes.com
www.Seekerific.com
www.Nerdful.com
www.BodySwitcher.com
www.13KG.com
www.SpareSomeChange.com
www.FloppyApps.com
www.MaxSpider.com
www.ChatPhobia.com
www.SirSeek.com
www.HappyFaceGenerator.com
www.DangerSignGenerator.com
HolyBiblesSearch:
Internet Search:

www.WHAK.com

www.MAKE-A-MEME.com
www.HolyBibleVerse.com

www.SignGenerator.org

www.MedChecker.com

www.SeekFreak.com

www.Syncrisis.com

www.Presearcher.com

www.SirSeek.com

www.FotoTrix.com

www.BoobSigns.com

www.Canuckster.com

me.ddleso.me

www.9lbs.com

www.TXT2PIC.com

www.FakeMagazineCover.com

www.Trollize.com

www.FanSignGenerator.com

www.Holy-Bibles.org

www.Is-A-Jerk.com

www.HolyBibleSearch.com
www.SillyWebcam.com
www.SillyScenes.com
www.Seekerific.com
www.Nerdful.com
www.BodySwitcher.com
www.13KG.com
www.SpareSomeChange.com
www.FloppyApps.com
www.MaxSpider.com
www.ChatPhobia.com
www.SirSeek.com
www.HappyFaceGenerator.com
www.DangerSignGenerator.com
HolyBiblesSearch:
Internet Search:

www.WHAK.com

www.MAKE-A-MEME.com
www.HolyBibleVerse.com

www.SignGenerator.org

www.MedChecker.com

www.SeekFreak.com

www.Syncrisis.com

www.Presearcher.com

www.SirSeek.com

www.FotoTrix.com

www.BoobSigns.com

www.Canuckster.com

me.ddleso.me

www.9lbs.com

www.TXT2PIC.com

www.FakeMagazineCover.com

www.Trollize.com

www.FanSignGenerator.com

www.Holy-Bibles.org

www.Is-A-Jerk.com

www.HolyBibleSearch.com
www.SillyWebcam.com
www.SillyScenes.com
www.Seekerific.com
www.Nerdful.com
www.BodySwitcher.com
www.13KG.com
www.SpareSomeChange.com
www.FloppyApps.com
www.MaxSpider.com
www.ChatPhobia.com
www.SirSeek.com
www.HappyFaceGenerator.com
www.DangerSignGenerator.com
HolyBiblesSearch:
Internet Search:

www.WHAK.com

www.MAKE-A-MEME.com
www.HolyBibleVerse.com

www.SignGenerator.org

www.MedChecker.com

www.SeekFreak.com

www.Syncrisis.com

www.Presearcher.com

www.SirSeek.com

www.FotoTrix.com

www.BoobSigns.com

www.Canuckster.com

me.ddleso.me

www.9lbs.com

www.TXT2PIC.com

www.FakeMagazineCover.com

www.Trollize.com

www.FanSignGenerator.com

www.Holy-Bibles.org

www.Is-A-Jerk.com

www.HolyBibleSearch.com
www.SillyWebcam.com
www.SillyScenes.com
www.Seekerific.com
www.Nerdful.com
www.BodySwitcher.com
www.13KG.com
www.SpareSomeChange.com
www.FloppyApps.com
www.MaxSpider.com
www.ChatPhobia.com
www.SirSeek.com
www.HappyFaceGenerator.com
www.DangerSignGenerator.com
HolyBiblesSearch:
Internet Search:

www.WHAK.com

www.MAKE-A-MEME.com
www.HolyBibleVerse.com

www.SignGenerator.org

www.MedChecker.com

www.SeekFreak.com

www.Syncrisis.com

www.Presearcher.com

www.SirSeek.com

www.FotoTrix.com

www.BoobSigns.com

www.Canuckster.com

me.ddleso.me

www.9lbs.com

www.TXT2PIC.com

www.FakeMagazineCover.com

www.Trollize.com

www.FanSignGenerator.com

www.Holy-Bibles.org

www.Is-A-Jerk.com

www.HolyBibleSearch.com
www.SillyWebcam.com
www.SillyScenes.com
www.Seekerific.com
www.Nerdful.com
www.BodySwitcher.com
www.13KG.com
www.SpareSomeChange.com
www.FloppyApps.com
www.MaxSpider.com
www.ChatPhobia.com
www.SirSeek.com
www.HappyFaceGenerator.com
www.DangerSignGenerator.com
HolyBiblesSearch:
Internet Search:

www.WHAK.com

www.MAKE-A-MEME.com
www.HolyBibleVerse.com

www.SignGenerator.org

www.MedChecker.com

www.SeekFreak.com

www.Syncrisis.com

www.Presearcher.com

www.SirSeek.com

www.FotoTrix.com

www.BoobSigns.com

www.Canuckster.com

me.ddleso.me

www.9lbs.com

www.TXT2PIC.com

www.FakeMagazineCover.com

www.Trollize.com

www.FanSignGenerator.com

www.Holy-Bibles.org

www.Is-A-Jerk.com

www.HolyBibleSearch.com
www.SillyWebcam.com
www.SillyScenes.com
www.Seekerific.com
www.Nerdful.com
www.BodySwitcher.com
www.13KG.com
www.SpareSomeChange.com
www.FloppyApps.com
www.MaxSpider.com
www.ChatPhobia.com
www.SirSeek.com
www.HappyFaceGenerator.com
www.DangerSignGenerator.com
HolyBiblesSearch:
Internet Search:

www.WHAK.com

www.MAKE-A-MEME.com
www.HolyBibleVerse.com

www.SignGenerator.org

www.MedChecker.com

www.SeekFreak.com

www.Syncrisis.com

www.Presearcher.com

www.SirSeek.com

www.FotoTrix.com

www.BoobSigns.com

www.Canuckster.com

me.ddleso.me

www.9lbs.com

www.TXT2PIC.com

www.FakeMagazineCover.com

www.Trollize.com

www.FanSignGenerator.com

www.Holy-Bibles.org

www.Is-A-Jerk.com

www.HolyBibleSearch.com
www.SillyWebcam.com
www.SillyScenes.com
www.Seekerific.com
www.Nerdful.com
www.BodySwitcher.com
www.13KG.com
www.SpareSomeChange.com
www.FloppyApps.com
www.MaxSpider.com
www.ChatPhobia.com
www.SirSeek.com
www.HappyFaceGenerator.com
www.DangerSignGenerator.com
HolyBiblesSearch:
Internet Search:

www.WHAK.com

www.MAKE-A-MEME.com
www.HolyBibleVerse.com

www.SignGenerator.org

www.MedChecker.com

www.SeekFreak.com

www.Syncrisis.com

www.Presearcher.com

www.SirSeek.com

www.FotoTrix.com

www.BoobSigns.com

www.Canuckster.com

me.ddleso.me

www.9lbs.com

www.TXT2PIC.com

www.FakeMagazineCover.com

www.Trollize.com

www.FanSignGenerator.com

www.Holy-Bibles.org

www.Is-A-Jerk.com

www.HolyBibleSearch.com
www.SillyWebcam.com
www.SillyScenes.com
www.Seekerific.com
www.Nerdful.com
www.BodySwitcher.com
www.13KG.com
www.SpareSomeChange.com
www.FloppyApps.com
www.MaxSpider.com
www.ChatPhobia.com
www.SirSeek.com
www.HappyFaceGenerator.com
www.DangerSignGenerator.com
HolyBiblesSearch:
Internet Search:

www.WHAK.com

www.MAKE-A-MEME.com
www.HolyBibleVerse.com

www.SignGenerator.org

www.MedChecker.com

www.SeekFreak.com

www.Syncrisis.com

www.Presearcher.com

www.SirSeek.com

www.FotoTrix.com

www.BoobSigns.com

www.Canuckster.com

me.ddleso.me

www.9lbs.com

www.TXT2PIC.com

www.FakeMagazineCover.com

www.Trollize.com

www.FanSignGenerator.com

www.Holy-Bibles.org

www.Is-A-Jerk.com

www.HolyBibleSearch.com
www.SillyWebcam.com
www.SillyScenes.com
www.Seekerific.com
www.Nerdful.com
www.BodySwitcher.com
www.13KG.com
www.SpareSomeChange.com
www.FloppyApps.com
www.MaxSpider.com
www.ChatPhobia.com
www.SirSeek.com
www.HappyFaceGenerator.com
www.DangerSignGenerator.com
HolyBiblesSearch:
Internet Search:

www.WHAK.com

www.MAKE-A-MEME.com
www.HolyBibleVerse.com

www.SignGenerator.org

www.MedChecker.com

www.SeekFreak.com

www.Syncrisis.com

www.Presearcher.com

www.SirSeek.com

www.FotoTrix.com

www.BoobSigns.com

www.Canuckster.com

me.ddleso.me

www.9lbs.com

www.TXT2PIC.com

www.FakeMagazineCover.com

www.Trollize.com

www.FanSignGenerator.com

www.Holy-Bibles.org

www.Is-A-Jerk.com

www.HolyBibleSearch.com
www.SillyWebcam.com
www.SillyScenes.com
www.Seekerific.com
www.Nerdful.com
www.BodySwitcher.com
www.13KG.com
www.SpareSomeChange.com
www.FloppyApps.com
www.MaxSpider.com
www.ChatPhobia.com
www.SirSeek.com
www.HappyFaceGenerator.com
www.DangerSignGenerator.com
HolyBiblesSearch:
Internet Search:

www.WHAK.com

www.MAKE-A-MEME.com
www.HolyBibleVerse.com

www.SignGenerator.org

www.MedChecker.com

www.SeekFreak.com

www.Syncrisis.com

www.Presearcher.com

www.SirSeek.com

www.FotoTrix.com

www.BoobSigns.com

www.Canuckster.com

me.ddleso.me

www.9lbs.com

www.TXT2PIC.com

www.FakeMagazineCover.com

www.Trollize.com

www.FanSignGenerator.com

www.Holy-Bibles.org

www.Is-A-Jerk.com

www.HolyBibleSearch.com
www.SillyWebcam.com
www.SillyScenes.com
www.Seekerific.com
www.Nerdful.com
www.BodySwitcher.com
www.13KG.com
www.SpareSomeChange.com
www.FloppyApps.com
www.MaxSpider.com
www.ChatPhobia.com
www.SirSeek.com
www.HappyFaceGenerator.com
www.DangerSignGenerator.com
HolyBiblesSearch:
Internet Search:

www.WHAK.com

www.MAKE-A-MEME.com
www.HolyBibleVerse.com

www.SignGenerator.org

www.MedChecker.com

www.SeekFreak.com

www.Syncrisis.com

www.Presearcher.com

www.SirSeek.com

www.FotoTrix.com

www.BoobSigns.com

www.Canuckster.com

me.ddleso.me

www.9lbs.com

www.TXT2PIC.com

www.FakeMagazineCover.com

www.Trollize.com

www.FanSignGenerator.com

www.Holy-Bibles.org

www.Is-A-Jerk.com

www.HolyBibleSearch.com
www.SillyWebcam.com
www.SillyScenes.com
www.Seekerific.com
www.Nerdful.com
www.BodySwitcher.com
www.13KG.com
www.SpareSomeChange.com
www.FloppyApps.com
www.MaxSpider.com
www.ChatPhobia.com
www.SirSeek.com
www.HappyFaceGenerator.com
www.DangerSignGenerator.com
HolyBiblesSearch:
Internet Search:

www.WHAK.com

www.MAKE-A-MEME.com
www.HolyBibleVerse.com

www.SignGenerator.org

www.MedChecker.com

www.SeekFreak.com

www.Syncrisis.com

www.Presearcher.com

www.SirSeek.com

www.FotoTrix.com

www.BoobSigns.com

www.Canuckster.com

me.ddleso.me

www.9lbs.com

www.TXT2PIC.com

www.FakeMagazineCover.com

www.Trollize.com

www.FanSignGenerator.com

www.Holy-Bibles.org

www.Is-A-Jerk.com

www.HolyBibleSearch.com
www.SillyWebcam.com
www.SillyScenes.com
www.Seekerific.com
www.Nerdful.com
www.BodySwitcher.com
www.13KG.com
www.SpareSomeChange.com
www.FloppyApps.com
www.MaxSpider.com
www.ChatPhobia.com
www.SirSeek.com
www.HappyFaceGenerator.com
www.DangerSignGenerator.com
HolyBiblesSearch:
Internet Search:

www.WHAK.com

www.MAKE-A-MEME.com
www.HolyBibleVerse.com

www.SignGenerator.org

www.MedChecker.com

www.SeekFreak.com

www.Syncrisis.com

www.Presearcher.com

www.SirSeek.com

www.FotoTrix.com

www.BoobSigns.com

www.Canuckster.com

me.ddleso.me

www.9lbs.com

www.TXT2PIC.com

www.FakeMagazineCover.com

www.Trollize.com

www.FanSignGenerator.com

www.Holy-Bibles.org

www.Is-A-Jerk.com

www.HolyBibleSearch.com
www.SillyWebcam.com
www.SillyScenes.com
www.Seekerific.com
www.Nerdful.com
www.BodySwitcher.com
www.13KG.com
www.SpareSomeChange.com
www.FloppyApps.com
www.MaxSpider.com
www.ChatPhobia.com
www.SirSeek.com
www.HappyFaceGenerator.com
www.DangerSignGenerator.com
HolyBiblesSearch:
Internet Search:

www.WHAK.com

www.MAKE-A-MEME.com
www.HolyBibleVerse.com

www.SignGenerator.org

www.MedChecker.com

www.SeekFreak.com

www.Syncrisis.com

www.Presearcher.com

www.SirSeek.com

www.FotoTrix.com

www.BoobSigns.com

www.Canuckster.com

me.ddleso.me

www.9lbs.com

www.TXT2PIC.com

www.FakeMagazineCover.com

www.Trollize.com

www.FanSignGenerator.com

www.Holy-Bibles.org

www.Is-A-Jerk.com

www.HolyBibleSearch.com
www.SillyWebcam.com
www.SillyScenes.com
www.Seekerific.com
www.Nerdful.com
www.BodySwitcher.com
www.13KG.com
www.SpareSomeChange.com
www.FloppyApps.com
www.MaxSpider.com
www.ChatPhobia.com
www.SirSeek.com
www.HappyFaceGenerator.com
www.DangerSignGenerator.com
HolyBiblesSearch:
Internet Search:

www.WHAK.com

www.MAKE-A-MEME.com
www.HolyBibleVerse.com

www.SignGenerator.org

www.MedChecker.com

www.SeekFreak.com

www.Syncrisis.com

www.Presearcher.com

www.SirSeek.com

www.FotoTrix.com

www.BoobSigns.com

www.Canuckster.com

me.ddleso.me

www.9lbs.com

www.TXT2PIC.com

www.FakeMagazineCover.com

www.Trollize.com

www.FanSignGenerator.com

www.Holy-Bibles.org

www.Is-A-Jerk.com

www.HolyBibleSearch.com
www.SillyWebcam.com
www.SillyScenes.com
www.Seekerific.com
www.Nerdful.com
www.BodySwitcher.com
www.13KG.com
www.SpareSomeChange.com
www.FloppyApps.com
www.MaxSpider.com
www.ChatPhobia.com
www.SirSeek.com
www.HappyFaceGenerator.com
www.DangerSignGenerator.com
HolyBiblesSearch:
Internet Search:

www.WHAK.com

www.MAKE-A-MEME.com
www.HolyBibleVerse.com

www.SignGenerator.org

www.MedChecker.com

www.SeekFreak.com

www.Syncrisis.com

www.Presearcher.com

www.SirSeek.com

www.FotoTrix.com

www.BoobSigns.com

www.Canuckster.com

me.ddleso.me

www.9lbs.com

www.TXT2PIC.com

www.FakeMagazineCover.com

www.Trollize.com

www.FanSignGenerator.com

www.Holy-Bibles.org

www.Is-A-Jerk.com

www.HolyBibleSearch.com
www.SillyWebcam.com
www.SillyScenes.com
www.Seekerific.com
www.Nerdful.com
www.BodySwitcher.com
www.13KG.com
www.SpareSomeChange.com
www.FloppyApps.com
www.MaxSpider.com
www.ChatPhobia.com
www.SirSeek.com
www.HappyFaceGenerator.com
www.DangerSignGenerator.com
HolyBiblesSearch:
Internet Search:

www.WHAK.com

www.MAKE-A-MEME.com
www.HolyBibleVerse.com

www.SignGenerator.org

www.MedChecker.com

www.SeekFreak.com

www.Syncrisis.com

www.Presearcher.com

www.SirSeek.com

www.FotoTrix.com

www.BoobSigns.com

www.Canuckster.com

me.ddleso.me

www.9lbs.com

www.TXT2PIC.com

www.FakeMagazineCover.com

www.Trollize.com

www.FanSignGenerator.com

www.Holy-Bibles.org

www.Is-A-Jerk.com

www.HolyBibleSearch.com
www.SillyWebcam.com
www.SillyScenes.com
www.Seekerific.com
www.Nerdful.com
www.BodySwitcher.com
www.13KG.com
www.SpareSomeChange.com
www.FloppyApps.com
www.MaxSpider.com
www.ChatPhobia.com
www.SirSeek.com
www.HappyFaceGenerator.com
www.DangerSignGenerator.com
HolyBiblesSearch:
Internet Search:

www.WHAK.com

www.MAKE-A-MEME.com
www.HolyBibleVerse.com

www.SignGenerator.org

www.MedChecker.com

www.SeekFreak.com

www.Syncrisis.com

www.Presearcher.com

www.SirSeek.com

www.FotoTrix.com

www.BoobSigns.com

www.Canuckster.com

me.ddleso.me

www.9lbs.com

www.TXT2PIC.com

www.FakeMagazineCover.com

www.Trollize.com

www.FanSignGenerator.com

www.Holy-Bibles.org

www.Is-A-Jerk.com

www.HolyBibleSearch.com
www.SillyWebcam.com
www.SillyScenes.com
www.Seekerific.com
www.Nerdful.com
www.BodySwitcher.com
www.13KG.com
www.SpareSomeChange.com
www.FloppyApps.com
www.MaxSpider.com
www.ChatPhobia.com
www.SirSeek.com
www.HappyFaceGenerator.com
www.DangerSignGenerator.com
HolyBiblesSearch:
Internet Search:

www.WHAK.com

www.MAKE-A-MEME.com
www.HolyBibleVerse.com

www.SignGenerator.org

www.MedChecker.com

www.SeekFreak.com

www.Syncrisis.com

www.Presearcher.com

www.SirSeek.com

www.FotoTrix.com

www.BoobSigns.com

www.Canuckster.com

me.ddleso.me

www.9lbs.com

www.TXT2PIC.com

www.FakeMagazineCover.com

www.Trollize.com

www.FanSignGenerator.com

www.Holy-Bibles.org

www.Is-A-Jerk.com

www.HolyBibleSearch.com
www.SillyWebcam.com
www.SillyScenes.com
www.Seekerific.com
www.Nerdful.com
www.BodySwitcher.com
www.13KG.com
www.SpareSomeChange.com
www.FloppyApps.com
www.MaxSpider.com
www.ChatPhobia.com
www.SirSeek.com
www.HappyFaceGenerator.com
www.DangerSignGenerator.com
HolyBiblesSearch:
Internet Search:

www.WHAK.com

www.MAKE-A-MEME.com
www.HolyBibleVerse.com

www.SignGenerator.org

www.MedChecker.com

www.SeekFreak.com

www.Syncrisis.com

www.Presearcher.com

www.SirSeek.com

www.FotoTrix.com

www.BoobSigns.com

www.Canuckster.com

me.ddleso.me

www.9lbs.com

www.TXT2PIC.com

www.FakeMagazineCover.com

www.Trollize.com

www.FanSignGenerator.com

www.Holy-Bibles.org

www.Is-A-Jerk.com

www.HolyBibleSearch.com
www.SillyWebcam.com
www.SillyScenes.com
www.Seekerific.com
www.Nerdful.com
www.BodySwitcher.com
www.13KG.com
www.SpareSomeChange.com
www.FloppyApps.com
www.MaxSpider.com
www.ChatPhobia.com
www.SirSeek.com
www.HappyFaceGenerator.com
www.DangerSignGenerator.com
HolyBiblesSearch:
Internet Search:

www.WHAK.com

www.MAKE-A-MEME.com
www.HolyBibleVerse.com

www.SignGenerator.org

www.MedChecker.com

www.SeekFreak.com

www.Syncrisis.com

www.Presearcher.com

www.SirSeek.com

www.FotoTrix.com

www.BoobSigns.com

www.Canuckster.com

me.ddleso.me

www.9lbs.com

www.TXT2PIC.com

www.FakeMagazineCover.com

www.Trollize.com

www.FanSignGenerator.com

www.Holy-Bibles.org

www.Is-A-Jerk.com

www.HolyBibleSearch.com
www.SillyWebcam.com
www.SillyScenes.com
www.Seekerific.com
www.Nerdful.com
www.BodySwitcher.com
www.13KG.com
www.SpareSomeChange.com
www.FloppyApps.com
www.MaxSpider.com
www.ChatPhobia.com
www.SirSeek.com
www.HappyFaceGenerator.com
www.DangerSignGenerator.com
HolyBiblesSearch:
Internet Search:

www.WHAK.com

www.MAKE-A-MEME.com
www.HolyBibleVerse.com

www.SignGenerator.org

www.MedChecker.com

www.SeekFreak.com

www.Syncrisis.com

www.Presearcher.com

www.SirSeek.com

www.FotoTrix.com

www.BoobSigns.com

www.Canuckster.com

me.ddleso.me

www.9lbs.com

www.TXT2PIC.com

www.FakeMagazineCover.com

www.Trollize.com

www.FanSignGenerator.com

www.Holy-Bibles.org

www.Is-A-Jerk.com

www.HolyBibleSearch.com
www.SillyWebcam.com
www.SillyScenes.com
www.Seekerific.com
www.Nerdful.com
www.BodySwitcher.com
www.13KG.com
www.SpareSomeChange.com
www.FloppyApps.com
www.MaxSpider.com
www.ChatPhobia.com
www.SirSeek.com
www.HappyFaceGenerator.com
www.DangerSignGenerator.com
HolyBiblesSearch:
Internet Search:

www.WHAK.com

www.MAKE-A-MEME.com
www.HolyBibleVerse.com

www.SignGenerator.org

www.MedChecker.com

www.SeekFreak.com

www.Syncrisis.com

www.Presearcher.com

www.SirSeek.com

www.FotoTrix.com

www.BoobSigns.com

www.Canuckster.com

me.ddleso.me

www.9lbs.com

www.TXT2PIC.com

www.FakeMagazineCover.com

www.Trollize.com

www.FanSignGenerator.com

www.Holy-Bibles.org

www.Is-A-Jerk.com

www.HolyBibleSearch.com
www.SillyWebcam.com
www.SillyScenes.com
www.Seekerific.com
www.Nerdful.com
www.BodySwitcher.com
www.13KG.com
www.SpareSomeChange.com
www.FloppyApps.com
www.MaxSpider.com
www.ChatPhobia.com
www.SirSeek.com
www.HappyFaceGenerator.com
www.DangerSignGenerator.com
HolyBiblesSearch:
Internet Search:

www.WHAK.com

www.MAKE-A-MEME.com
www.HolyBibleVerse.com

www.SignGenerator.org

www.MedChecker.com

www.SeekFreak.com

www.Syncrisis.com

www.Presearcher.com

www.SirSeek.com

www.FotoTrix.com

www.BoobSigns.com

www.Canuckster.com

me.ddleso.me

www.9lbs.com

www.TXT2PIC.com

www.FakeMagazineCover.com

www.Trollize.com

www.FanSignGenerator.com

www.Holy-Bibles.org

www.Is-A-Jerk.com

www.HolyBibleSearch.com
www.SillyWebcam.com
www.SillyScenes.com
www.Seekerific.com
www.Nerdful.com
www.BodySwitcher.com
www.13KG.com
www.SpareSomeChange.com
www.FloppyApps.com
www.MaxSpider.com
www.ChatPhobia.com
www.SirSeek.com
www.HappyFaceGenerator.com
www.DangerSignGenerator.com
HolyBiblesSearch:
Internet Search:

www.WHAK.com

www.MAKE-A-MEME.com
www.HolyBibleVerse.com

www.SignGenerator.org

www.MedChecker.com

www.SeekFreak.com

www.Syncrisis.com

www.Presearcher.com

www.SirSeek.com

www.FotoTrix.com

www.BoobSigns.com

www.Canuckster.com

me.ddleso.me

www.9lbs.com

www.TXT2PIC.com

www.FakeMagazineCover.com

www.Trollize.com

www.FanSignGenerator.com

www.Holy-Bibles.org

www.Is-A-Jerk.com

www.HolyBibleSearch.com
www.SillyWebcam.com
www.SillyScenes.com
www.Seekerific.com
www.Nerdful.com
www.BodySwitcher.com
www.13KG.com
www.SpareSomeChange.com
www.FloppyApps.com
www.MaxSpider.com
www.ChatPhobia.com
www.SirSeek.com
www.HappyFaceGenerator.com
www.DangerSignGenerator.com
HolyBiblesSearch:
Internet Search:

www.WHAK.com

www.MAKE-A-MEME.com
www.HolyBibleVerse.com

www.SignGenerator.org

www.MedChecker.com

www.SeekFreak.com

www.Syncrisis.com

www.Presearcher.com

www.SirSeek.com

www.FotoTrix.com

www.BoobSigns.com

www.Canuckster.com

me.ddleso.me

www.9lbs.com

www.TXT2PIC.com

www.FakeMagazineCover.com

www.Trollize.com

www.FanSignGenerator.com

www.Holy-Bibles.org

www.Is-A-Jerk.com

www.HolyBibleSearch.com
www.SillyWebcam.com
www.SillyScenes.com
www.Seekerific.com
www.Nerdful.com
www.BodySwitcher.com
www.13KG.com
www.SpareSomeChange.com
www.FloppyApps.com
www.MaxSpider.com
www.ChatPhobia.com
www.SirSeek.com
www.HappyFaceGenerator.com
www.DangerSignGenerator.com
HolyBiblesSearch:
Internet Search:

www.WHAK.com

www.MAKE-A-MEME.com
www.HolyBibleVerse.com

www.SignGenerator.org

www.MedChecker.com

www.SeekFreak.com

www.Syncrisis.com

www.Presearcher.com

www.SirSeek.com

www.FotoTrix.com

www.BoobSigns.com

www.Canuckster.com

me.ddleso.me

www.9lbs.com

www.TXT2PIC.com

www.FakeMagazineCover.com

www.Trollize.com

www.FanSignGenerator.com

www.Holy-Bibles.org

www.Is-A-Jerk.com

www.HolyBibleSearch.com
www.SillyWebcam.com
www.SillyScenes.com
www.Seekerific.com
www.Nerdful.com
www.BodySwitcher.com
www.13KG.com
www.SpareSomeChange.com
www.FloppyApps.com
www.MaxSpider.com
www.ChatPhobia.com
www.SirSeek.com
www.HappyFaceGenerator.com
www.DangerSignGenerator.com
HolyBiblesSearch:
Internet Search:

www.WHAK.com

www.MAKE-A-MEME.com
www.HolyBibleVerse.com

www.SignGenerator.org

www.MedChecker.com

www.SeekFreak.com

www.Syncrisis.com

www.Presearcher.com

www.SirSeek.com

www.FotoTrix.com

www.BoobSigns.com

www.Canuckster.com

me.ddleso.me

www.9lbs.com

www.TXT2PIC.com

www.FakeMagazineCover.com

www.Trollize.com

www.FanSignGenerator.com

www.Holy-Bibles.org

www.Is-A-Jerk.com

www.HolyBibleSearch.com
www.SillyWebcam.com
www.SillyScenes.com
www.Seekerific.com
www.Nerdful.com
www.BodySwitcher.com
www.13KG.com
www.SpareSomeChange.com
www.FloppyApps.com
www.MaxSpider.com
www.ChatPhobia.com
www.SirSeek.com
www.HappyFaceGenerator.com
www.DangerSignGenerator.com
HolyBiblesSearch:
Internet Search:

www.WHAK.com

www.MAKE-A-MEME.com
www.HolyBibleVerse.com

www.SignGenerator.org

www.MedChecker.com

www.SeekFreak.com

www.Syncrisis.com

www.Presearcher.com

www.SirSeek.com

www.FotoTrix.com

www.BoobSigns.com

www.Canuckster.com

me.ddleso.me

www.9lbs.com

www.TXT2PIC.com

www.FakeMagazineCover.com

www.Trollize.com

www.FanSignGenerator.com

www.Holy-Bibles.org

www.Is-A-Jerk.com

www.HolyBibleSearch.com
www.SillyWebcam.com
www.SillyScenes.com
www.Seekerific.com
www.Nerdful.com
www.BodySwitcher.com
www.13KG.com
www.SpareSomeChange.com
www.FloppyApps.com
www.MaxSpider.com
www.ChatPhobia.com
www.SirSeek.com
www.HappyFaceGenerator.com
www.DangerSignGenerator.com
HolyBiblesSearch:
Internet Search:

www.WHAK.com

www.MAKE-A-MEME.com
www.HolyBibleVerse.com

www.SignGenerator.org

www.MedChecker.com

www.SeekFreak.com

www.Syncrisis.com

www.Presearcher.com

www.SirSeek.com

www.FotoTrix.com

www.BoobSigns.com

www.Canuckster.com

me.ddleso.me

www.9lbs.com

www.TXT2PIC.com

www.FakeMagazineCover.com

www.Trollize.com

www.FanSignGenerator.com

www.Holy-Bibles.org

www.Is-A-Jerk.com

www.HolyBibleSearch.com
www.SillyWebcam.com
www.SillyScenes.com
www.Seekerific.com
www.Nerdful.com
www.BodySwitcher.com
www.13KG.com
www.SpareSomeChange.com
www.FloppyApps.com
www.MaxSpider.com
www.ChatPhobia.com
www.SirSeek.com
www.HappyFaceGenerator.com
www.DangerSignGenerator.com
HolyBiblesSearch:
Internet Search:

www.WHAK.com

www.MAKE-A-MEME.com
www.HolyBibleVerse.com

www.SignGenerator.org

www.MedChecker.com

www.SeekFreak.com

www.Syncrisis.com

www.Presearcher.com

www.SirSeek.com

www.FotoTrix.com

www.BoobSigns.com

www.Canuckster.com

me.ddleso.me

www.9lbs.com

www.TXT2PIC.com

www.FakeMagazineCover.com

www.Trollize.com

www.FanSignGenerator.com

www.Holy-Bibles.org

www.Is-A-Jerk.com

www.HolyBibleSearch.com
www.SillyWebcam.com
www.SillyScenes.com
www.Seekerific.com
www.Nerdful.com
www.BodySwitcher.com
www.13KG.com
www.SpareSomeChange.com
www.FloppyApps.com
www.MaxSpider.com
www.ChatPhobia.com
www.SirSeek.com
www.HappyFaceGenerator.com
www.DangerSignGenerator.com
HolyBiblesSearch:
Internet Search:

www.WHAK.com

www.MAKE-A-MEME.com
www.HolyBibleVerse.com

www.SignGenerator.org

www.MedChecker.com

www.SeekFreak.com

www.Syncrisis.com

www.Presearcher.com

www.SirSeek.com

www.FotoTrix.com

www.BoobSigns.com

www.Canuckster.com

me.ddleso.me

www.9lbs.com

www.TXT2PIC.com

www.FakeMagazineCover.com

www.Trollize.com

www.FanSignGenerator.com

www.Holy-Bibles.org

www.Is-A-Jerk.com

www.HolyBibleSearch.com
www.SillyWebcam.com
www.SillyScenes.com
www.Seekerific.com
www.Nerdful.com
www.BodySwitcher.com
www.13KG.com
www.SpareSomeChange.com
www.FloppyApps.com
www.MaxSpider.com
www.ChatPhobia.com
www.SirSeek.com
www.HappyFaceGenerator.com
www.DangerSignGenerator.com
HolyBiblesSearch:
Internet Search:

www.WHAK.com

www.MAKE-A-MEME.com
www.HolyBibleVerse.com

www.SignGenerator.org

www.MedChecker.com

www.SeekFreak.com

www.Syncrisis.com

www.Presearcher.com

www.SirSeek.com

www.FotoTrix.com

www.BoobSigns.com

www.Canuckster.com

me.ddleso.me

www.9lbs.com

www.TXT2PIC.com

www.FakeMagazineCover.com

www.Trollize.com

www.FanSignGenerator.com

www.Holy-Bibles.org

www.Is-A-Jerk.com

www.HolyBibleSearch.com
www.SillyWebcam.com
www.SillyScenes.com
www.Seekerific.com
www.Nerdful.com
www.BodySwitcher.com
www.13KG.com
www.SpareSomeChange.com
www.FloppyApps.com
www.MaxSpider.com
www.ChatPhobia.com
www.SirSeek.com
www.HappyFaceGenerator.com
www.DangerSignGenerator.com
HolyBiblesSearch:
Internet Search:

www.WHAK.com

www.MAKE-A-MEME.com
www.HolyBibleVerse.com

www.SignGenerator.org

www.MedChecker.com

www.SeekFreak.com

www.Syncrisis.com

www.Presearcher.com

www.SirSeek.com

www.FotoTrix.com

www.BoobSigns.com

www.Canuckster.com

me.ddleso.me

www.9lbs.com

www.TXT2PIC.com

www.FakeMagazineCover.com

www.Trollize.com

www.FanSignGenerator.com

www.Holy-Bibles.org

www.Is-A-Jerk.com

www.HolyBibleSearch.com
www.SillyWebcam.com
www.SillyScenes.com
www.Seekerific.com
www.Nerdful.com
www.BodySwitcher.com
www.13KG.com
www.SpareSomeChange.com
www.FloppyApps.com
www.MaxSpider.com
www.ChatPhobia.com
www.SirSeek.com
www.HappyFaceGenerator.com
www.DangerSignGenerator.com
HolyBiblesSearch:
Internet Search:

www.WHAK.com

www.MAKE-A-MEME.com
www.HolyBibleVerse.com

www.SignGenerator.org

www.MedChecker.com

www.SeekFreak.com

www.Syncrisis.com

www.Presearcher.com

www.SirSeek.com

www.FotoTrix.com

www.BoobSigns.com

www.Canuckster.com

me.ddleso.me

www.9lbs.com

www.TXT2PIC.com

www.FakeMagazineCover.com

www.Trollize.com

www.FanSignGenerator.com

www.Holy-Bibles.org

www.Is-A-Jerk.com

www.HolyBibleSearch.com
www.SillyWebcam.com
www.SillyScenes.com
www.Seekerific.com
www.Nerdful.com
www.BodySwitcher.com
www.13KG.com
www.SpareSomeChange.com
www.FloppyApps.com
www.MaxSpider.com
www.ChatPhobia.com
www.SirSeek.com
www.HappyFaceGenerator.com
www.DangerSignGenerator.com
HolyBiblesSearch:
Internet Search:

www.WHAK.com

www.MAKE-A-MEME.com
www.HolyBibleVerse.com

www.SignGenerator.org

www.MedChecker.com

www.SeekFreak.com

www.Syncrisis.com

www.Presearcher.com

www.SirSeek.com

www.FotoTrix.com

www.BoobSigns.com

www.Canuckster.com

me.ddleso.me

www.9lbs.com

www.TXT2PIC.com

www.FakeMagazineCover.com

www.Trollize.com

www.FanSignGenerator.com

www.Holy-Bibles.org

www.Is-A-Jerk.com

www.HolyBibleSearch.com
www.SillyWebcam.com
www.SillyScenes.com
www.Seekerific.com
www.Nerdful.com
www.BodySwitcher.com
www.13KG.com
www.SpareSomeChange.com
www.FloppyApps.com
www.MaxSpider.com
www.ChatPhobia.com
www.SirSeek.com
www.HappyFaceGenerator.com
www.DangerSignGenerator.com
HolyBiblesSearch:
Internet Search:

www.WHAK.com

www.MAKE-A-MEME.com
www.HolyBibleVerse.com

www.SignGenerator.org

www.MedChecker.com

www.SeekFreak.com

www.Syncrisis.com

www.Presearcher.com

www.SirSeek.com

www.FotoTrix.com

www.BoobSigns.com

www.Canuckster.com

me.ddleso.me

www.9lbs.com

www.TXT2PIC.com

www.FakeMagazineCover.com

www.Trollize.com

www.FanSignGenerator.com

www.Holy-Bibles.org

www.Is-A-Jerk.com

www.HolyBibleSearch.com
www.SillyWebcam.com
www.SillyScenes.com
www.Seekerific.com
www.Nerdful.com
www.BodySwitcher.com
www.13KG.com
www.SpareSomeChange.com
www.FloppyApps.com
www.MaxSpider.com
www.ChatPhobia.com
www.SirSeek.com
www.HappyFaceGenerator.com
www.DangerSignGenerator.com
HolyBiblesSearch:
Internet Search:

www.WHAK.com

www.MAKE-A-MEME.com
www.HolyBibleVerse.com

www.SignGenerator.org

www.MedChecker.com

www.SeekFreak.com

www.Syncrisis.com

www.Presearcher.com

www.SirSeek.com

www.FotoTrix.com

www.BoobSigns.com

www.Canuckster.com

me.ddleso.me

www.9lbs.com

www.TXT2PIC.com

www.FakeMagazineCover.com

www.Trollize.com

www.FanSignGenerator.com

www.Holy-Bibles.org

www.Is-A-Jerk.com

www.HolyBibleSearch.com
www.SillyWebcam.com
www.SillyScenes.com
www.Seekerific.com
www.Nerdful.com
www.BodySwitcher.com
www.13KG.com
www.SpareSomeChange.com
www.FloppyApps.com
www.MaxSpider.com
www.ChatPhobia.com
www.SirSeek.com
www.HappyFaceGenerator.com
www.DangerSignGenerator.com
HolyBiblesSearch:
Internet Search:

www.WHAK.com

www.MAKE-A-MEME.com
www.HolyBibleVerse.com

www.SignGenerator.org

www.MedChecker.com

www.SeekFreak.com

www.Syncrisis.com

www.Presearcher.com

www.SirSeek.com

www.FotoTrix.com

www.BoobSigns.com

www.Canuckster.com

me.ddleso.me

www.9lbs.com

www.TXT2PIC.com

www.FakeMagazineCover.com

www.Trollize.com

www.FanSignGenerator.com

www.Holy-Bibles.org

www.Is-A-Jerk.com

www.HolyBibleSearch.com
www.SillyWebcam.com
www.SillyScenes.com
www.Seekerific.com
www.Nerdful.com
www.BodySwitcher.com
www.13KG.com
www.SpareSomeChange.com
www.FloppyApps.com
www.MaxSpider.com
www.ChatPhobia.com
www.SirSeek.com
www.HappyFaceGenerator.com
www.DangerSignGenerator.com
HolyBiblesSearch:
Internet Search:

www.WHAK.com

www.MAKE-A-MEME.com
www.HolyBibleVerse.com

www.SignGenerator.org

www.MedChecker.com

www.SeekFreak.com

www.Syncrisis.com

www.Presearcher.com

www.SirSeek.com

www.FotoTrix.com

www.BoobSigns.com

www.Canuckster.com

me.ddleso.me

www.9lbs.com

www.TXT2PIC.com

www.FakeMagazineCover.com

www.Trollize.com

www.FanSignGenerator.com

www.Holy-Bibles.org

www.Is-A-Jerk.com

www.HolyBibleSearch.com
www.SillyWebcam.com
www.SillyScenes.com
www.Seekerific.com
www.Nerdful.com
www.BodySwitcher.com
www.13KG.com
www.SpareSomeChange.com
www.FloppyApps.com
www.MaxSpider.com
www.ChatPhobia.com
www.SirSeek.com
www.HappyFaceGenerator.com
www.DangerSignGenerator.com
HolyBiblesSearch:
Internet Search:

www.WHAK.com

www.MAKE-A-MEME.com
www.HolyBibleVerse.com

www.SignGenerator.org

www.MedChecker.com

www.SeekFreak.com

www.Syncrisis.com

www.Presearcher.com

www.SirSeek.com

www.FotoTrix.com

www.BoobSigns.com

www.Canuckster.com

me.ddleso.me

www.9lbs.com

www.TXT2PIC.com

www.FakeMagazineCover.com

www.Trollize.com

www.FanSignGenerator.com

www.Holy-Bibles.org

www.Is-A-Jerk.com

www.HolyBibleSearch.com
www.SillyWebcam.com
www.SillyScenes.com
www.Seekerific.com
www.Nerdful.com
www.BodySwitcher.com
www.13KG.com
www.SpareSomeChange.com
www.FloppyApps.com
www.MaxSpider.com
www.ChatPhobia.com
www.SirSeek.com
www.HappyFaceGenerator.com
www.DangerSignGenerator.com
HolyBiblesSearch:
Internet Search:

www.WHAK.com

www.MAKE-A-MEME.com
www.HolyBibleVerse.com

www.SignGenerator.org

www.MedChecker.com

www.SeekFreak.com

www.Syncrisis.com

www.Presearcher.com

www.SirSeek.com

www.FotoTrix.com

www.BoobSigns.com

www.Canuckster.com

me.ddleso.me

www.9lbs.com

www.TXT2PIC.com

www.FakeMagazineCover.com

www.Trollize.com

www.FanSignGenerator.com

www.Holy-Bibles.org

www.Is-A-Jerk.com

www.HolyBibleSearch.com
www.SillyWebcam.com
www.SillyScenes.com
www.Seekerific.com
www.Nerdful.com
www.BodySwitcher.com
www.13KG.com
www.SpareSomeChange.com
www.FloppyApps.com
www.MaxSpider.com
www.ChatPhobia.com
www.SirSeek.com
www.HappyFaceGenerator.com
www.DangerSignGenerator.com
HolyBiblesSearch:
Internet Search:

www.WHAK.com

www.MAKE-A-MEME.com
www.HolyBibleVerse.com

www.SignGenerator.org

www.MedChecker.com

www.SeekFreak.com

www.Syncrisis.com

www.Presearcher.com

www.SirSeek.com

www.FotoTrix.com

www.BoobSigns.com

www.Canuckster.com

me.ddleso.me

www.9lbs.com

www.TXT2PIC.com

www.FakeMagazineCover.com

www.Trollize.com

www.FanSignGenerator.com

www.Holy-Bibles.org

www.Is-A-Jerk.com

www.HolyBibleSearch.com
www.SillyWebcam.com
www.SillyScenes.com
www.Seekerific.com
www.Nerdful.com
www.BodySwitcher.com
www.13KG.com
www.SpareSomeChange.com
www.FloppyApps.com
www.MaxSpider.com
www.ChatPhobia.com
www.SirSeek.com
www.HappyFaceGenerator.com
www.DangerSignGenerator.com
HolyBiblesSearch:
Internet Search:

www.WHAK.com

www.MAKE-A-MEME.com
www.HolyBibleVerse.com

www.SignGenerator.org

www.MedChecker.com

www.SeekFreak.com

www.Syncrisis.com

www.Presearcher.com

www.SirSeek.com

www.FotoTrix.com

www.BoobSigns.com

www.Canuckster.com

me.ddleso.me

www.9lbs.com

www.TXT2PIC.com

www.FakeMagazineCover.com

www.Trollize.com

www.FanSignGenerator.com

www.Holy-Bibles.org

www.Is-A-Jerk.com

www.HolyBibleSearch.com
www.SillyWebcam.com
www.SillyScenes.com
www.Seekerific.com
www.Nerdful.com
www.BodySwitcher.com
www.13KG.com
www.SpareSomeChange.com
www.FloppyApps.com
www.MaxSpider.com
www.ChatPhobia.com
www.SirSeek.com
www.HappyFaceGenerator.com
www.DangerSignGenerator.com
HolyBiblesSearch:
Internet Search:

www.WHAK.com

www.MAKE-A-MEME.com
www.HolyBibleVerse.com

www.SignGenerator.org

www.MedChecker.com

www.SeekFreak.com

www.Syncrisis.com

www.Presearcher.com

www.SirSeek.com

www.FotoTrix.com

www.BoobSigns.com

www.Canuckster.com

me.ddleso.me

www.9lbs.com

www.TXT2PIC.com

www.FakeMagazineCover.com

www.Trollize.com

www.FanSignGenerator.com

www.Holy-Bibles.org

www.Is-A-Jerk.com

www.HolyBibleSearch.com
www.SillyWebcam.com
www.SillyScenes.com
www.Seekerific.com
www.Nerdful.com
www.BodySwitcher.com
www.13KG.com
www.SpareSomeChange.com
www.FloppyApps.com
www.MaxSpider.com
www.ChatPhobia.com
www.SirSeek.com
www.HappyFaceGenerator.com
www.DangerSignGenerator.com
HolyBiblesSearch:
Internet Search:

www.WHAK.com

www.MAKE-A-MEME.com
www.HolyBibleVerse.com

www.SignGenerator.org

www.MedChecker.com

www.SeekFreak.com

www.Syncrisis.com

www.Presearcher.com

www.SirSeek.com

www.FotoTrix.com

www.BoobSigns.com

www.Canuckster.com

me.ddleso.me

www.9lbs.com

www.TXT2PIC.com

www.FakeMagazineCover.com

www.Trollize.com

www.FanSignGenerator.com

www.Holy-Bibles.org

www.Is-A-Jerk.com

www.HolyBibleSearch.com
www.SillyWebcam.com
www.SillyScenes.com
www.Seekerific.com
www.Nerdful.com
www.BodySwitcher.com
www.13KG.com
www.SpareSomeChange.com
www.FloppyApps.com
www.MaxSpider.com
www.ChatPhobia.com
www.SirSeek.com
www.HappyFaceGenerator.com
www.DangerSignGenerator.com
HolyBiblesSearch:
Internet Search:

www.WHAK.com

www.MAKE-A-MEME.com
www.HolyBibleVerse.com

www.SignGenerator.org

www.MedChecker.com

www.SeekFreak.com

www.Syncrisis.com

www.Presearcher.com

www.SirSeek.com

www.FotoTrix.com

www.BoobSigns.com

www.Canuckster.com

me.ddleso.me

www.9lbs.com

www.TXT2PIC.com

www.FakeMagazineCover.com

www.Trollize.com

www.FanSignGenerator.com

www.Holy-Bibles.org

www.Is-A-Jerk.com

www.HolyBibleSearch.com
www.SillyWebcam.com
www.SillyScenes.com
www.Seekerific.com
www.Nerdful.com
www.BodySwitcher.com
www.13KG.com
www.SpareSomeChange.com
www.FloppyApps.com
www.MaxSpider.com
www.ChatPhobia.com
www.SirSeek.com
www.HappyFaceGenerator.com
www.DangerSignGenerator.com
HolyBiblesSearch:
Internet Search:

www.WHAK.com

www.MAKE-A-MEME.com
www.HolyBibleVerse.com

www.SignGenerator.org

www.MedChecker.com

www.SeekFreak.com

www.Syncrisis.com

www.Presearcher.com

www.SirSeek.com

www.FotoTrix.com

www.BoobSigns.com

www.Canuckster.com

me.ddleso.me

www.9lbs.com

www.TXT2PIC.com

www.FakeMagazineCover.com

www.Trollize.com

www.FanSignGenerator.com

www.Holy-Bibles.org

www.Is-A-Jerk.com

www.HolyBibleSearch.com
www.SillyWebcam.com
www.SillyScenes.com
www.Seekerific.com
www.Nerdful.com
www.BodySwitcher.com
www.13KG.com
www.SpareSomeChange.com
www.FloppyApps.com
www.MaxSpider.com
www.ChatPhobia.com
www.SirSeek.com
www.HappyFaceGenerator.com
www.DangerSignGenerator.com
HolyBiblesSearch:
Internet Search:

www.WHAK.com

www.MAKE-A-MEME.com
www.HolyBibleVerse.com

www.SignGenerator.org

www.MedChecker.com

www.SeekFreak.com

www.Syncrisis.com

www.Presearcher.com

www.SirSeek.com

www.FotoTrix.com

www.BoobSigns.com

www.Canuckster.com

me.ddleso.me

www.9lbs.com

www.TXT2PIC.com

www.FakeMagazineCover.com

www.Trollize.com

www.FanSignGenerator.com

www.Holy-Bibles.org

www.Is-A-Jerk.com

www.HolyBibleSearch.com
www.SillyWebcam.com
www.SillyScenes.com
www.Seekerific.com
www.Nerdful.com
www.BodySwitcher.com
www.13KG.com
www.SpareSomeChange.com
www.FloppyApps.com
www.MaxSpider.com
www.ChatPhobia.com
www.SirSeek.com
www.HappyFaceGenerator.com
www.DangerSignGenerator.com
HolyBiblesSearch:
Internet Search:

www.WHAK.com

www.MAKE-A-MEME.com
www.HolyBibleVerse.com

www.SignGenerator.org

www.MedChecker.com

www.SeekFreak.com

www.Syncrisis.com

www.Presearcher.com

www.SirSeek.com

www.FotoTrix.com

www.BoobSigns.com

www.Canuckster.com

me.ddleso.me

www.9lbs.com

www.TXT2PIC.com

www.FakeMagazineCover.com

www.Trollize.com

www.FanSignGenerator.com

www.Holy-Bibles.org

www.Is-A-Jerk.com

www.HolyBibleSearch.com
www.SillyWebcam.com
www.SillyScenes.com
www.Seekerific.com
www.Nerdful.com
www.BodySwitcher.com
www.13KG.com
www.SpareSomeChange.com
www.FloppyApps.com
www.MaxSpider.com
www.ChatPhobia.com
www.SirSeek.com
www.HappyFaceGenerator.com
www.DangerSignGenerator.com
HolyBiblesSearch:
Internet Search:

www.WHAK.com

www.MAKE-A-MEME.com
www.HolyBibleVerse.com

www.SignGenerator.org

www.MedChecker.com

www.SeekFreak.com

www.Syncrisis.com

www.Presearcher.com

www.SirSeek.com

www.FotoTrix.com

www.BoobSigns.com

www.Canuckster.com

me.ddleso.me

www.9lbs.com

www.TXT2PIC.com

www.FakeMagazineCover.com

www.Trollize.com

www.FanSignGenerator.com

www.Holy-Bibles.org

www.Is-A-Jerk.com

www.HolyBibleSearch.com
www.SillyWebcam.com
www.SillyScenes.com
www.Seekerific.com
www.Nerdful.com
www.BodySwitcher.com
www.13KG.com
www.SpareSomeChange.com
www.FloppyApps.com
www.MaxSpider.com
www.ChatPhobia.com
www.SirSeek.com
www.HappyFaceGenerator.com
www.DangerSignGenerator.com
HolyBiblesSearch:
Internet Search:

www.WHAK.com

www.MAKE-A-MEME.com
www.HolyBibleVerse.com

www.SignGenerator.org

www.MedChecker.com

www.SeekFreak.com

www.Syncrisis.com

www.Presearcher.com

www.SirSeek.com

www.FotoTrix.com

www.BoobSigns.com

www.Canuckster.com

me.ddleso.me

www.9lbs.com

www.TXT2PIC.com

www.FakeMagazineCover.com

www.Trollize.com

www.FanSignGenerator.com

www.Holy-Bibles.org

www.Is-A-Jerk.com

www.HolyBibleSearch.com
www.SillyWebcam.com
www.SillyScenes.com
www.Seekerific.com
www.Nerdful.com
www.BodySwitcher.com
www.13KG.com
www.SpareSomeChange.com
www.FloppyApps.com
www.MaxSpider.com
www.ChatPhobia.com
www.SirSeek.com
www.HappyFaceGenerator.com
www.DangerSignGenerator.com
HolyBiblesSearch:
Internet Search:

www.WHAK.com

www.MAKE-A-MEME.com
www.HolyBibleVerse.com

www.SignGenerator.org

www.MedChecker.com

www.SeekFreak.com

www.Syncrisis.com

www.Presearcher.com

www.SirSeek.com

www.FotoTrix.com

www.BoobSigns.com

www.Canuckster.com

me.ddleso.me

www.9lbs.com

www.TXT2PIC.com

www.FakeMagazineCover.com

www.Trollize.com

www.FanSignGenerator.com

www.Holy-Bibles.org

www.Is-A-Jerk.com

www.HolyBibleSearch.com
www.SillyWebcam.com
www.SillyScenes.com
www.Seekerific.com
www.Nerdful.com
www.BodySwitcher.com
www.13KG.com
www.SpareSomeChange.com
www.FloppyApps.com
www.MaxSpider.com
www.ChatPhobia.com
www.SirSeek.com
www.HappyFaceGenerator.com
www.DangerSignGenerator.com
HolyBiblesSearch:
Internet Search:

www.WHAK.com

www.MAKE-A-MEME.com
www.HolyBibleVerse.com

www.SignGenerator.org

www.MedChecker.com

www.SeekFreak.com

www.Syncrisis.com

www.Presearcher.com

www.SirSeek.com

www.FotoTrix.com

www.BoobSigns.com

www.Canuckster.com

me.ddleso.me

www.9lbs.com

www.TXT2PIC.com

www.FakeMagazineCover.com

www.Trollize.com

www.FanSignGenerator.com

www.Holy-Bibles.org

www.Is-A-Jerk.com

www.HolyBibleSearch.com
www.SillyWebcam.com
www.SillyScenes.com
www.Seekerific.com
www.Nerdful.com
www.BodySwitcher.com
www.13KG.com
www.SpareSomeChange.com
www.FloppyApps.com
www.MaxSpider.com
www.ChatPhobia.com
www.SirSeek.com
www.HappyFaceGenerator.com
www.DangerSignGenerator.com
HolyBiblesSearch:
Internet Search:

www.WHAK.com

www.MAKE-A-MEME.com
www.HolyBibleVerse.com

www.SignGenerator.org

www.MedChecker.com

www.SeekFreak.com

www.Syncrisis.com

www.Presearcher.com

www.SirSeek.com

www.FotoTrix.com

www.BoobSigns.com

www.Canuckster.com

me.ddleso.me

www.9lbs.com

www.TXT2PIC.com

www.FakeMagazineCover.com

www.Trollize.com

www.FanSignGenerator.com

www.Holy-Bibles.org

www.Is-A-Jerk.com

www.HolyBibleSearch.com
www.SillyWebcam.com
www.SillyScenes.com
www.Seekerific.com
www.Nerdful.com
www.BodySwitcher.com
www.13KG.com
www.SpareSomeChange.com
www.FloppyApps.com
www.MaxSpider.com
www.ChatPhobia.com
www.SirSeek.com
www.HappyFaceGenerator.com
www.DangerSignGenerator.com
HolyBiblesSearch:
Internet Search:

www.WHAK.com

www.MAKE-A-MEME.com
www.HolyBibleVerse.com

www.SignGenerator.org

www.MedChecker.com

www.SeekFreak.com

www.Syncrisis.com

www.Presearcher.com

www.SirSeek.com

www.FotoTrix.com

www.BoobSigns.com

www.Canuckster.com

me.ddleso.me

www.9lbs.com

www.TXT2PIC.com

www.FakeMagazineCover.com

www.Trollize.com

www.FanSignGenerator.com

www.Holy-Bibles.org

www.Is-A-Jerk.com

www.HolyBibleSearch.com
www.SillyWebcam.com
www.SillyScenes.com
www.Seekerific.com
www.Nerdful.com
www.BodySwitcher.com
www.13KG.com
www.SpareSomeChange.com
www.FloppyApps.com
www.MaxSpider.com
www.ChatPhobia.com
www.SirSeek.com
www.HappyFaceGenerator.com
www.DangerSignGenerator.com
HolyBiblesSearch:
Internet Search:

www.WHAK.com

www.MAKE-A-MEME.com
www.HolyBibleVerse.com

www.SignGenerator.org

www.MedChecker.com

www.SeekFreak.com

www.Syncrisis.com

www.Presearcher.com

www.SirSeek.com

www.FotoTrix.com

www.BoobSigns.com

www.Canuckster.com

me.ddleso.me

www.9lbs.com

www.TXT2PIC.com

www.FakeMagazineCover.com

www.Trollize.com

www.FanSignGenerator.com

www.Holy-Bibles.org

www.Is-A-Jerk.com

www.HolyBibleSearch.com
www.SillyWebcam.com
www.SillyScenes.com
www.Seekerific.com
www.Nerdful.com
www.BodySwitcher.com
www.13KG.com
www.SpareSomeChange.com
www.FloppyApps.com
www.MaxSpider.com
www.ChatPhobia.com
www.SirSeek.com
www.HappyFaceGenerator.com
www.DangerSignGenerator.com
HolyBiblesSearch:
Internet Search:

www.WHAK.com

www.MAKE-A-MEME.com
www.HolyBibleVerse.com

www.SignGenerator.org

www.MedChecker.com

www.SeekFreak.com

www.Syncrisis.com

www.Presearcher.com

www.SirSeek.com

www.FotoTrix.com

www.BoobSigns.com

www.Canuckster.com

me.ddleso.me

www.9lbs.com

www.TXT2PIC.com

www.FakeMagazineCover.com

www.Trollize.com

www.FanSignGenerator.com

www.Holy-Bibles.org

www.Is-A-Jerk.com

www.HolyBibleSearch.com
www.SillyWebcam.com
www.SillyScenes.com
www.Seekerific.com
www.Nerdful.com
www.BodySwitcher.com
www.13KG.com
www.SpareSomeChange.com
www.FloppyApps.com
www.MaxSpider.com
www.ChatPhobia.com
www.SirSeek.com
www.HappyFaceGenerator.com
www.DangerSignGenerator.com
HolyBiblesSearch:
Internet Search:

www.WHAK.com

www.MAKE-A-MEME.com
www.HolyBibleVerse.com

www.SignGenerator.org

www.MedChecker.com

www.SeekFreak.com

www.Syncrisis.com

www.Presearcher.com

www.SirSeek.com

www.FotoTrix.com

www.BoobSigns.com

www.Canuckster.com

me.ddleso.me

www.9lbs.com

www.TXT2PIC.com

www.FakeMagazineCover.com

www.Trollize.com

www.FanSignGenerator.com

www.Holy-Bibles.org

www.Is-A-Jerk.com

www.HolyBibleSearch.com
www.SillyWebcam.com
www.SillyScenes.com
www.Seekerific.com
www.Nerdful.com
www.BodySwitcher.com
www.13KG.com
www.SpareSomeChange.com
www.FloppyApps.com
www.MaxSpider.com
www.ChatPhobia.com
www.SirSeek.com
www.HappyFaceGenerator.com
www.DangerSignGenerator.com
HolyBiblesSearch:
Internet Search:

www.WHAK.com

www.MAKE-A-MEME.com
www.HolyBibleVerse.com

www.SignGenerator.org

www.MedChecker.com

www.SeekFreak.com

www.Syncrisis.com

www.Presearcher.com

www.SirSeek.com

www.FotoTrix.com

www.BoobSigns.com

www.Canuckster.com

me.ddleso.me

www.9lbs.com

www.TXT2PIC.com

www.FakeMagazineCover.com

www.Trollize.com

www.FanSignGenerator.com

www.Holy-Bibles.org

www.Is-A-Jerk.com

www.HolyBibleSearch.com
www.SillyWebcam.com
www.SillyScenes.com
www.Seekerific.com
www.Nerdful.com
www.BodySwitcher.com
www.13KG.com
www.SpareSomeChange.com
www.FloppyApps.com
www.MaxSpider.com
www.ChatPhobia.com
www.SirSeek.com
www.HappyFaceGenerator.com
www.DangerSignGenerator.com
HolyBiblesSearch:
Internet Search:

www.WHAK.com

www.MAKE-A-MEME.com
www.HolyBibleVerse.com

www.SignGenerator.org

www.MedChecker.com

www.SeekFreak.com

www.Syncrisis.com

www.Presearcher.com

www.SirSeek.com

www.FotoTrix.com

www.BoobSigns.com

www.Canuckster.com

me.ddleso.me

www.9lbs.com

www.TXT2PIC.com

www.FakeMagazineCover.com

www.Trollize.com

www.FanSignGenerator.com

www.Holy-Bibles.org

www.Is-A-Jerk.com

www.HolyBibleSearch.com
www.SillyWebcam.com
www.SillyScenes.com
www.Seekerific.com
www.Nerdful.com
www.BodySwitcher.com
www.13KG.com
www.SpareSomeChange.com
www.FloppyApps.com
www.MaxSpider.com
www.ChatPhobia.com
www.SirSeek.com
www.HappyFaceGenerator.com
www.DangerSignGenerator.com
HolyBiblesSearch:
Internet Search:

www.WHAK.com

www.MAKE-A-MEME.com
www.HolyBibleVerse.com

www.SignGenerator.org

www.MedChecker.com

www.SeekFreak.com

www.Syncrisis.com

www.Presearcher.com

www.SirSeek.com

www.FotoTrix.com

www.BoobSigns.com

www.Canuckster.com

me.ddleso.me

www.9lbs.com

www.TXT2PIC.com

www.FakeMagazineCover.com

www.Trollize.com

www.FanSignGenerator.com

www.Holy-Bibles.org

www.Is-A-Jerk.com

www.HolyBibleSearch.com
www.SillyWebcam.com
www.SillyScenes.com
www.Seekerific.com
www.Nerdful.com
www.BodySwitcher.com
www.13KG.com
www.SpareSomeChange.com
www.FloppyApps.com
www.MaxSpider.com
www.ChatPhobia.com
www.SirSeek.com
www.HappyFaceGenerator.com
www.DangerSignGenerator.com
HolyBiblesSearch:
Internet Search:

www.WHAK.com

www.MAKE-A-MEME.com
www.HolyBibleVerse.com

www.SignGenerator.org

www.MedChecker.com

www.SeekFreak.com

www.Syncrisis.com

www.Presearcher.com

www.SirSeek.com

www.FotoTrix.com

www.BoobSigns.com

www.Canuckster.com

me.ddleso.me

www.9lbs.com

www.TXT2PIC.com

www.FakeMagazineCover.com

www.Trollize.com

www.FanSignGenerator.com

www.Holy-Bibles.org

www.Is-A-Jerk.com

www.HolyBibleSearch.com
www.SillyWebcam.com
www.SillyScenes.com
www.Seekerific.com
www.Nerdful.com
www.BodySwitcher.com
www.13KG.com
www.SpareSomeChange.com
www.FloppyApps.com
www.MaxSpider.com
www.ChatPhobia.com
www.SirSeek.com
www.HappyFaceGenerator.com
www.DangerSignGenerator.com
HolyBiblesSearch:
Internet Search:

www.WHAK.com

www.MAKE-A-MEME.com
www.HolyBibleVerse.com

www.SignGenerator.org

www.MedChecker.com

www.SeekFreak.com

www.Syncrisis.com

www.Presearcher.com

www.SirSeek.com

www.FotoTrix.com

www.BoobSigns.com

www.Canuckster.com

me.ddleso.me

www.9lbs.com

www.TXT2PIC.com

www.FakeMagazineCover.com

www.Trollize.com

www.FanSignGenerator.com

www.Holy-Bibles.org

www.Is-A-Jerk.com

www.HolyBibleSearch.com
www.SillyWebcam.com
www.SillyScenes.com
www.Seekerific.com
www.Nerdful.com
www.BodySwitcher.com
www.13KG.com
www.SpareSomeChange.com
www.FloppyApps.com
www.MaxSpider.com
www.ChatPhobia.com
www.SirSeek.com
www.HappyFaceGenerator.com
www.DangerSignGenerator.com
HolyBiblesSearch:
Internet Search:

www.WHAK.com

www.MAKE-A-MEME.com
www.HolyBibleVerse.com

www.SignGenerator.org

www.MedChecker.com

www.SeekFreak.com

www.Syncrisis.com

www.Presearcher.com

www.SirSeek.com

www.FotoTrix.com

www.BoobSigns.com

www.Canuckster.com

me.ddleso.me

www.9lbs.com

www.TXT2PIC.com

www.FakeMagazineCover.com

www.Trollize.com

www.FanSignGenerator.com

www.Holy-Bibles.org

www.Is-A-Jerk.com

www.HolyBibleSearch.com
www.SillyWebcam.com
www.SillyScenes.com
www.Seekerific.com
www.Nerdful.com
www.BodySwitcher.com
www.13KG.com
www.SpareSomeChange.com
www.FloppyApps.com
www.MaxSpider.com
www.ChatPhobia.com
www.SirSeek.com
www.HappyFaceGenerator.com
www.DangerSignGenerator.com
HolyBiblesSearch:
Internet Search:

www.WHAK.com

www.MAKE-A-MEME.com
www.HolyBibleVerse.com

www.SignGenerator.org

www.MedChecker.com

www.SeekFreak.com

www.Syncrisis.com

www.Presearcher.com

www.SirSeek.com

www.FotoTrix.com

www.BoobSigns.com

www.Canuckster.com

me.ddleso.me

www.9lbs.com

www.TXT2PIC.com

www.FakeMagazineCover.com

www.Trollize.com

www.FanSignGenerator.com

www.Holy-Bibles.org

www.Is-A-Jerk.com

www.HolyBibleSearch.com
www.SillyWebcam.com
www.SillyScenes.com
www.Seekerific.com
www.Nerdful.com
www.BodySwitcher.com
www.13KG.com
www.SpareSomeChange.com
www.FloppyApps.com
www.MaxSpider.com
www.ChatPhobia.com
www.SirSeek.com
www.HappyFaceGenerator.com
www.DangerSignGenerator.com
HolyBiblesSearch:
Internet Search:

www.WHAK.com

www.MAKE-A-MEME.com
www.HolyBibleVerse.com

www.SignGenerator.org

www.MedChecker.com

www.SeekFreak.com

www.Syncrisis.com

www.Presearcher.com

www.SirSeek.com

www.FotoTrix.com

www.BoobSigns.com

www.Canuckster.com

me.ddleso.me

www.9lbs.com

www.TXT2PIC.com

www.FakeMagazineCover.com

www.Trollize.com

www.FanSignGenerator.com

www.Holy-Bibles.org

www.Is-A-Jerk.com

www.HolyBibleSearch.com
www.SillyWebcam.com
www.SillyScenes.com
www.Seekerific.com
www.Nerdful.com
www.BodySwitcher.com
www.13KG.com
www.SpareSomeChange.com
www.FloppyApps.com
www.MaxSpider.com
www.ChatPhobia.com
www.SirSeek.com
www.HappyFaceGenerator.com
www.DangerSignGenerator.com
HolyBiblesSearch:
Internet Search:

www.WHAK.com

www.MAKE-A-MEME.com
www.HolyBibleVerse.com

www.SignGenerator.org

www.MedChecker.com

www.SeekFreak.com

www.Syncrisis.com

www.Presearcher.com

www.SirSeek.com

www.FotoTrix.com

www.BoobSigns.com

www.Canuckster.com

me.ddleso.me

www.9lbs.com

www.TXT2PIC.com

www.FakeMagazineCover.com

www.Trollize.com

www.FanSignGenerator.com

www.Holy-Bibles.org

www.Is-A-Jerk.com

www.HolyBibleSearch.com
www.SillyWebcam.com
www.SillyScenes.com
www.Seekerific.com
www.Nerdful.com
www.BodySwitcher.com
www.13KG.com
www.SpareSomeChange.com
www.FloppyApps.com
www.MaxSpider.com
www.ChatPhobia.com
www.SirSeek.com
www.HappyFaceGenerator.com
www.DangerSignGenerator.com
HolyBiblesSearch:
Internet Search:

www.WHAK.com

www.MAKE-A-MEME.com
www.HolyBibleVerse.com

www.SignGenerator.org

www.MedChecker.com

www.SeekFreak.com

www.Syncrisis.com

www.Presearcher.com

www.SirSeek.com

www.FotoTrix.com

www.BoobSigns.com

www.Canuckster.com

me.ddleso.me

www.9lbs.com

www.TXT2PIC.com

www.FakeMagazineCover.com

www.Trollize.com

www.FanSignGenerator.com

www.Holy-Bibles.org

www.Is-A-Jerk.com

www.HolyBibleSearch.com
www.SillyWebcam.com
www.SillyScenes.com
www.Seekerific.com
www.Nerdful.com
www.BodySwitcher.com
www.13KG.com
www.SpareSomeChange.com
www.FloppyApps.com
www.MaxSpider.com
www.ChatPhobia.com
www.SirSeek.com
www.HappyFaceGenerator.com
www.DangerSignGenerator.com
HolyBiblesSearch:
Internet Search:

www.WHAK.com

www.MAKE-A-MEME.com
www.HolyBibleVerse.com

www.SignGenerator.org

www.MedChecker.com

www.SeekFreak.com

www.Syncrisis.com

www.Presearcher.com

www.SirSeek.com

www.FotoTrix.com

www.BoobSigns.com

www.Canuckster.com

me.ddleso.me

www.9lbs.com

www.TXT2PIC.com

www.FakeMagazineCover.com

www.Trollize.com

www.FanSignGenerator.com

www.Holy-Bibles.org

www.Is-A-Jerk.com

www.HolyBibleSearch.com
www.SillyWebcam.com
www.SillyScenes.com
www.Seekerific.com
www.Nerdful.com
www.BodySwitcher.com
www.13KG.com
www.SpareSomeChange.com
www.FloppyApps.com
www.MaxSpider.com
www.ChatPhobia.com
www.SirSeek.com
www.HappyFaceGenerator.com
www.DangerSignGenerator.com
HolyBiblesSearch:
Internet Search:

www.WHAK.com

www.MAKE-A-MEME.com
www.HolyBibleVerse.com

www.SignGenerator.org

www.MedChecker.com

www.SeekFreak.com

www.Syncrisis.com

www.Presearcher.com

www.SirSeek.com

www.FotoTrix.com

www.BoobSigns.com

www.Canuckster.com

me.ddleso.me

www.9lbs.com

www.TXT2PIC.com

www.FakeMagazineCover.com

www.Trollize.com

www.FanSignGenerator.com

www.Holy-Bibles.org

www.Is-A-Jerk.com

www.HolyBibleSearch.com
www.SillyWebcam.com
www.SillyScenes.com
www.Seekerific.com
www.Nerdful.com
www.BodySwitcher.com
www.13KG.com
www.SpareSomeChange.com
www.FloppyApps.com
www.MaxSpider.com
www.ChatPhobia.com
www.SirSeek.com
www.HappyFaceGenerator.com
www.DangerSignGenerator.com
HolyBiblesSearch:
Internet Search:

www.WHAK.com

www.MAKE-A-MEME.com
www.HolyBibleVerse.com

www.SignGenerator.org

www.MedChecker.com

www.SeekFreak.com

www.Syncrisis.com

www.Presearcher.com

www.SirSeek.com

www.FotoTrix.com

www.BoobSigns.com

www.Canuckster.com

me.ddleso.me

www.9lbs.com

www.TXT2PIC.com

www.FakeMagazineCover.com

www.Trollize.com

www.FanSignGenerator.com

www.Holy-Bibles.org

www.Is-A-Jerk.com

www.HolyBibleSearch.com
www.SillyWebcam.com
www.SillyScenes.com
www.Seekerific.com
www.Nerdful.com
www.BodySwitcher.com
www.13KG.com
www.SpareSomeChange.com
www.FloppyApps.com
www.MaxSpider.com
www.ChatPhobia.com
www.SirSeek.com
www.HappyFaceGenerator.com
www.DangerSignGenerator.com
HolyBiblesSearch:
Internet Search:

www.WHAK.com

www.MAKE-A-MEME.com
www.HolyBibleVerse.com

www.SignGenerator.org

www.MedChecker.com

www.SeekFreak.com

www.Syncrisis.com

www.Presearcher.com

www.SirSeek.com

www.FotoTrix.com

www.BoobSigns.com

www.Canuckster.com

me.ddleso.me

www.9lbs.com

www.TXT2PIC.com

www.FakeMagazineCover.com

www.Trollize.com

www.FanSignGenerator.com

www.Holy-Bibles.org

www.Is-A-Jerk.com

www.HolyBibleSearch.com
www.SillyWebcam.com
www.SillyScenes.com
www.Seekerific.com
www.Nerdful.com
www.BodySwitcher.com
www.13KG.com
www.SpareSomeChange.com
www.FloppyApps.com
www.MaxSpider.com
www.ChatPhobia.com
www.SirSeek.com
www.HappyFaceGenerator.com
www.DangerSignGenerator.com
HolyBiblesSearch:
Internet Search:

www.WHAK.com

www.MAKE-A-MEME.com
www.HolyBibleVerse.com

www.SignGenerator.org

www.MedChecker.com

www.SeekFreak.com

www.Syncrisis.com

www.Presearcher.com

www.SirSeek.com

www.FotoTrix.com

www.BoobSigns.com

www.Canuckster.com

me.ddleso.me

www.9lbs.com

www.TXT2PIC.com

www.FakeMagazineCover.com

www.Trollize.com

www.FanSignGenerator.com

www.Holy-Bibles.org

www.Is-A-Jerk.com

www.HolyBibleSearch.com
www.SillyWebcam.com
www.SillyScenes.com
www.Seekerific.com
www.Nerdful.com
www.BodySwitcher.com
www.13KG.com
www.SpareSomeChange.com
www.FloppyApps.com
www.MaxSpider.com
www.ChatPhobia.com
www.SirSeek.com
www.HappyFaceGenerator.com
www.DangerSignGenerator.com
HolyBiblesSearch:
Internet Search:

www.WHAK.com

www.MAKE-A-MEME.com
www.HolyBibleVerse.com

www.SignGenerator.org

www.MedChecker.com

www.SeekFreak.com

www.Syncrisis.com

www.Presearcher.com

www.SirSeek.com

www.FotoTrix.com

www.BoobSigns.com

www.Canuckster.com

me.ddleso.me

www.9lbs.com

www.TXT2PIC.com

www.FakeMagazineCover.com

www.Trollize.com

www.FanSignGenerator.com

www.Holy-Bibles.org

www.Is-A-Jerk.com

www.HolyBibleSearch.com
www.SillyWebcam.com
www.SillyScenes.com
www.Seekerific.com
www.Nerdful.com
www.BodySwitcher.com
www.13KG.com
www.SpareSomeChange.com
www.FloppyApps.com
www.MaxSpider.com
www.ChatPhobia.com
www.SirSeek.com
www.HappyFaceGenerator.com
www.DangerSignGenerator.com
HolyBiblesSearch:
Internet Search:

www.WHAK.com

www.MAKE-A-MEME.com
www.HolyBibleVerse.com

www.SignGenerator.org

www.MedChecker.com

www.SeekFreak.com

www.Syncrisis.com

www.Presearcher.com

www.SirSeek.com

www.FotoTrix.com

www.BoobSigns.com

www.Canuckster.com

me.ddleso.me

www.9lbs.com

www.TXT2PIC.com

www.FakeMagazineCover.com

www.Trollize.com

www.FanSignGenerator.com

www.Holy-Bibles.org

www.Is-A-Jerk.com

www.HolyBibleSearch.com
www.SillyWebcam.com
www.SillyScenes.com
www.Seekerific.com
www.Nerdful.com
www.BodySwitcher.com
www.13KG.com
www.SpareSomeChange.com
www.FloppyApps.com
www.MaxSpider.com
www.ChatPhobia.com
www.SirSeek.com
www.HappyFaceGenerator.com
www.DangerSignGenerator.com
HolyBiblesSearch:
Internet Search:

www.WHAK.com

www.MAKE-A-MEME.com
www.HolyBibleVerse.com

www.SignGenerator.org

www.MedChecker.com

www.SeekFreak.com

www.Syncrisis.com

www.Presearcher.com

www.SirSeek.com

www.FotoTrix.com

www.BoobSigns.com

www.Canuckster.com

me.ddleso.me

www.9lbs.com

www.TXT2PIC.com

www.FakeMagazineCover.com

www.Trollize.com

www.FanSignGenerator.com

www.Holy-Bibles.org

www.Is-A-Jerk.com

www.HolyBibleSearch.com
www.SillyWebcam.com
www.SillyScenes.com
www.Seekerific.com
www.Nerdful.com
www.BodySwitcher.com
www.13KG.com
www.SpareSomeChange.com
www.FloppyApps.com
www.MaxSpider.com
www.ChatPhobia.com
www.SirSeek.com
www.HappyFaceGenerator.com
www.DangerSignGenerator.com
HolyBiblesSearch:
Internet Search:

www.WHAK.com

www.MAKE-A-MEME.com
www.HolyBibleVerse.com

www.SignGenerator.org

www.MedChecker.com

www.SeekFreak.com

www.Syncrisis.com

www.Presearcher.com

www.SirSeek.com

www.FotoTrix.com

www.BoobSigns.com

www.Canuckster.com

me.ddleso.me

www.9lbs.com

www.TXT2PIC.com

www.FakeMagazineCover.com

www.Trollize.com

www.FanSignGenerator.com

www.Holy-Bibles.org

www.Is-A-Jerk.com

www.HolyBibleSearch.com
www.SillyWebcam.com
www.SillyScenes.com
www.Seekerific.com
www.Nerdful.com
www.BodySwitcher.com
www.13KG.com
www.SpareSomeChange.com
www.FloppyApps.com
www.MaxSpider.com
www.ChatPhobia.com
www.SirSeek.com
www.HappyFaceGenerator.com
www.DangerSignGenerator.com
HolyBiblesSearch:
Internet Search:

www.WHAK.com

www.MAKE-A-MEME.com
www.HolyBibleVerse.com

www.SignGenerator.org

www.MedChecker.com

www.SeekFreak.com

www.Syncrisis.com

www.Presearcher.com

www.SirSeek.com

www.FotoTrix.com

www.BoobSigns.com

www.Canuckster.com

me.ddleso.me

www.9lbs.com

www.TXT2PIC.com

www.FakeMagazineCover.com

www.Trollize.com

www.FanSignGenerator.com

www.Holy-Bibles.org

www.Is-A-Jerk.com

www.HolyBibleSearch.com
www.SillyWebcam.com
www.SillyScenes.com
www.Seekerific.com
www.Nerdful.com
www.BodySwitcher.com
www.13KG.com
www.SpareSomeChange.com
www.FloppyApps.com
www.MaxSpider.com
www.ChatPhobia.com
www.SirSeek.com
www.HappyFaceGenerator.com
www.DangerSignGenerator.com
HolyBiblesSearch:
Internet Search:

www.WHAK.com

www.MAKE-A-MEME.com
www.HolyBibleVerse.com

www.SignGenerator.org

www.MedChecker.com

www.SeekFreak.com

www.Syncrisis.com

www.Presearcher.com

www.SirSeek.com

www.FotoTrix.com

www.BoobSigns.com

www.Canuckster.com

me.ddleso.me

www.9lbs.com

www.TXT2PIC.com

www.FakeMagazineCover.com

www.Trollize.com

www.FanSignGenerator.com

www.Holy-Bibles.org

www.Is-A-Jerk.com

www.HolyBibleSearch.com
www.SillyWebcam.com
www.SillyScenes.com
www.Seekerific.com
www.Nerdful.com
www.BodySwitcher.com
www.13KG.com
www.SpareSomeChange.com
www.FloppyApps.com
www.MaxSpider.com
www.ChatPhobia.com
www.SirSeek.com
www.HappyFaceGenerator.com
www.DangerSignGenerator.com
HolyBiblesSearch:
Internet Search:

www.WHAK.com

www.MAKE-A-MEME.com
www.HolyBibleVerse.com

www.SignGenerator.org

www.MedChecker.com

www.SeekFreak.com

www.Syncrisis.com

www.Presearcher.com

www.SirSeek.com

www.FotoTrix.com

www.BoobSigns.com

www.Canuckster.com

me.ddleso.me

www.9lbs.com

www.TXT2PIC.com

www.FakeMagazineCover.com

www.Trollize.com

www.FanSignGenerator.com

www.Holy-Bibles.org

www.Is-A-Jerk.com

www.HolyBibleSearch.com
www.SillyWebcam.com
www.SillyScenes.com
www.Seekerific.com
www.Nerdful.com
www.BodySwitcher.com
www.13KG.com
www.SpareSomeChange.com
www.FloppyApps.com
www.MaxSpider.com
www.ChatPhobia.com
www.SirSeek.com
www.HappyFaceGenerator.com
www.DangerSignGenerator.com
HolyBiblesSearch:
Internet Search:

www.WHAK.com

www.MAKE-A-MEME.com
www.HolyBibleVerse.com

www.SignGenerator.org

www.MedChecker.com

www.SeekFreak.com

www.Syncrisis.com

www.Presearcher.com

www.SirSeek.com

www.FotoTrix.com

www.BoobSigns.com

www.Canuckster.com

me.ddleso.me

www.9lbs.com

www.TXT2PIC.com

www.FakeMagazineCover.com

www.Trollize.com

www.FanSignGenerator.com

www.Holy-Bibles.org

www.Is-A-Jerk.com

www.HolyBibleSearch.com
www.SillyWebcam.com
www.SillyScenes.com
www.Seekerific.com
www.Nerdful.com
www.BodySwitcher.com
www.13KG.com
www.SpareSomeChange.com
www.FloppyApps.com
www.MaxSpider.com
www.ChatPhobia.com
www.SirSeek.com
www.HappyFaceGenerator.com
www.DangerSignGenerator.com
HolyBiblesSearch:
Internet Search:

www.WHAK.com

www.MAKE-A-MEME.com
www.HolyBibleVerse.com

www.SignGenerator.org

www.MedChecker.com

www.SeekFreak.com

www.Syncrisis.com

www.Presearcher.com

www.SirSeek.com

www.FotoTrix.com

www.BoobSigns.com

www.Canuckster.com

me.ddleso.me

www.9lbs.com

www.TXT2PIC.com

www.FakeMagazineCover.com

www.Trollize.com

www.FanSignGenerator.com

www.Holy-Bibles.org

www.Is-A-Jerk.com

www.HolyBibleSearch.com
www.SillyWebcam.com
www.SillyScenes.com
www.Seekerific.com
www.Nerdful.com
www.BodySwitcher.com
www.13KG.com
www.SpareSomeChange.com
www.FloppyApps.com
www.MaxSpider.com
www.ChatPhobia.com
www.SirSeek.com
www.HappyFaceGenerator.com
www.DangerSignGenerator.com
HolyBiblesSearch:
Internet Search:

www.WHAK.com

www.MAKE-A-MEME.com
www.HolyBibleVerse.com

www.SignGenerator.org

www.MedChecker.com

www.SeekFreak.com

www.Syncrisis.com

www.Presearcher.com

www.SirSeek.com

www.FotoTrix.com

www.BoobSigns.com

www.Canuckster.com

me.ddleso.me

www.9lbs.com

www.TXT2PIC.com

www.FakeMagazineCover.com

www.Trollize.com

www.FanSignGenerator.com

www.Holy-Bibles.org

www.Is-A-Jerk.com

www.HolyBibleSearch.com
www.SillyWebcam.com
www.SillyScenes.com
www.Seekerific.com
www.Nerdful.com
www.BodySwitcher.com
www.13KG.com
www.SpareSomeChange.com
www.FloppyApps.com
www.MaxSpider.com
www.ChatPhobia.com
www.SirSeek.com
www.HappyFaceGenerator.com
www.DangerSignGenerator.com
HolyBiblesSearch:
Internet Search:

www.WHAK.com

www.MAKE-A-MEME.com
www.HolyBibleVerse.com

www.SignGenerator.org

www.MedChecker.com

www.SeekFreak.com

www.Syncrisis.com

www.Presearcher.com

www.SirSeek.com

www.FotoTrix.com

www.BoobSigns.com

www.Canuckster.com

me.ddleso.me

www.9lbs.com

www.TXT2PIC.com

www.FakeMagazineCover.com

www.Trollize.com

www.FanSignGenerator.com

www.Holy-Bibles.org

www.Is-A-Jerk.com

www.HolyBibleSearch.com
www.SillyWebcam.com
www.SillyScenes.com
www.Seekerific.com
www.Nerdful.com
www.BodySwitcher.com
www.13KG.com
www.SpareSomeChange.com
www.FloppyApps.com
www.MaxSpider.com
www.ChatPhobia.com
www.SirSeek.com
www.HappyFaceGenerator.com
www.DangerSignGenerator.com
HolyBiblesSearch:
Internet Search:

www.WHAK.com

www.MAKE-A-MEME.com
www.HolyBibleVerse.com

www.SignGenerator.org

www.MedChecker.com

www.SeekFreak.com

www.Syncrisis.com

www.Presearcher.com

www.SirSeek.com

www.FotoTrix.com

www.BoobSigns.com

www.Canuckster.com

me.ddleso.me

www.9lbs.com

www.TXT2PIC.com

www.FakeMagazineCover.com

www.Trollize.com

www.FanSignGenerator.com

www.Holy-Bibles.org

www.Is-A-Jerk.com

www.HolyBibleSearch.com
www.SillyWebcam.com
www.SillyScenes.com
www.Seekerific.com
www.Nerdful.com
www.BodySwitcher.com
www.13KG.com
www.SpareSomeChange.com
www.FloppyApps.com
www.MaxSpider.com
www.ChatPhobia.com
www.SirSeek.com
www.HappyFaceGenerator.com
www.DangerSignGenerator.com
HolyBiblesSearch:
Internet Search:

www.WHAK.com

www.MAKE-A-MEME.com
www.HolyBibleVerse.com

www.SignGenerator.org

www.MedChecker.com

www.SeekFreak.com

www.Syncrisis.com

www.Presearcher.com

www.SirSeek.com

www.FotoTrix.com

www.BoobSigns.com

www.Canuckster.com

me.ddleso.me

www.9lbs.com

www.TXT2PIC.com

www.FakeMagazineCover.com

www.Trollize.com

www.FanSignGenerator.com

www.Holy-Bibles.org

www.Is-A-Jerk.com

www.HolyBibleSearch.com
www.SillyWebcam.com
www.SillyScenes.com
www.Seekerific.com
www.Nerdful.com
www.BodySwitcher.com
www.13KG.com
www.SpareSomeChange.com
www.FloppyApps.com
www.MaxSpider.com
www.ChatPhobia.com
www.SirSeek.com
www.HappyFaceGenerator.com
www.DangerSignGenerator.com
HolyBiblesSearch:
Internet Search:

www.WHAK.com

www.MAKE-A-MEME.com
www.HolyBibleVerse.com

www.SignGenerator.org

www.MedChecker.com

www.SeekFreak.com

www.Syncrisis.com

www.Presearcher.com

www.SirSeek.com

www.FotoTrix.com

www.BoobSigns.com

www.Canuckster.com

me.ddleso.me

www.9lbs.com

www.TXT2PIC.com

www.FakeMagazineCover.com

www.Trollize.com

www.FanSignGenerator.com

www.Holy-Bibles.org

www.Is-A-Jerk.com

www.HolyBibleSearch.com
www.SillyWebcam.com
www.SillyScenes.com
www.Seekerific.com
www.Nerdful.com
www.BodySwitcher.com
www.13KG.com
www.SpareSomeChange.com
www.FloppyApps.com
www.MaxSpider.com
www.ChatPhobia.com
www.SirSeek.com
www.HappyFaceGenerator.com
www.DangerSignGenerator.com
HolyBiblesSearch:
Internet Search:

www.WHAK.com

www.MAKE-A-MEME.com
www.HolyBibleVerse.com

www.SignGenerator.org

www.MedChecker.com

www.SeekFreak.com

www.Syncrisis.com

www.Presearcher.com

www.SirSeek.com

www.FotoTrix.com

www.BoobSigns.com

www.Canuckster.com

me.ddleso.me

www.9lbs.com

www.TXT2PIC.com

www.FakeMagazineCover.com

www.Trollize.com

www.FanSignGenerator.com

www.Holy-Bibles.org

www.Is-A-Jerk.com

www.HolyBibleSearch.com
www.SillyWebcam.com
www.SillyScenes.com
www.Seekerific.com
www.Nerdful.com
www.BodySwitcher.com
www.13KG.com
www.SpareSomeChange.com
www.FloppyApps.com
www.MaxSpider.com
www.ChatPhobia.com
www.SirSeek.com
www.HappyFaceGenerator.com
www.DangerSignGenerator.com
HolyBiblesSearch:
Internet Search:

www.WHAK.com

www.MAKE-A-MEME.com
www.HolyBibleVerse.com

www.SignGenerator.org

www.MedChecker.com

www.SeekFreak.com

www.Syncrisis.com

www.Presearcher.com

www.SirSeek.com

www.FotoTrix.com

www.BoobSigns.com

www.Canuckster.com

me.ddleso.me

www.9lbs.com

www.TXT2PIC.com

www.FakeMagazineCover.com

www.Trollize.com

www.FanSignGenerator.com

www.Holy-Bibles.org

www.Is-A-Jerk.com

www.HolyBibleSearch.com
www.SillyWebcam.com
www.SillyScenes.com
www.Seekerific.com
www.Nerdful.com
www.BodySwitcher.com
www.13KG.com
www.SpareSomeChange.com
www.FloppyApps.com
www.MaxSpider.com
www.ChatPhobia.com
www.SirSeek.com
www.HappyFaceGenerator.com
www.DangerSignGenerator.com
HolyBiblesSearch:
Internet Search:

www.WHAK.com

www.MAKE-A-MEME.com
www.HolyBibleVerse.com

www.SignGenerator.org

www.MedChecker.com

www.SeekFreak.com

www.Syncrisis.com

www.Presearcher.com

www.SirSeek.com

www.FotoTrix.com

www.BoobSigns.com

www.Canuckster.com

me.ddleso.me

www.9lbs.com

www.TXT2PIC.com

www.FakeMagazineCover.com

www.Trollize.com

www.FanSignGenerator.com

www.Holy-Bibles.org

www.Is-A-Jerk.com

www.HolyBibleSearch.com
www.SillyWebcam.com
www.SillyScenes.com
www.Seekerific.com
www.Nerdful.com
www.BodySwitcher.com
www.13KG.com
www.SpareSomeChange.com
www.FloppyApps.com
www.MaxSpider.com
www.ChatPhobia.com
www.SirSeek.com
www.HappyFaceGenerator.com
www.DangerSignGenerator.com
HolyBiblesSearch:
Internet Search:

www.WHAK.com

www.MAKE-A-MEME.com
www.HolyBibleVerse.com

www.SignGenerator.org

www.MedChecker.com

www.SeekFreak.com

www.Syncrisis.com

www.Presearcher.com

www.SirSeek.com

www.FotoTrix.com

www.BoobSigns.com

www.Canuckster.com

me.ddleso.me

www.9lbs.com

www.TXT2PIC.com

www.FakeMagazineCover.com

www.Trollize.com

www.FanSignGenerator.com

www.Holy-Bibles.org

www.Is-A-Jerk.com

www.HolyBibleSearch.com
www.SillyWebcam.com
www.SillyScenes.com
www.Seekerific.com
www.Nerdful.com
www.BodySwitcher.com
www.13KG.com
www.SpareSomeChange.com
www.FloppyApps.com
www.MaxSpider.com
www.ChatPhobia.com
www.SirSeek.com
www.HappyFaceGenerator.com
www.DangerSignGenerator.com
HolyBiblesSearch:
Internet Search:

www.WHAK.com

www.MAKE-A-MEME.com
www.HolyBibleVerse.com

www.SignGenerator.org

www.MedChecker.com

www.SeekFreak.com

www.Syncrisis.com

www.Presearcher.com

www.SirSeek.com

www.FotoTrix.com

www.BoobSigns.com

www.Canuckster.com

me.ddleso.me

www.9lbs.com

www.TXT2PIC.com

www.FakeMagazineCover.com

www.Trollize.com

www.FanSignGenerator.com

www.Holy-Bibles.org

www.Is-A-Jerk.com

www.HolyBibleSearch.com
www.SillyWebcam.com
www.SillyScenes.com
www.Seekerific.com
www.Nerdful.com
www.BodySwitcher.com
www.13KG.com
www.SpareSomeChange.com
www.FloppyApps.com
www.MaxSpider.com
www.ChatPhobia.com
www.SirSeek.com
www.HappyFaceGenerator.com
www.DangerSignGenerator.com
HolyBiblesSearch:
Internet Search:

www.WHAK.com

www.MAKE-A-MEME.com
www.HolyBibleVerse.com

www.SignGenerator.org

www.MedChecker.com

www.SeekFreak.com

www.Syncrisis.com

www.Presearcher.com

www.SirSeek.com

www.FotoTrix.com

www.BoobSigns.com

www.Canuckster.com

me.ddleso.me

www.9lbs.com

www.TXT2PIC.com

www.FakeMagazineCover.com

www.Trollize.com

www.FanSignGenerator.com

www.Holy-Bibles.org

www.Is-A-Jerk.com

www.HolyBibleSearch.com
www.SillyWebcam.com
www.SillyScenes.com
www.Seekerific.com
www.Nerdful.com
www.BodySwitcher.com
www.13KG.com
www.SpareSomeChange.com
www.FloppyApps.com
www.MaxSpider.com
www.ChatPhobia.com
www.SirSeek.com
www.HappyFaceGenerator.com
www.DangerSignGenerator.com
HolyBiblesSearch:
Internet Search:

www.WHAK.com

www.MAKE-A-MEME.com
www.HolyBibleVerse.com

www.SignGenerator.org

www.MedChecker.com

www.SeekFreak.com

www.Syncrisis.com

www.Presearcher.com

www.SirSeek.com

www.FotoTrix.com

www.BoobSigns.com

www.Canuckster.com

me.ddleso.me

www.9lbs.com

www.TXT2PIC.com

www.FakeMagazineCover.com

www.Trollize.com

www.FanSignGenerator.com

www.Holy-Bibles.org

www.Is-A-Jerk.com

www.HolyBibleSearch.com
www.SillyWebcam.com
www.SillyScenes.com
www.Seekerific.com
www.Nerdful.com
www.BodySwitcher.com
www.13KG.com
www.SpareSomeChange.com
www.FloppyApps.com
www.MaxSpider.com
www.ChatPhobia.com
www.SirSeek.com
www.HappyFaceGenerator.com
www.DangerSignGenerator.com
HolyBiblesSearch:
Internet Search:

www.WHAK.com

www.MAKE-A-MEME.com
www.HolyBibleVerse.com

www.SignGenerator.org

www.MedChecker.com

www.SeekFreak.com

www.Syncrisis.com

www.Presearcher.com

www.SirSeek.com

www.FotoTrix.com

www.BoobSigns.com

www.Canuckster.com

me.ddleso.me

www.9lbs.com

www.TXT2PIC.com

www.FakeMagazineCover.com

www.Trollize.com

www.FanSignGenerator.com

www.Holy-Bibles.org

www.Is-A-Jerk.com

www.HolyBibleSearch.com
www.SillyWebcam.com
www.SillyScenes.com
www.Seekerific.com
www.Nerdful.com
www.BodySwitcher.com
www.13KG.com
www.SpareSomeChange.com
www.FloppyApps.com
www.MaxSpider.com
www.ChatPhobia.com
www.SirSeek.com
www.HappyFaceGenerator.com
www.DangerSignGenerator.com
HolyBiblesSearch:
Internet Search:

www.WHAK.com

www.MAKE-A-MEME.com
www.HolyBibleVerse.com

www.SignGenerator.org

www.MedChecker.com

www.SeekFreak.com

www.Syncrisis.com

www.Presearcher.com

www.SirSeek.com

www.FotoTrix.com

www.BoobSigns.com

www.Canuckster.com

me.ddleso.me

www.9lbs.com

www.TXT2PIC.com

www.FakeMagazineCover.com

www.Trollize.com

www.FanSignGenerator.com

www.Holy-Bibles.org

www.Is-A-Jerk.com

www.HolyBibleSearch.com
www.SillyWebcam.com
www.SillyScenes.com
www.Seekerific.com
www.Nerdful.com
www.BodySwitcher.com
www.13KG.com
www.SpareSomeChange.com
www.FloppyApps.com
www.MaxSpider.com
www.ChatPhobia.com
www.SirSeek.com
www.HappyFaceGenerator.com
www.DangerSignGenerator.com
HolyBiblesSearch:
Internet Search:

www.WHAK.com

www.MAKE-A-MEME.com
www.HolyBibleVerse.com

www.SignGenerator.org

www.MedChecker.com

www.SeekFreak.com

www.Syncrisis.com

www.Presearcher.com

www.SirSeek.com

www.FotoTrix.com

www.BoobSigns.com

www.Canuckster.com

me.ddleso.me

www.9lbs.com

www.TXT2PIC.com

www.FakeMagazineCover.com

www.Trollize.com

www.FanSignGenerator.com

www.Holy-Bibles.org

www.Is-A-Jerk.com

www.HolyBibleSearch.com
www.SillyWebcam.com
www.SillyScenes.com
www.Seekerific.com
www.Nerdful.com
www.BodySwitcher.com
www.13KG.com
www.SpareSomeChange.com
www.FloppyApps.com
www.MaxSpider.com
www.ChatPhobia.com
www.SirSeek.com
www.HappyFaceGenerator.com
www.DangerSignGenerator.com
HolyBiblesSearch:
Internet Search:

www.WHAK.com

www.MAKE-A-MEME.com
www.HolyBibleVerse.com

www.SignGenerator.org

www.MedChecker.com

www.SeekFreak.com

www.Syncrisis.com

www.Presearcher.com

www.SirSeek.com

www.FotoTrix.com

www.BoobSigns.com

www.Canuckster.com

me.ddleso.me

www.9lbs.com

www.TXT2PIC.com

www.FakeMagazineCover.com

www.Trollize.com

www.FanSignGenerator.com

www.Holy-Bibles.org

www.Is-A-Jerk.com

www.HolyBibleSearch.com
www.SillyWebcam.com
www.SillyScenes.com
www.Seekerific.com
www.Nerdful.com
www.BodySwitcher.com
www.13KG.com
www.SpareSomeChange.com
www.FloppyApps.com
www.MaxSpider.com
www.ChatPhobia.com
www.SirSeek.com
www.HappyFaceGenerator.com
www.DangerSignGenerator.com
HolyBiblesSearch:
Internet Search:

www.WHAK.com

www.MAKE-A-MEME.com
www.HolyBibleVerse.com

www.SignGenerator.org

www.MedChecker.com

www.SeekFreak.com

www.Syncrisis.com

www.Presearcher.com

www.SirSeek.com

www.FotoTrix.com

www.BoobSigns.com

www.Canuckster.com

me.ddleso.me

www.9lbs.com

www.TXT2PIC.com

www.FakeMagazineCover.com

www.Trollize.com

www.FanSignGenerator.com

www.Holy-Bibles.org

www.Is-A-Jerk.com

www.HolyBibleSearch.com
www.SillyWebcam.com
www.SillyScenes.com
www.Seekerific.com
www.Nerdful.com
www.BodySwitcher.com
www.13KG.com
www.SpareSomeChange.com
www.FloppyApps.com
www.MaxSpider.com
www.ChatPhobia.com
www.SirSeek.com
www.HappyFaceGenerator.com
www.DangerSignGenerator.com
HolyBiblesSearch:
Internet Search:

www.WHAK.com

www.MAKE-A-MEME.com
www.HolyBibleVerse.com

www.SignGenerator.org

www.MedChecker.com

www.SeekFreak.com

www.Syncrisis.com

www.Presearcher.com

www.SirSeek.com

www.FotoTrix.com

www.BoobSigns.com

www.Canuckster.com

me.ddleso.me

www.9lbs.com

www.TXT2PIC.com

www.FakeMagazineCover.com

www.Trollize.com

www.FanSignGenerator.com

www.Holy-Bibles.org

www.Is-A-Jerk.com

www.HolyBibleSearch.com
www.SillyWebcam.com
www.SillyScenes.com
www.Seekerific.com
www.Nerdful.com
www.BodySwitcher.com
www.13KG.com
www.SpareSomeChange.com
www.FloppyApps.com
www.MaxSpider.com
www.ChatPhobia.com
www.SirSeek.com
www.HappyFaceGenerator.com
www.DangerSignGenerator.com
HolyBiblesSearch:
Internet Search:

www.WHAK.com

www.MAKE-A-MEME.com
www.HolyBibleVerse.com

www.SignGenerator.org

www.MedChecker.com

www.SeekFreak.com

www.Syncrisis.com

www.Presearcher.com

www.SirSeek.com

www.FotoTrix.com

www.BoobSigns.com

www.Canuckster.com

me.ddleso.me

www.9lbs.com

www.TXT2PIC.com

www.FakeMagazineCover.com

www.Trollize.com

www.FanSignGenerator.com

www.Holy-Bibles.org

www.Is-A-Jerk.com

www.HolyBibleSearch.com
www.SillyWebcam.com
www.SillyScenes.com
www.Seekerific.com
www.Nerdful.com
www.BodySwitcher.com
www.13KG.com
www.SpareSomeChange.com
www.FloppyApps.com
www.MaxSpider.com
www.ChatPhobia.com
www.SirSeek.com
www.HappyFaceGenerator.com
www.DangerSignGenerator.com
HolyBiblesSearch:
Internet Search:

www.WHAK.com

www.MAKE-A-MEME.com
www.HolyBibleVerse.com

www.SignGenerator.org

www.MedChecker.com

www.SeekFreak.com

www.Syncrisis.com

www.Presearcher.com

www.SirSeek.com

www.FotoTrix.com

www.BoobSigns.com

www.Canuckster.com

me.ddleso.me

www.9lbs.com

www.TXT2PIC.com

www.FakeMagazineCover.com

www.Trollize.com

www.FanSignGenerator.com

www.Holy-Bibles.org

www.Is-A-Jerk.com

www.HolyBibleSearch.com
www.SillyWebcam.com
www.SillyScenes.com
www.Seekerific.com
www.Nerdful.com
www.BodySwitcher.com
www.13KG.com
www.SpareSomeChange.com
www.FloppyApps.com
www.MaxSpider.com
www.ChatPhobia.com
www.SirSeek.com
www.HappyFaceGenerator.com
www.DangerSignGenerator.com
HolyBiblesSearch:
Internet Search:

www.WHAK.com

www.MAKE-A-MEME.com
www.HolyBibleVerse.com

www.SignGenerator.org

www.MedChecker.com

www.SeekFreak.com

www.Syncrisis.com

www.Presearcher.com

www.SirSeek.com

www.FotoTrix.com

www.BoobSigns.com

www.Canuckster.com

me.ddleso.me

www.9lbs.com

www.TXT2PIC.com

www.FakeMagazineCover.com

www.Trollize.com

www.FanSignGenerator.com

www.Holy-Bibles.org

www.Is-A-Jerk.com

www.HolyBibleSearch.com
www.SillyWebcam.com
www.SillyScenes.com
www.Seekerific.com
www.Nerdful.com
www.BodySwitcher.com
www.13KG.com
www.SpareSomeChange.com
www.FloppyApps.com
www.MaxSpider.com
www.ChatPhobia.com
www.SirSeek.com
www.HappyFaceGenerator.com
www.DangerSignGenerator.com
HolyBiblesSearch:
Internet Search:

www.WHAK.com

www.MAKE-A-MEME.com
www.HolyBibleVerse.com

www.SignGenerator.org

www.MedChecker.com

www.SeekFreak.com

www.Syncrisis.com

www.Presearcher.com

www.SirSeek.com

www.FotoTrix.com

www.BoobSigns.com

www.Canuckster.com

me.ddleso.me

www.9lbs.com

www.TXT2PIC.com

www.FakeMagazineCover.com

www.Trollize.com

www.FanSignGenerator.com

www.Holy-Bibles.org

www.Is-A-Jerk.com

www.HolyBibleSearch.com
www.SillyWebcam.com
www.SillyScenes.com
www.Seekerific.com
www.Nerdful.com
www.BodySwitcher.com
www.13KG.com
www.SpareSomeChange.com
www.FloppyApps.com
www.MaxSpider.com
www.ChatPhobia.com
www.SirSeek.com
www.HappyFaceGenerator.com
www.DangerSignGenerator.com
HolyBiblesSearch:
Internet Search:

www.WHAK.com

www.MAKE-A-MEME.com
www.HolyBibleVerse.com

www.SignGenerator.org

www.MedChecker.com

www.SeekFreak.com

www.Syncrisis.com

www.Presearcher.com

www.SirSeek.com

www.FotoTrix.com

www.BoobSigns.com

www.Canuckster.com

me.ddleso.me

www.9lbs.com

www.TXT2PIC.com

www.FakeMagazineCover.com

www.Trollize.com

www.FanSignGenerator.com

www.Holy-Bibles.org

www.Is-A-Jerk.com

www.HolyBibleSearch.com
www.SillyWebcam.com
www.SillyScenes.com
www.Seekerific.com
www.Nerdful.com
www.BodySwitcher.com
www.13KG.com
www.SpareSomeChange.com
www.FloppyApps.com
www.MaxSpider.com
www.ChatPhobia.com
www.SirSeek.com
www.HappyFaceGenerator.com
www.DangerSignGenerator.com
HolyBiblesSearch:
Internet Search:

www.WHAK.com

www.MAKE-A-MEME.com
www.HolyBibleVerse.com

www.SignGenerator.org

www.MedChecker.com

www.SeekFreak.com

www.Syncrisis.com

www.Presearcher.com

www.SirSeek.com

www.FotoTrix.com

www.BoobSigns.com

www.Canuckster.com

me.ddleso.me

www.9lbs.com

www.TXT2PIC.com

www.FakeMagazineCover.com

www.Trollize.com

www.FanSignGenerator.com

www.Holy-Bibles.org

www.Is-A-Jerk.com

www.HolyBibleSearch.com
www.SillyWebcam.com
www.SillyScenes.com
www.Seekerific.com
www.Nerdful.com
www.BodySwitcher.com
www.13KG.com
www.SpareSomeChange.com
www.FloppyApps.com
www.MaxSpider.com
www.ChatPhobia.com
www.SirSeek.com
www.HappyFaceGenerator.com
www.DangerSignGenerator.com
HolyBiblesSearch:
Internet Search:

www.WHAK.com

www.MAKE-A-MEME.com
www.HolyBibleVerse.com

www.SignGenerator.org

www.MedChecker.com

www.SeekFreak.com

www.Syncrisis.com

www.Presearcher.com

www.SirSeek.com

www.FotoTrix.com

www.BoobSigns.com

www.Canuckster.com

me.ddleso.me

www.9lbs.com

www.TXT2PIC.com

www.FakeMagazineCover.com

www.Trollize.com

www.FanSignGenerator.com

www.Holy-Bibles.org

www.Is-A-Jerk.com

www.HolyBibleSearch.com
www.SillyWebcam.com
www.SillyScenes.com
www.Seekerific.com
www.Nerdful.com
www.BodySwitcher.com
www.13KG.com
www.SpareSomeChange.com
www.FloppyApps.com
www.MaxSpider.com
www.ChatPhobia.com
www.SirSeek.com
www.HappyFaceGenerator.com
www.DangerSignGenerator.com
HolyBiblesSearch:
Internet Search:

www.WHAK.com

www.MAKE-A-MEME.com
www.HolyBibleVerse.com

www.SignGenerator.org

www.MedChecker.com

www.SeekFreak.com

www.Syncrisis.com

www.Presearcher.com

www.SirSeek.com

www.FotoTrix.com

www.BoobSigns.com

www.Canuckster.com

me.ddleso.me

www.9lbs.com

www.TXT2PIC.com

www.FakeMagazineCover.com

www.Trollize.com

www.FanSignGenerator.com

www.Holy-Bibles.org

www.Is-A-Jerk.com

www.HolyBibleSearch.com
www.SillyWebcam.com
www.SillyScenes.com
www.Seekerific.com
www.Nerdful.com
www.BodySwitcher.com
www.13KG.com
www.SpareSomeChange.com
www.FloppyApps.com
www.MaxSpider.com
www.ChatPhobia.com
www.SirSeek.com
www.HappyFaceGenerator.com
www.DangerSignGenerator.com
HolyBiblesSearch:
Internet Search:

www.WHAK.com

www.MAKE-A-MEME.com
www.HolyBibleVerse.com

www.SignGenerator.org

www.MedChecker.com

www.SeekFreak.com

www.Syncrisis.com

www.Presearcher.com

www.SirSeek.com

www.FotoTrix.com

www.BoobSigns.com

www.Canuckster.com

me.ddleso.me

www.9lbs.com

www.TXT2PIC.com

www.FakeMagazineCover.com

www.Trollize.com

www.FanSignGenerator.com

www.Holy-Bibles.org

www.Is-A-Jerk.com

www.HolyBibleSearch.com
www.SillyWebcam.com
www.SillyScenes.com
www.Seekerific.com
www.Nerdful.com
www.BodySwitcher.com
www.13KG.com
www.SpareSomeChange.com
www.FloppyApps.com
www.MaxSpider.com
www.ChatPhobia.com
www.SirSeek.com
www.HappyFaceGenerator.com
www.DangerSignGenerator.com
HolyBiblesSearch:
Internet Search:

www.WHAK.com

www.MAKE-A-MEME.com
www.HolyBibleVerse.com

www.SignGenerator.org

www.MedChecker.com

www.SeekFreak.com

www.Syncrisis.com

www.Presearcher.com

www.SirSeek.com

www.FotoTrix.com

www.BoobSigns.com

www.Canuckster.com

me.ddleso.me

www.9lbs.com

www.TXT2PIC.com

www.FakeMagazineCover.com

www.Trollize.com

www.FanSignGenerator.com

www.Holy-Bibles.org

www.Is-A-Jerk.com

www.HolyBibleSearch.com
www.SillyWebcam.com
www.SillyScenes.com
www.Seekerific.com
www.Nerdful.com
www.BodySwitcher.com
www.13KG.com
www.SpareSomeChange.com
www.FloppyApps.com
www.MaxSpider.com
www.ChatPhobia.com
www.SirSeek.com
www.HappyFaceGenerator.com
www.DangerSignGenerator.com
HolyBiblesSearch:
Internet Search:

www.WHAK.com

www.MAKE-A-MEME.com
www.HolyBibleVerse.com

www.SignGenerator.org

www.MedChecker.com

www.SeekFreak.com

www.Syncrisis.com

www.Presearcher.com

www.SirSeek.com

www.FotoTrix.com

www.BoobSigns.com

www.Canuckster.com

me.ddleso.me

www.9lbs.com

www.TXT2PIC.com

www.FakeMagazineCover.com

www.Trollize.com

www.FanSignGenerator.com

www.Holy-Bibles.org

www.Is-A-Jerk.com

www.HolyBibleSearch.com
www.SillyWebcam.com
www.SillyScenes.com
www.Seekerific.com
www.Nerdful.com
www.BodySwitcher.com
www.13KG.com
www.SpareSomeChange.com
www.FloppyApps.com
www.MaxSpider.com
www.ChatPhobia.com
www.SirSeek.com
www.HappyFaceGenerator.com
www.DangerSignGenerator.com
HolyBiblesSearch:
Internet Search:

www.WHAK.com

www.MAKE-A-MEME.com
www.HolyBibleVerse.com

www.SignGenerator.org

www.MedChecker.com

www.SeekFreak.com

www.Syncrisis.com

www.Presearcher.com

www.SirSeek.com

www.FotoTrix.com

www.BoobSigns.com

www.Canuckster.com

me.ddleso.me

www.9lbs.com

www.TXT2PIC.com

www.FakeMagazineCover.com

www.Trollize.com

www.FanSignGenerator.com

www.Holy-Bibles.org

www.Is-A-Jerk.com

www.HolyBibleSearch.com
www.SillyWebcam.com
www.SillyScenes.com
www.Seekerific.com
www.Nerdful.com
www.BodySwitcher.com
www.13KG.com
www.SpareSomeChange.com
www.FloppyApps.com
www.MaxSpider.com
www.ChatPhobia.com
www.SirSeek.com
www.HappyFaceGenerator.com
www.DangerSignGenerator.com
HolyBiblesSearch:
Internet Search:

www.WHAK.com

www.MAKE-A-MEME.com
www.HolyBibleVerse.com

www.SignGenerator.org

www.MedChecker.com

www.SeekFreak.com

www.Syncrisis.com

www.Presearcher.com

www.SirSeek.com

www.FotoTrix.com

www.BoobSigns.com

www.Canuckster.com

me.ddleso.me

www.9lbs.com

www.TXT2PIC.com

www.FakeMagazineCover.com

www.Trollize.com

www.FanSignGenerator.com

www.Holy-Bibles.org

www.Is-A-Jerk.com

www.HolyBibleSearch.com
www.SillyWebcam.com
www.SillyScenes.com
www.Seekerific.com
www.Nerdful.com
www.BodySwitcher.com
www.13KG.com
www.SpareSomeChange.com
www.FloppyApps.com
www.MaxSpider.com
www.ChatPhobia.com
www.SirSeek.com
www.HappyFaceGenerator.com
www.DangerSignGenerator.com
HolyBiblesSearch:
Internet Search:

www.WHAK.com

www.MAKE-A-MEME.com
www.HolyBibleVerse.com

www.SignGenerator.org

www.MedChecker.com

www.SeekFreak.com

www.Syncrisis.com

www.Presearcher.com

www.SirSeek.com

www.FotoTrix.com

www.BoobSigns.com

www.Canuckster.com

me.ddleso.me

www.9lbs.com

www.TXT2PIC.com

www.FakeMagazineCover.com

www.Trollize.com

www.FanSignGenerator.com

www.Holy-Bibles.org

www.Is-A-Jerk.com

www.HolyBibleSearch.com
www.SillyWebcam.com
www.SillyScenes.com
www.Seekerific.com
www.Nerdful.com
www.BodySwitcher.com
www.13KG.com
www.SpareSomeChange.com
www.FloppyApps.com
www.MaxSpider.com
www.ChatPhobia.com
www.SirSeek.com
www.HappyFaceGenerator.com
www.DangerSignGenerator.com
HolyBiblesSearch:
Internet Search:

www.WHAK.com

www.MAKE-A-MEME.com
www.HolyBibleVerse.com

www.SignGenerator.org

www.MedChecker.com

www.SeekFreak.com

www.Syncrisis.com

www.Presearcher.com

www.SirSeek.com

www.FotoTrix.com

www.BoobSigns.com

www.Canuckster.com

me.ddleso.me

www.9lbs.com

www.TXT2PIC.com

www.FakeMagazineCover.com

www.Trollize.com

www.FanSignGenerator.com

www.Holy-Bibles.org

www.Is-A-Jerk.com

www.HolyBibleSearch.com
www.SillyWebcam.com
www.SillyScenes.com
www.Seekerific.com
www.Nerdful.com
www.BodySwitcher.com
www.13KG.com
www.SpareSomeChange.com
www.FloppyApps.com
www.MaxSpider.com
www.ChatPhobia.com
www.SirSeek.com
www.HappyFaceGenerator.com
www.DangerSignGenerator.com
HolyBiblesSearch:
Internet Search:

www.WHAK.com

www.MAKE-A-MEME.com
www.HolyBibleVerse.com

www.SignGenerator.org

www.MedChecker.com

www.SeekFreak.com

www.Syncrisis.com

www.Presearcher.com

www.SirSeek.com

www.FotoTrix.com

www.BoobSigns.com

www.Canuckster.com

me.ddleso.me

www.9lbs.com

www.TXT2PIC.com

www.FakeMagazineCover.com

www.Trollize.com

www.FanSignGenerator.com

www.Holy-Bibles.org

www.Is-A-Jerk.com

www.HolyBibleSearch.com
www.SillyWebcam.com
www.SillyScenes.com
www.Seekerific.com
www.Nerdful.com
www.BodySwitcher.com
www.13KG.com
www.SpareSomeChange.com
www.FloppyApps.com
www.MaxSpider.com
www.ChatPhobia.com
www.SirSeek.com
www.HappyFaceGenerator.com
www.DangerSignGenerator.com
HolyBiblesSearch:
Internet Search:

www.WHAK.com

www.MAKE-A-MEME.com
www.HolyBibleVerse.com

www.SignGenerator.org

www.MedChecker.com

www.SeekFreak.com

www.Syncrisis.com

www.Presearcher.com

www.SirSeek.com

www.FotoTrix.com

www.BoobSigns.com

www.Canuckster.com

me.ddleso.me

www.9lbs.com

www.TXT2PIC.com

www.FakeMagazineCover.com

www.Trollize.com

www.FanSignGenerator.com

www.Holy-Bibles.org

www.Is-A-Jerk.com

www.HolyBibleSearch.com
www.SillyWebcam.com
www.SillyScenes.com
www.Seekerific.com
www.Nerdful.com
www.BodySwitcher.com
www.13KG.com
www.SpareSomeChange.com
www.FloppyApps.com
www.MaxSpider.com
www.ChatPhobia.com
www.SirSeek.com
www.HappyFaceGenerator.com
www.DangerSignGenerator.com
HolyBiblesSearch:
Internet Search:

www.WHAK.com

www.MAKE-A-MEME.com
www.HolyBibleVerse.com

www.SignGenerator.org

www.MedChecker.com

www.SeekFreak.com

www.Syncrisis.com

www.Presearcher.com

www.SirSeek.com

www.FotoTrix.com

www.BoobSigns.com

www.Canuckster.com

me.ddleso.me

www.9lbs.com

www.TXT2PIC.com

www.FakeMagazineCover.com

www.Trollize.com

www.FanSignGenerator.com

www.Holy-Bibles.org

www.Is-A-Jerk.com

www.HolyBibleSearch.com
www.SillyWebcam.com
www.SillyScenes.com
www.Seekerific.com
www.Nerdful.com
www.BodySwitcher.com
www.13KG.com
www.SpareSomeChange.com
www.FloppyApps.com
www.MaxSpider.com
www.ChatPhobia.com
www.SirSeek.com
www.HappyFaceGenerator.com
www.DangerSignGenerator.com
HolyBiblesSearch:
Internet Search:

www.WHAK.com

www.MAKE-A-MEME.com
www.HolyBibleVerse.com

www.SignGenerator.org

www.MedChecker.com

www.SeekFreak.com

www.Syncrisis.com

www.Presearcher.com

www.SirSeek.com

www.FotoTrix.com

www.BoobSigns.com

www.Canuckster.com

me.ddleso.me

www.9lbs.com

www.TXT2PIC.com

www.FakeMagazineCover.com

www.Trollize.com

www.FanSignGenerator.com

www.Holy-Bibles.org

www.Is-A-Jerk.com

www.HolyBibleSearch.com
www.SillyWebcam.com
www.SillyScenes.com
www.Seekerific.com
www.Nerdful.com
www.BodySwitcher.com
www.13KG.com
www.SpareSomeChange.com
www.FloppyApps.com
www.MaxSpider.com
www.ChatPhobia.com
www.SirSeek.com
www.HappyFaceGenerator.com
www.DangerSignGenerator.com
HolyBiblesSearch:
Internet Search:

www.WHAK.com

www.MAKE-A-MEME.com
www.HolyBibleVerse.com

www.SignGenerator.org

www.MedChecker.com

www.SeekFreak.com

www.Syncrisis.com

www.Presearcher.com

www.SirSeek.com

www.FotoTrix.com

www.BoobSigns.com

www.Canuckster.com

me.ddleso.me

www.9lbs.com

www.TXT2PIC.com

www.FakeMagazineCover.com

www.Trollize.com

www.FanSignGenerator.com

www.Holy-Bibles.org

www.Is-A-Jerk.com

www.HolyBibleSearch.com
www.SillyWebcam.com
www.SillyScenes.com
www.Seekerific.com
www.Nerdful.com
www.BodySwitcher.com
www.13KG.com
www.SpareSomeChange.com
www.FloppyApps.com
www.MaxSpider.com
www.ChatPhobia.com
www.SirSeek.com
www.HappyFaceGenerator.com
www.DangerSignGenerator.com
HolyBiblesSearch:
Internet Search:

www.WHAK.com

www.MAKE-A-MEME.com
www.HolyBibleVerse.com

www.SignGenerator.org

www.MedChecker.com

www.SeekFreak.com

www.Syncrisis.com

www.Presearcher.com

www.SirSeek.com

www.FotoTrix.com

www.BoobSigns.com

www.Canuckster.com

me.ddleso.me

www.9lbs.com

www.TXT2PIC.com

www.FakeMagazineCover.com

www.Trollize.com

www.FanSignGenerator.com

www.Holy-Bibles.org

www.Is-A-Jerk.com

www.HolyBibleSearch.com
www.SillyWebcam.com
www.SillyScenes.com
www.Seekerific.com
www.Nerdful.com
www.BodySwitcher.com
www.13KG.com
www.SpareSomeChange.com
www.FloppyApps.com
www.MaxSpider.com
www.ChatPhobia.com
www.SirSeek.com
www.HappyFaceGenerator.com
www.DangerSignGenerator.com
HolyBiblesSearch:
Internet Search:

www.WHAK.com

www.MAKE-A-MEME.com
www.HolyBibleVerse.com

www.SignGenerator.org

www.MedChecker.com

www.SeekFreak.com

www.Syncrisis.com

www.Presearcher.com

www.SirSeek.com

www.FotoTrix.com

www.BoobSigns.com

www.Canuckster.com

me.ddleso.me

www.9lbs.com

www.TXT2PIC.com

www.FakeMagazineCover.com

www.Trollize.com

www.FanSignGenerator.com

www.Holy-Bibles.org

www.Is-A-Jerk.com

www.HolyBibleSearch.com
www.SillyWebcam.com
www.SillyScenes.com
www.Seekerific.com
www.Nerdful.com
www.BodySwitcher.com
www.13KG.com
www.SpareSomeChange.com
www.FloppyApps.com
www.MaxSpider.com
www.ChatPhobia.com
www.SirSeek.com
www.HappyFaceGenerator.com
www.DangerSignGenerator.com
HolyBiblesSearch:
Internet Search:

www.WHAK.com

www.MAKE-A-MEME.com
www.HolyBibleVerse.com

www.SignGenerator.org

www.MedChecker.com

www.SeekFreak.com

www.Syncrisis.com

www.Presearcher.com

www.SirSeek.com

www.FotoTrix.com

www.BoobSigns.com

www.Canuckster.com

me.ddleso.me

www.9lbs.com

www.TXT2PIC.com

www.FakeMagazineCover.com

www.Trollize.com

www.FanSignGenerator.com

www.Holy-Bibles.org

www.Is-A-Jerk.com

www.HolyBibleSearch.com
www.SillyWebcam.com
www.SillyScenes.com
www.Seekerific.com
www.Nerdful.com
www.BodySwitcher.com
www.13KG.com
www.SpareSomeChange.com
www.FloppyApps.com
www.MaxSpider.com
www.ChatPhobia.com
www.SirSeek.com
www.HappyFaceGenerator.com
www.DangerSignGenerator.com
HolyBiblesSearch:
Internet Search:

www.WHAK.com

www.MAKE-A-MEME.com
www.HolyBibleVerse.com

www.SignGenerator.org

www.MedChecker.com

www.SeekFreak.com

www.Syncrisis.com

www.Presearcher.com

www.SirSeek.com

www.FotoTrix.com

www.BoobSigns.com

www.Canuckster.com

me.ddleso.me

www.9lbs.com

www.TXT2PIC.com

www.FakeMagazineCover.com

www.Trollize.com

www.FanSignGenerator.com

www.Holy-Bibles.org

www.Is-A-Jerk.com

www.HolyBibleSearch.com
www.SillyWebcam.com
www.SillyScenes.com
www.Seekerific.com
www.Nerdful.com
www.BodySwitcher.com
www.13KG.com
www.SpareSomeChange.com
www.FloppyApps.com
www.MaxSpider.com
www.ChatPhobia.com
www.SirSeek.com
www.HappyFaceGenerator.com
www.DangerSignGenerator.com
HolyBiblesSearch:
Internet Search:

www.WHAK.com

www.MAKE-A-MEME.com
www.HolyBibleVerse.com

www.SignGenerator.org

www.MedChecker.com

www.SeekFreak.com

www.Syncrisis.com

www.Presearcher.com

www.SirSeek.com

www.FotoTrix.com

www.BoobSigns.com

www.Canuckster.com

me.ddleso.me

www.9lbs.com

www.TXT2PIC.com

www.FakeMagazineCover.com

www.Trollize.com

www.FanSignGenerator.com

www.Holy-Bibles.org

www.Is-A-Jerk.com

www.HolyBibleSearch.com
www.SillyWebcam.com
www.SillyScenes.com
www.Seekerific.com
www.Nerdful.com
www.BodySwitcher.com
www.13KG.com
www.SpareSomeChange.com
www.FloppyApps.com
www.MaxSpider.com
www.ChatPhobia.com
www.SirSeek.com
www.HappyFaceGenerator.com
www.DangerSignGenerator.com
HolyBiblesSearch:
Internet Search:

www.WHAK.com

www.MAKE-A-MEME.com
www.HolyBibleVerse.com

www.SignGenerator.org

www.MedChecker.com

www.SeekFreak.com

www.Syncrisis.com

www.Presearcher.com

www.SirSeek.com

www.FotoTrix.com

www.BoobSigns.com

www.Canuckster.com

me.ddleso.me

www.9lbs.com

www.TXT2PIC.com

www.FakeMagazineCover.com

www.Trollize.com

www.FanSignGenerator.com

www.Holy-Bibles.org

www.Is-A-Jerk.com

www.HolyBibleSearch.com
www.SillyWebcam.com
www.SillyScenes.com
www.Seekerific.com
www.Nerdful.com
www.BodySwitcher.com
www.13KG.com
www.SpareSomeChange.com
www.FloppyApps.com
www.MaxSpider.com
www.ChatPhobia.com
www.SirSeek.com
www.HappyFaceGenerator.com
www.DangerSignGenerator.com
HolyBiblesSearch:
Internet Search:

www.WHAK.com

www.MAKE-A-MEME.com
www.HolyBibleVerse.com

www.SignGenerator.org

www.MedChecker.com

www.SeekFreak.com

www.Syncrisis.com

www.Presearcher.com

www.SirSeek.com

www.FotoTrix.com

www.BoobSigns.com

www.Canuckster.com

me.ddleso.me

www.9lbs.com

www.TXT2PIC.com

www.FakeMagazineCover.com

www.Trollize.com

www.FanSignGenerator.com

www.Holy-Bibles.org

www.Is-A-Jerk.com

www.HolyBibleSearch.com
www.SillyWebcam.com
www.SillyScenes.com
www.Seekerific.com
www.Nerdful.com
www.BodySwitcher.com
www.13KG.com
www.SpareSomeChange.com
www.FloppyApps.com
www.MaxSpider.com
www.ChatPhobia.com
www.SirSeek.com
www.HappyFaceGenerator.com
www.DangerSignGenerator.com
HolyBiblesSearch:
Internet Search:

www.WHAK.com

www.MAKE-A-MEME.com
www.HolyBibleVerse.com

www.SignGenerator.org

www.MedChecker.com

www.SeekFreak.com

www.Syncrisis.com

www.Presearcher.com

www.SirSeek.com

www.FotoTrix.com

www.BoobSigns.com

www.Canuckster.com

me.ddleso.me

www.9lbs.com

www.TXT2PIC.com

www.FakeMagazineCover.com

www.Trollize.com

www.FanSignGenerator.com

www.Holy-Bibles.org

www.Is-A-Jerk.com

www.HolyBibleSearch.com
www.SillyWebcam.com
www.SillyScenes.com
www.Seekerific.com
www.Nerdful.com
www.BodySwitcher.com
www.13KG.com
www.SpareSomeChange.com
www.FloppyApps.com
www.MaxSpider.com
www.ChatPhobia.com
www.SirSeek.com
www.HappyFaceGenerator.com
www.DangerSignGenerator.com
HolyBiblesSearch:
Internet Search:

www.WHAK.com

www.MAKE-A-MEME.com
www.HolyBibleVerse.com

www.SignGenerator.org

www.MedChecker.com

www.SeekFreak.com

www.Syncrisis.com

www.Presearcher.com

www.SirSeek.com

www.FotoTrix.com

www.BoobSigns.com

www.Canuckster.com

me.ddleso.me

www.9lbs.com

www.TXT2PIC.com

www.FakeMagazineCover.com

www.Trollize.com

www.FanSignGenerator.com

www.Holy-Bibles.org

www.Is-A-Jerk.com

www.HolyBibleSearch.com
www.SillyWebcam.com
www.SillyScenes.com
www.Seekerific.com
www.Nerdful.com
www.BodySwitcher.com
www.13KG.com
www.SpareSomeChange.com
www.FloppyApps.com
www.MaxSpider.com
www.ChatPhobia.com
www.SirSeek.com
www.HappyFaceGenerator.com
www.DangerSignGenerator.com
HolyBiblesSearch:
Internet Search:

www.WHAK.com

www.MAKE-A-MEME.com
www.HolyBibleVerse.com

www.SignGenerator.org

www.MedChecker.com

www.SeekFreak.com

www.Syncrisis.com

www.Presearcher.com

www.SirSeek.com

www.FotoTrix.com

www.BoobSigns.com

www.Canuckster.com

me.ddleso.me

www.9lbs.com

www.TXT2PIC.com

www.FakeMagazineCover.com

www.Trollize.com

www.FanSignGenerator.com

www.Holy-Bibles.org

www.Is-A-Jerk.com

www.HolyBibleSearch.com
www.SillyWebcam.com
www.SillyScenes.com
www.Seekerific.com
www.Nerdful.com
www.BodySwitcher.com
www.13KG.com
www.SpareSomeChange.com
www.FloppyApps.com
www.MaxSpider.com
www.ChatPhobia.com
www.SirSeek.com
www.HappyFaceGenerator.com
www.DangerSignGenerator.com
HolyBiblesSearch:
Internet Search:

www.WHAK.com

www.MAKE-A-MEME.com
www.HolyBibleVerse.com

www.SignGenerator.org

www.MedChecker.com

www.SeekFreak.com

www.Syncrisis.com

www.Presearcher.com

www.SirSeek.com

www.FotoTrix.com

www.BoobSigns.com

www.Canuckster.com

me.ddleso.me

www.9lbs.com

www.TXT2PIC.com

www.FakeMagazineCover.com

www.Trollize.com

www.FanSignGenerator.com

www.Holy-Bibles.org

www.Is-A-Jerk.com

www.HolyBibleSearch.com
www.SillyWebcam.com
www.SillyScenes.com
www.Seekerific.com
www.Nerdful.com
www.BodySwitcher.com
www.13KG.com
www.SpareSomeChange.com
www.FloppyApps.com
www.MaxSpider.com
www.ChatPhobia.com
www.SirSeek.com
www.HappyFaceGenerator.com
www.DangerSignGenerator.com
HolyBiblesSearch:
Internet Search:

www.WHAK.com

www.MAKE-A-MEME.com
www.HolyBibleVerse.com

www.SignGenerator.org

www.MedChecker.com

www.SeekFreak.com

www.Syncrisis.com

www.Presearcher.com

www.SirSeek.com

www.FotoTrix.com

www.BoobSigns.com

www.Canuckster.com

me.ddleso.me

www.9lbs.com

www.TXT2PIC.com

www.FakeMagazineCover.com

www.Trollize.com

www.FanSignGenerator.com

www.Holy-Bibles.org

www.Is-A-Jerk.com

www.HolyBibleSearch.com
www.SillyWebcam.com
www.SillyScenes.com
www.Seekerific.com
www.Nerdful.com
www.BodySwitcher.com
www.13KG.com
www.SpareSomeChange.com
www.FloppyApps.com
www.MaxSpider.com
www.ChatPhobia.com
www.SirSeek.com
www.HappyFaceGenerator.com
www.DangerSignGenerator.com
HolyBiblesSearch:
Internet Search:

www.WHAK.com

www.MAKE-A-MEME.com
www.HolyBibleVerse.com

www.SignGenerator.org

www.MedChecker.com

www.SeekFreak.com

www.Syncrisis.com

www.Presearcher.com

www.SirSeek.com

www.FotoTrix.com

www.BoobSigns.com

www.Canuckster.com

me.ddleso.me

www.9lbs.com

www.TXT2PIC.com

www.FakeMagazineCover.com

www.Trollize.com

www.FanSignGenerator.com

www.Holy-Bibles.org

www.Is-A-Jerk.com

www.HolyBibleSearch.com
www.SillyWebcam.com
www.SillyScenes.com
www.Seekerific.com
www.Nerdful.com
www.BodySwitcher.com
www.13KG.com
www.SpareSomeChange.com
www.FloppyApps.com
www.MaxSpider.com
www.ChatPhobia.com
www.SirSeek.com
www.HappyFaceGenerator.com
www.DangerSignGenerator.com
HolyBiblesSearch:
Internet Search:

www.WHAK.com

www.MAKE-A-MEME.com
www.HolyBibleVerse.com

www.SignGenerator.org

www.MedChecker.com

www.SeekFreak.com

www.Syncrisis.com

www.Presearcher.com

www.SirSeek.com

www.FotoTrix.com

www.BoobSigns.com

www.Canuckster.com

me.ddleso.me

www.9lbs.com

www.TXT2PIC.com

www.FakeMagazineCover.com

www.Trollize.com

www.FanSignGenerator.com

www.Holy-Bibles.org

www.Is-A-Jerk.com

www.HolyBibleSearch.com
www.SillyWebcam.com
www.SillyScenes.com
www.Seekerific.com
www.Nerdful.com
www.BodySwitcher.com
www.13KG.com
www.SpareSomeChange.com
www.FloppyApps.com
www.MaxSpider.com
www.ChatPhobia.com
www.SirSeek.com
www.HappyFaceGenerator.com
www.DangerSignGenerator.com
HolyBiblesSearch:
Internet Search:

www.WHAK.com

www.MAKE-A-MEME.com
www.HolyBibleVerse.com

www.SignGenerator.org

www.MedChecker.com

www.SeekFreak.com

www.Syncrisis.com

www.Presearcher.com

www.SirSeek.com

www.FotoTrix.com

www.BoobSigns.com

www.Canuckster.com

me.ddleso.me

www.9lbs.com

www.TXT2PIC.com

www.FakeMagazineCover.com

www.Trollize.com

www.FanSignGenerator.com

www.Holy-Bibles.org

www.Is-A-Jerk.com

www.HolyBibleSearch.com
www.SillyWebcam.com
www.SillyScenes.com
www.Seekerific.com
www.Nerdful.com
www.BodySwitcher.com
www.13KG.com
www.SpareSomeChange.com
www.FloppyApps.com
www.MaxSpider.com
www.ChatPhobia.com
www.SirSeek.com
www.HappyFaceGenerator.com
www.DangerSignGenerator.com
HolyBiblesSearch:
Internet Search:

www.WHAK.com

www.MAKE-A-MEME.com
www.HolyBibleVerse.com

www.SignGenerator.org

www.MedChecker.com

www.SeekFreak.com

www.Syncrisis.com

www.Presearcher.com

www.SirSeek.com

www.FotoTrix.com

www.BoobSigns.com

www.Canuckster.com

me.ddleso.me

www.9lbs.com

www.TXT2PIC.com

www.FakeMagazineCover.com

www.Trollize.com

www.FanSignGenerator.com

www.Holy-Bibles.org

www.Is-A-Jerk.com

www.HolyBibleSearch.com
www.SillyWebcam.com
www.SillyScenes.com
www.Seekerific.com
www.Nerdful.com
www.BodySwitcher.com
www.13KG.com
www.SpareSomeChange.com
www.FloppyApps.com
www.MaxSpider.com
www.ChatPhobia.com
www.SirSeek.com
www.HappyFaceGenerator.com
www.DangerSignGenerator.com
HolyBiblesSearch:
Internet Search:

www.WHAK.com

www.MAKE-A-MEME.com
www.HolyBibleVerse.com

www.SignGenerator.org

www.MedChecker.com

www.SeekFreak.com

www.Syncrisis.com

www.Presearcher.com

www.SirSeek.com

www.FotoTrix.com

www.BoobSigns.com

www.Canuckster.com

me.ddleso.me

www.9lbs.com

www.TXT2PIC.com

www.FakeMagazineCover.com

www.Trollize.com

www.FanSignGenerator.com

www.Holy-Bibles.org

www.Is-A-Jerk.com

www.HolyBibleSearch.com
www.SillyWebcam.com
www.SillyScenes.com
www.Seekerific.com
www.Nerdful.com
www.BodySwitcher.com
www.13KG.com
www.SpareSomeChange.com
www.FloppyApps.com
www.MaxSpider.com
www.ChatPhobia.com
www.SirSeek.com
www.HappyFaceGenerator.com
www.DangerSignGenerator.com
HolyBiblesSearch:
Internet Search:

www.WHAK.com

www.MAKE-A-MEME.com
www.HolyBibleVerse.com

www.SignGenerator.org

www.MedChecker.com

www.SeekFreak.com

www.Syncrisis.com

www.Presearcher.com

www.SirSeek.com

www.FotoTrix.com

www.BoobSigns.com

www.Canuckster.com

me.ddleso.me

www.9lbs.com

www.TXT2PIC.com

www.FakeMagazineCover.com

www.Trollize.com

www.FanSignGenerator.com

www.Holy-Bibles.org

www.Is-A-Jerk.com

www.HolyBibleSearch.com
www.SillyWebcam.com
www.SillyScenes.com
www.Seekerific.com
www.Nerdful.com
www.BodySwitcher.com
www.13KG.com
www.SpareSomeChange.com
www.FloppyApps.com
www.MaxSpider.com
www.ChatPhobia.com
www.SirSeek.com
www.HappyFaceGenerator.com
www.DangerSignGenerator.com
HolyBiblesSearch:
Internet Search:

www.WHAK.com

www.MAKE-A-MEME.com
www.HolyBibleVerse.com

www.SignGenerator.org

www.MedChecker.com

www.SeekFreak.com

www.Syncrisis.com

www.Presearcher.com

www.SirSeek.com

www.FotoTrix.com

www.BoobSigns.com

www.Canuckster.com

me.ddleso.me

www.9lbs.com

www.TXT2PIC.com

www.FakeMagazineCover.com

www.Trollize.com

www.FanSignGenerator.com

www.Holy-Bibles.org

www.Is-A-Jerk.com

www.HolyBibleSearch.com
www.SillyWebcam.com
www.SillyScenes.com
www.Seekerific.com
www.Nerdful.com
www.BodySwitcher.com
www.13KG.com
www.SpareSomeChange.com
www.FloppyApps.com
www.MaxSpider.com
www.ChatPhobia.com
www.SirSeek.com
www.HappyFaceGenerator.com
www.DangerSignGenerator.com
HolyBiblesSearch:
Internet Search:

www.WHAK.com

www.MAKE-A-MEME.com
www.HolyBibleVerse.com

www.SignGenerator.org

www.MedChecker.com

www.SeekFreak.com

www.Syncrisis.com

www.Presearcher.com

www.SirSeek.com

www.FotoTrix.com

www.BoobSigns.com

www.Canuckster.com

me.ddleso.me

www.9lbs.com

www.TXT2PIC.com

www.FakeMagazineCover.com

www.Trollize.com

www.FanSignGenerator.com

www.Holy-Bibles.org

www.Is-A-Jerk.com

www.HolyBibleSearch.com
www.SillyWebcam.com
www.SillyScenes.com
www.Seekerific.com
www.Nerdful.com
www.BodySwitcher.com
www.13KG.com
www.SpareSomeChange.com
www.FloppyApps.com
www.MaxSpider.com
www.ChatPhobia.com
www.SirSeek.com
www.HappyFaceGenerator.com
www.DangerSignGenerator.com
HolyBiblesSearch:
Internet Search:

www.WHAK.com

www.MAKE-A-MEME.com
www.HolyBibleVerse.com

www.SignGenerator.org

www.MedChecker.com

www.SeekFreak.com

www.Syncrisis.com

www.Presearcher.com

www.SirSeek.com

www.FotoTrix.com

www.BoobSigns.com

www.Canuckster.com

me.ddleso.me

www.9lbs.com

www.TXT2PIC.com

www.FakeMagazineCover.com

www.Trollize.com

www.FanSignGenerator.com

www.Holy-Bibles.org

www.Is-A-Jerk.com

www.HolyBibleSearch.com
www.SillyWebcam.com
www.SillyScenes.com
www.Seekerific.com
www.Nerdful.com
www.BodySwitcher.com
www.13KG.com
www.SpareSomeChange.com
www.FloppyApps.com
www.MaxSpider.com
www.ChatPhobia.com
www.SirSeek.com
www.HappyFaceGenerator.com
www.DangerSignGenerator.com
HolyBiblesSearch:
Internet Search:

www.WHAK.com

www.MAKE-A-MEME.com
www.HolyBibleVerse.com

www.SignGenerator.org

www.MedChecker.com

www.SeekFreak.com

www.Syncrisis.com

www.Presearcher.com

www.SirSeek.com

www.FotoTrix.com

www.BoobSigns.com

www.Canuckster.com

me.ddleso.me

www.9lbs.com

www.TXT2PIC.com

www.FakeMagazineCover.com

www.Trollize.com

www.FanSignGenerator.com

www.Holy-Bibles.org

www.Is-A-Jerk.com

www.HolyBibleSearch.com
www.SillyWebcam.com
www.SillyScenes.com
www.Seekerific.com
www.Nerdful.com
www.BodySwitcher.com
www.13KG.com
www.SpareSomeChange.com
www.FloppyApps.com
www.MaxSpider.com
www.ChatPhobia.com
www.SirSeek.com
www.HappyFaceGenerator.com
www.DangerSignGenerator.com
HolyBiblesSearch:
Internet Search:

www.WHAK.com

www.MAKE-A-MEME.com
www.HolyBibleVerse.com

www.SignGenerator.org

www.MedChecker.com

www.SeekFreak.com

www.Syncrisis.com

www.Presearcher.com

www.SirSeek.com

www.FotoTrix.com

www.BoobSigns.com

www.Canuckster.com

me.ddleso.me

www.9lbs.com

www.TXT2PIC.com

www.FakeMagazineCover.com

www.Trollize.com

www.FanSignGenerator.com

www.Holy-Bibles.org

www.Is-A-Jerk.com

www.HolyBibleSearch.com
www.SillyWebcam.com
www.SillyScenes.com
www.Seekerific.com
www.Nerdful.com
www.BodySwitcher.com
www.13KG.com
www.SpareSomeChange.com
www.FloppyApps.com
www.MaxSpider.com
www.ChatPhobia.com
www.SirSeek.com
www.HappyFaceGenerator.com
www.DangerSignGenerator.com
HolyBiblesSearch:
Internet Search:

www.WHAK.com

www.MAKE-A-MEME.com
www.HolyBibleVerse.com

www.SignGenerator.org

www.MedChecker.com

www.SeekFreak.com

www.Syncrisis.com

www.Presearcher.com

www.SirSeek.com

www.FotoTrix.com

www.BoobSigns.com

www.Canuckster.com

me.ddleso.me

www.9lbs.com

www.TXT2PIC.com

www.FakeMagazineCover.com

www.Trollize.com

www.FanSignGenerator.com

www.Holy-Bibles.org

www.Is-A-Jerk.com

www.HolyBibleSearch.com
www.SillyWebcam.com
www.SillyScenes.com
www.Seekerific.com
www.Nerdful.com
www.BodySwitcher.com
www.13KG.com
www.SpareSomeChange.com
www.FloppyApps.com
www.MaxSpider.com
www.ChatPhobia.com
www.SirSeek.com
www.HappyFaceGenerator.com
www.DangerSignGenerator.com
HolyBiblesSearch:
Internet Search:

www.WHAK.com

www.MAKE-A-MEME.com
www.HolyBibleVerse.com

www.SignGenerator.org

www.MedChecker.com

www.SeekFreak.com

www.Syncrisis.com

www.Presearcher.com

www.SirSeek.com

www.FotoTrix.com

www.BoobSigns.com

www.Canuckster.com

me.ddleso.me

www.9lbs.com

www.TXT2PIC.com

www.FakeMagazineCover.com

www.Trollize.com

www.FanSignGenerator.com

www.Holy-Bibles.org

www.Is-A-Jerk.com

www.HolyBibleSearch.com
www.SillyWebcam.com
www.SillyScenes.com
www.Seekerific.com
www.Nerdful.com
www.BodySwitcher.com
www.13KG.com
www.SpareSomeChange.com
www.FloppyApps.com
www.MaxSpider.com
www.ChatPhobia.com
www.SirSeek.com
www.HappyFaceGenerator.com
www.DangerSignGenerator.com
HolyBiblesSearch:
Internet Search:

www.WHAK.com

www.MAKE-A-MEME.com
www.HolyBibleVerse.com

www.SignGenerator.org

www.MedChecker.com

www.SeekFreak.com

www.Syncrisis.com

www.Presearcher.com

www.SirSeek.com

www.FotoTrix.com

www.BoobSigns.com

www.Canuckster.com

me.ddleso.me

www.9lbs.com

www.TXT2PIC.com

www.FakeMagazineCover.com

www.Trollize.com

www.FanSignGenerator.com

www.Holy-Bibles.org

www.Is-A-Jerk.com

www.HolyBibleSearch.com
www.SillyWebcam.com
www.SillyScenes.com
www.Seekerific.com
www.Nerdful.com
www.BodySwitcher.com
www.13KG.com
www.SpareSomeChange.com
www.FloppyApps.com
www.MaxSpider.com
www.ChatPhobia.com
www.SirSeek.com
www.HappyFaceGenerator.com
www.DangerSignGenerator.com
HolyBiblesSearch:
Internet Search:

www.WHAK.com

www.MAKE-A-MEME.com
www.HolyBibleVerse.com

www.SignGenerator.org

www.MedChecker.com

www.SeekFreak.com

www.Syncrisis.com

www.Presearcher.com

www.SirSeek.com

www.FotoTrix.com

www.BoobSigns.com

www.Canuckster.com

me.ddleso.me

www.9lbs.com

www.TXT2PIC.com

www.FakeMagazineCover.com

www.Trollize.com

www.FanSignGenerator.com

www.Holy-Bibles.org

www.Is-A-Jerk.com

www.HolyBibleSearch.com
www.SillyWebcam.com
www.SillyScenes.com
www.Seekerific.com
www.Nerdful.com
www.BodySwitcher.com
www.13KG.com
www.SpareSomeChange.com
www.FloppyApps.com
www.MaxSpider.com
www.ChatPhobia.com
www.SirSeek.com
www.HappyFaceGenerator.com
www.DangerSignGenerator.com
HolyBiblesSearch:
Internet Search:

www.WHAK.com

www.MAKE-A-MEME.com
www.HolyBibleVerse.com

www.SignGenerator.org

www.MedChecker.com

www.SeekFreak.com

www.Syncrisis.com

www.Presearcher.com

www.SirSeek.com

www.FotoTrix.com

www.BoobSigns.com

www.Canuckster.com

me.ddleso.me

www.9lbs.com

www.TXT2PIC.com

www.FakeMagazineCover.com

www.Trollize.com

www.FanSignGenerator.com

www.Holy-Bibles.org

www.Is-A-Jerk.com

www.HolyBibleSearch.com
www.SillyWebcam.com
www.SillyScenes.com
www.Seekerific.com
www.Nerdful.com
www.BodySwitcher.com
www.13KG.com
www.SpareSomeChange.com
www.FloppyApps.com
www.MaxSpider.com
www.ChatPhobia.com
www.SirSeek.com
www.HappyFaceGenerator.com
www.DangerSignGenerator.com
HolyBiblesSearch:
Internet Search:

www.WHAK.com

www.MAKE-A-MEME.com
www.HolyBibleVerse.com

www.SignGenerator.org

www.MedChecker.com

www.SeekFreak.com

www.Syncrisis.com

www.Presearcher.com

www.SirSeek.com

www.FotoTrix.com

www.BoobSigns.com

www.Canuckster.com

me.ddleso.me

www.9lbs.com

www.TXT2PIC.com

www.FakeMagazineCover.com

www.Trollize.com

www.FanSignGenerator.com

www.Holy-Bibles.org

www.Is-A-Jerk.com

www.HolyBibleSearch.com
www.SillyWebcam.com
www.SillyScenes.com
www.Seekerific.com
www.Nerdful.com
www.BodySwitcher.com
www.13KG.com
www.SpareSomeChange.com
www.FloppyApps.com
www.MaxSpider.com
www.ChatPhobia.com
www.SirSeek.com
www.HappyFaceGenerator.com
www.DangerSignGenerator.com
HolyBiblesSearch:
Internet Search:

www.WHAK.com

www.MAKE-A-MEME.com
www.HolyBibleVerse.com

www.SignGenerator.org

www.MedChecker.com

www.SeekFreak.com

www.Syncrisis.com

www.Presearcher.com

www.SirSeek.com

www.FotoTrix.com

www.BoobSigns.com

www.Canuckster.com

me.ddleso.me

www.9lbs.com

www.TXT2PIC.com

www.FakeMagazineCover.com

www.Trollize.com

www.FanSignGenerator.com

www.Holy-Bibles.org

www.Is-A-Jerk.com

www.HolyBibleSearch.com
www.SillyWebcam.com
www.SillyScenes.com
www.Seekerific.com
www.Nerdful.com
www.BodySwitcher.com
www.13KG.com
www.SpareSomeChange.com
www.FloppyApps.com
www.MaxSpider.com
www.ChatPhobia.com
www.SirSeek.com
www.HappyFaceGenerator.com
www.DangerSignGenerator.com
HolyBiblesSearch:
Internet Search:

www.WHAK.com

www.MAKE-A-MEME.com
www.HolyBibleVerse.com

www.SignGenerator.org

www.MedChecker.com

www.SeekFreak.com

www.Syncrisis.com

www.Presearcher.com

www.SirSeek.com

www.FotoTrix.com

www.BoobSigns.com

www.Canuckster.com

me.ddleso.me

www.9lbs.com

www.TXT2PIC.com

www.FakeMagazineCover.com

www.Trollize.com

www.FanSignGenerator.com

www.Holy-Bibles.org

www.Is-A-Jerk.com

www.HolyBibleSearch.com
www.SillyWebcam.com
www.SillyScenes.com
www.Seekerific.com
www.Nerdful.com
www.BodySwitcher.com
www.13KG.com
www.SpareSomeChange.com
www.FloppyApps.com
www.MaxSpider.com
www.ChatPhobia.com
www.SirSeek.com
www.HappyFaceGenerator.com
www.DangerSignGenerator.com
HolyBiblesSearch:
Internet Search:

www.WHAK.com

www.MAKE-A-MEME.com
www.HolyBibleVerse.com

www.SignGenerator.org

www.MedChecker.com

www.SeekFreak.com

www.Syncrisis.com

www.Presearcher.com

www.SirSeek.com

www.FotoTrix.com

www.BoobSigns.com

www.Canuckster.com

me.ddleso.me

www.9lbs.com

www.TXT2PIC.com

www.FakeMagazineCover.com

www.Trollize.com

www.FanSignGenerator.com

www.Holy-Bibles.org

www.Is-A-Jerk.com

www.HolyBibleSearch.com
www.SillyWebcam.com
www.SillyScenes.com
www.Seekerific.com
www.Nerdful.com
www.BodySwitcher.com
www.13KG.com
www.SpareSomeChange.com
www.FloppyApps.com
www.MaxSpider.com
www.ChatPhobia.com
www.SirSeek.com
www.HappyFaceGenerator.com
www.DangerSignGenerator.com
HolyBiblesSearch:
Internet Search:

www.WHAK.com

www.MAKE-A-MEME.com
www.HolyBibleVerse.com

www.SignGenerator.org

www.MedChecker.com

www.SeekFreak.com

www.Syncrisis.com

www.Presearcher.com

www.SirSeek.com

www.FotoTrix.com

www.BoobSigns.com

www.Canuckster.com

me.ddleso.me

www.9lbs.com

www.TXT2PIC.com

www.FakeMagazineCover.com

www.Trollize.com

www.FanSignGenerator.com

www.Holy-Bibles.org

www.Is-A-Jerk.com

www.HolyBibleSearch.com
www.SillyWebcam.com
www.SillyScenes.com
www.Seekerific.com
www.Nerdful.com
www.BodySwitcher.com
www.13KG.com
www.SpareSomeChange.com
www.FloppyApps.com
www.MaxSpider.com
www.ChatPhobia.com
www.SirSeek.com
www.HappyFaceGenerator.com
www.DangerSignGenerator.com
HolyBiblesSearch:
Internet Search:

www.WHAK.com

www.MAKE-A-MEME.com
www.HolyBibleVerse.com

www.SignGenerator.org

www.MedChecker.com

www.SeekFreak.com

www.Syncrisis.com

www.Presearcher.com

www.SirSeek.com

www.FotoTrix.com

www.BoobSigns.com

www.Canuckster.com

me.ddleso.me

www.9lbs.com

www.TXT2PIC.com

www.FakeMagazineCover.com

www.Trollize.com

www.FanSignGenerator.com

www.Holy-Bibles.org

www.Is-A-Jerk.com

www.HolyBibleSearch.com
www.SillyWebcam.com
www.SillyScenes.com
www.Seekerific.com
www.Nerdful.com
www.BodySwitcher.com
www.13KG.com
www.SpareSomeChange.com
www.FloppyApps.com
www.MaxSpider.com
www.ChatPhobia.com
www.SirSeek.com
www.HappyFaceGenerator.com
www.DangerSignGenerator.com
HolyBiblesSearch:
Internet Search:

www.WHAK.com

www.MAKE-A-MEME.com
www.HolyBibleVerse.com

www.SignGenerator.org

www.MedChecker.com

www.SeekFreak.com

www.Syncrisis.com

www.Presearcher.com

www.SirSeek.com

www.FotoTrix.com

www.BoobSigns.com

www.Canuckster.com

me.ddleso.me

www.9lbs.com

www.TXT2PIC.com

www.FakeMagazineCover.com

www.Trollize.com

www.FanSignGenerator.com

www.Holy-Bibles.org

www.Is-A-Jerk.com

www.HolyBibleSearch.com
www.SillyWebcam.com
www.SillyScenes.com
www.Seekerific.com
www.Nerdful.com
www.BodySwitcher.com
www.13KG.com
www.SpareSomeChange.com
www.FloppyApps.com
www.MaxSpider.com
www.ChatPhobia.com
www.SirSeek.com
www.HappyFaceGenerator.com
www.DangerSignGenerator.com
HolyBiblesSearch:
Internet Search:

www.WHAK.com

www.MAKE-A-MEME.com
www.HolyBibleVerse.com

www.SignGenerator.org

www.MedChecker.com

www.SeekFreak.com

www.Syncrisis.com

www.Presearcher.com

www.SirSeek.com

www.FotoTrix.com

www.BoobSigns.com

www.Canuckster.com

me.ddleso.me

www.9lbs.com

www.TXT2PIC.com

www.FakeMagazineCover.com

www.Trollize.com

www.FanSignGenerator.com

www.Holy-Bibles.org

www.Is-A-Jerk.com

www.HolyBibleSearch.com
www.SillyWebcam.com
www.SillyScenes.com
www.Seekerific.com
www.Nerdful.com
www.BodySwitcher.com
www.13KG.com
www.SpareSomeChange.com
www.FloppyApps.com
www.MaxSpider.com
www.ChatPhobia.com
www.SirSeek.com
www.HappyFaceGenerator.com
www.DangerSignGenerator.com
HolyBiblesSearch:
Internet Search:

www.WHAK.com

www.MAKE-A-MEME.com
www.HolyBibleVerse.com

www.SignGenerator.org

www.MedChecker.com

www.SeekFreak.com

www.Syncrisis.com

www.Presearcher.com

www.SirSeek.com

www.FotoTrix.com

www.BoobSigns.com

www.Canuckster.com

me.ddleso.me

www.9lbs.com

www.TXT2PIC.com

www.FakeMagazineCover.com

www.Trollize.com

www.FanSignGenerator.com

www.Holy-Bibles.org

www.Is-A-Jerk.com

www.HolyBibleSearch.com
www.SillyWebcam.com
www.SillyScenes.com
www.Seekerific.com
www.Nerdful.com
www.BodySwitcher.com
www.13KG.com
www.SpareSomeChange.com
www.FloppyApps.com
www.MaxSpider.com
www.ChatPhobia.com
www.SirSeek.com
www.HappyFaceGenerator.com
www.DangerSignGenerator.com
HolyBiblesSearch:
Internet Search:

www.WHAK.com

www.MAKE-A-MEME.com
www.HolyBibleVerse.com

www.SignGenerator.org

www.MedChecker.com

www.SeekFreak.com

www.Syncrisis.com

www.Presearcher.com

www.SirSeek.com

www.FotoTrix.com

www.BoobSigns.com

www.Canuckster.com

me.ddleso.me

www.9lbs.com

www.TXT2PIC.com

www.FakeMagazineCover.com

www.Trollize.com

www.FanSignGenerator.com

www.Holy-Bibles.org

www.Is-A-Jerk.com

www.HolyBibleSearch.com
www.SillyWebcam.com
www.SillyScenes.com
www.Seekerific.com
www.Nerdful.com
www.BodySwitcher.com
www.13KG.com
www.SpareSomeChange.com
www.FloppyApps.com
www.MaxSpider.com
www.ChatPhobia.com
www.SirSeek.com
www.HappyFaceGenerator.com
www.DangerSignGenerator.com
HolyBiblesSearch:
Internet Search:

www.WHAK.com

www.MAKE-A-MEME.com
www.HolyBibleVerse.com

www.SignGenerator.org

www.MedChecker.com

www.SeekFreak.com

www.Syncrisis.com

www.Presearcher.com

www.SirSeek.com

www.FotoTrix.com

www.BoobSigns.com

www.Canuckster.com

me.ddleso.me

www.9lbs.com

www.TXT2PIC.com

www.FakeMagazineCover.com

www.Trollize.com

www.FanSignGenerator.com

www.Holy-Bibles.org

www.Is-A-Jerk.com

www.HolyBibleSearch.com
www.SillyWebcam.com
www.SillyScenes.com
www.Seekerific.com
www.Nerdful.com
www.BodySwitcher.com
www.13KG.com
www.SpareSomeChange.com
www.FloppyApps.com
www.MaxSpider.com
www.ChatPhobia.com
www.SirSeek.com
www.HappyFaceGenerator.com
www.DangerSignGenerator.com
HolyBiblesSearch:
Internet Search:

www.WHAK.com

www.MAKE-A-MEME.com
www.HolyBibleVerse.com

www.SignGenerator.org

www.MedChecker.com

www.SeekFreak.com

www.Syncrisis.com

www.Presearcher.com

www.SirSeek.com

www.FotoTrix.com

www.BoobSigns.com

www.Canuckster.com

me.ddleso.me

www.9lbs.com

www.TXT2PIC.com

www.FakeMagazineCover.com

www.Trollize.com

www.FanSignGenerator.com

www.Holy-Bibles.org

www.Is-A-Jerk.com

www.HolyBibleSearch.com
www.SillyWebcam.com
www.SillyScenes.com
www.Seekerific.com
www.Nerdful.com
www.BodySwitcher.com
www.13KG.com
www.SpareSomeChange.com
www.FloppyApps.com
www.MaxSpider.com
www.ChatPhobia.com
www.SirSeek.com
www.HappyFaceGenerator.com
www.DangerSignGenerator.com
HolyBiblesSearch:
Internet Search:

www.WHAK.com

www.MAKE-A-MEME.com
www.HolyBibleVerse.com

www.SignGenerator.org

www.MedChecker.com

www.SeekFreak.com

www.Syncrisis.com

www.Presearcher.com

www.SirSeek.com

www.FotoTrix.com

www.BoobSigns.com

www.Canuckster.com

me.ddleso.me

www.9lbs.com

www.TXT2PIC.com

www.FakeMagazineCover.com

www.Trollize.com

www.FanSignGenerator.com

www.Holy-Bibles.org

www.Is-A-Jerk.com

www.HolyBibleSearch.com
www.SillyWebcam.com
www.SillyScenes.com
www.Seekerific.com
www.Nerdful.com
www.BodySwitcher.com
www.13KG.com
www.SpareSomeChange.com
www.FloppyApps.com
www.MaxSpider.com
www.ChatPhobia.com
www.SirSeek.com
www.HappyFaceGenerator.com
www.DangerSignGenerator.com
HolyBiblesSearch:
Internet Search:

www.WHAK.com

www.MAKE-A-MEME.com
www.HolyBibleVerse.com

www.SignGenerator.org

www.MedChecker.com

www.SeekFreak.com

www.Syncrisis.com

www.Presearcher.com

www.SirSeek.com

www.FotoTrix.com

www.BoobSigns.com

www.Canuckster.com

me.ddleso.me

www.9lbs.com

www.TXT2PIC.com

www.FakeMagazineCover.com

www.Trollize.com

www.FanSignGenerator.com

www.Holy-Bibles.org

www.Is-A-Jerk.com

www.HolyBibleSearch.com
www.SillyWebcam.com
www.SillyScenes.com
www.Seekerific.com
www.Nerdful.com
www.BodySwitcher.com
www.13KG.com
www.SpareSomeChange.com
www.FloppyApps.com
www.MaxSpider.com
www.ChatPhobia.com
www.SirSeek.com
www.HappyFaceGenerator.com
www.DangerSignGenerator.com
HolyBiblesSearch:
Internet Search:

www.WHAK.com

www.MAKE-A-MEME.com
www.HolyBibleVerse.com

www.SignGenerator.org

www.MedChecker.com

www.SeekFreak.com

www.Syncrisis.com

www.Presearcher.com

www.SirSeek.com

www.FotoTrix.com

www.BoobSigns.com

www.Canuckster.com

me.ddleso.me

www.9lbs.com

www.TXT2PIC.com

www.FakeMagazineCover.com

www.Trollize.com

www.FanSignGenerator.com

www.Holy-Bibles.org

www.Is-A-Jerk.com

www.HolyBibleSearch.com
www.SillyWebcam.com
www.SillyScenes.com
www.Seekerific.com
www.Nerdful.com
www.BodySwitcher.com
www.13KG.com
www.SpareSomeChange.com
www.FloppyApps.com
www.MaxSpider.com
www.ChatPhobia.com
www.SirSeek.com
www.HappyFaceGenerator.com
www.DangerSignGenerator.com
HolyBiblesSearch:
Internet Search:

www.WHAK.com

www.MAKE-A-MEME.com
www.HolyBibleVerse.com

www.SignGenerator.org

www.MedChecker.com

www.SeekFreak.com

www.Syncrisis.com

www.Presearcher.com

www.SirSeek.com

www.FotoTrix.com

www.BoobSigns.com

www.Canuckster.com

me.ddleso.me

www.9lbs.com

www.TXT2PIC.com

www.FakeMagazineCover.com

www.Trollize.com

www.FanSignGenerator.com

www.Holy-Bibles.org

www.Is-A-Jerk.com

www.HolyBibleSearch.com
www.SillyWebcam.com
www.SillyScenes.com
www.Seekerific.com
www.Nerdful.com
www.BodySwitcher.com
www.13KG.com
www.SpareSomeChange.com
www.FloppyApps.com
www.MaxSpider.com
www.ChatPhobia.com
www.SirSeek.com
www.HappyFaceGenerator.com
www.DangerSignGenerator.com
HolyBiblesSearch:
Internet Search:

www.WHAK.com

www.MAKE-A-MEME.com
www.HolyBibleVerse.com

www.SignGenerator.org

www.MedChecker.com

www.SeekFreak.com

www.Syncrisis.com

www.Presearcher.com

www.SirSeek.com

www.FotoTrix.com

www.BoobSigns.com

www.Canuckster.com

me.ddleso.me

www.9lbs.com

www.TXT2PIC.com

www.FakeMagazineCover.com

www.Trollize.com

www.FanSignGenerator.com

www.Holy-Bibles.org

www.Is-A-Jerk.com

www.HolyBibleSearch.com
www.SillyWebcam.com
www.SillyScenes.com
www.Seekerific.com
www.Nerdful.com
www.BodySwitcher.com
www.13KG.com
www.SpareSomeChange.com
www.FloppyApps.com
www.MaxSpider.com
www.ChatPhobia.com
www.SirSeek.com
www.HappyFaceGenerator.com
www.DangerSignGenerator.com
HolyBiblesSearch:
Internet Search:

www.WHAK.com

www.MAKE-A-MEME.com
www.HolyBibleVerse.com

www.SignGenerator.org

www.MedChecker.com

www.SeekFreak.com

www.Syncrisis.com

www.Presearcher.com

www.SirSeek.com

www.FotoTrix.com

www.BoobSigns.com

www.Canuckster.com

me.ddleso.me

www.9lbs.com

www.TXT2PIC.com

www.FakeMagazineCover.com

www.Trollize.com

www.FanSignGenerator.com

www.Holy-Bibles.org

www.Is-A-Jerk.com

www.HolyBibleSearch.com
www.SillyWebcam.com
www.SillyScenes.com
www.Seekerific.com
www.Nerdful.com
www.BodySwitcher.com
www.13KG.com
www.SpareSomeChange.com
www.FloppyApps.com
www.MaxSpider.com
www.ChatPhobia.com
www.SirSeek.com
www.HappyFaceGenerator.com
www.DangerSignGenerator.com
HolyBiblesSearch:
Internet Search:

www.WHAK.com

www.MAKE-A-MEME.com
www.HolyBibleVerse.com

www.SignGenerator.org

www.MedChecker.com

www.SeekFreak.com

www.Syncrisis.com

www.Presearcher.com

www.SirSeek.com

www.FotoTrix.com

www.BoobSigns.com

www.Canuckster.com

me.ddleso.me

www.9lbs.com

www.TXT2PIC.com

www.FakeMagazineCover.com

www.Trollize.com

www.FanSignGenerator.com

www.Holy-Bibles.org

www.Is-A-Jerk.com

www.HolyBibleSearch.com
www.SillyWebcam.com
www.SillyScenes.com
www.Seekerific.com
www.Nerdful.com
www.BodySwitcher.com
www.13KG.com
www.SpareSomeChange.com
www.FloppyApps.com
www.MaxSpider.com
www.ChatPhobia.com
www.SirSeek.com
www.HappyFaceGenerator.com
www.DangerSignGenerator.com
HolyBiblesSearch:
Internet Search:

www.WHAK.com

www.MAKE-A-MEME.com
www.HolyBibleVerse.com

www.SignGenerator.org

www.MedChecker.com

www.SeekFreak.com

www.Syncrisis.com

www.Presearcher.com

www.SirSeek.com

www.FotoTrix.com

www.BoobSigns.com

www.Canuckster.com

me.ddleso.me

www.9lbs.com

www.TXT2PIC.com

www.FakeMagazineCover.com

www.Trollize.com

www.FanSignGenerator.com

www.Holy-Bibles.org

www.Is-A-Jerk.com

www.HolyBibleSearch.com
www.SillyWebcam.com
www.SillyScenes.com
www.Seekerific.com
www.Nerdful.com
www.BodySwitcher.com
www.13KG.com
www.SpareSomeChange.com
www.FloppyApps.com
www.MaxSpider.com
www.ChatPhobia.com
www.SirSeek.com
www.HappyFaceGenerator.com
www.DangerSignGenerator.com
HolyBiblesSearch:
Internet Search:

www.WHAK.com

www.MAKE-A-MEME.com
www.HolyBibleVerse.com

www.SignGenerator.org

www.MedChecker.com

www.SeekFreak.com

www.Syncrisis.com

www.Presearcher.com

www.SirSeek.com

www.FotoTrix.com

www.BoobSigns.com

www.Canuckster.com

me.ddleso.me

www.9lbs.com

www.TXT2PIC.com

www.FakeMagazineCover.com

www.Trollize.com

www.FanSignGenerator.com

www.Holy-Bibles.org

www.Is-A-Jerk.com

www.HolyBibleSearch.com
www.SillyWebcam.com
www.SillyScenes.com
www.Seekerific.com
www.Nerdful.com
www.BodySwitcher.com
www.13KG.com
www.SpareSomeChange.com
www.FloppyApps.com
www.MaxSpider.com
www.ChatPhobia.com
www.SirSeek.com
www.HappyFaceGenerator.com
www.DangerSignGenerator.com
HolyBiblesSearch:
Internet Search:

www.WHAK.com

www.MAKE-A-MEME.com
www.HolyBibleVerse.com

www.SignGenerator.org

www.MedChecker.com

www.SeekFreak.com

www.Syncrisis.com

www.Presearcher.com

www.SirSeek.com

www.FotoTrix.com

www.BoobSigns.com

www.Canuckster.com

me.ddleso.me

www.9lbs.com

www.TXT2PIC.com

www.FakeMagazineCover.com

www.Trollize.com

www.FanSignGenerator.com

www.Holy-Bibles.org

www.Is-A-Jerk.com

www.HolyBibleSearch.com
www.SillyWebcam.com
www.SillyScenes.com
www.Seekerific.com
www.Nerdful.com
www.BodySwitcher.com
www.13KG.com
www.SpareSomeChange.com
www.FloppyApps.com
www.MaxSpider.com
www.ChatPhobia.com
www.SirSeek.com
www.HappyFaceGenerator.com
www.DangerSignGenerator.com
HolyBiblesSearch:
Internet Search:

www.WHAK.com

www.MAKE-A-MEME.com
www.HolyBibleVerse.com

www.SignGenerator.org

www.MedChecker.com

www.SeekFreak.com

www.Syncrisis.com

www.Presearcher.com

www.SirSeek.com

www.FotoTrix.com

www.BoobSigns.com

www.Canuckster.com

me.ddleso.me

www.9lbs.com

www.TXT2PIC.com

www.FakeMagazineCover.com

www.Trollize.com

www.FanSignGenerator.com

www.Holy-Bibles.org

www.Is-A-Jerk.com

www.HolyBibleSearch.com
www.SillyWebcam.com
www.SillyScenes.com
www.Seekerific.com
www.Nerdful.com
www.BodySwitcher.com
www.13KG.com
www.SpareSomeChange.com
www.FloppyApps.com
www.MaxSpider.com
www.ChatPhobia.com
www.SirSeek.com
www.HappyFaceGenerator.com
www.DangerSignGenerator.com
HolyBiblesSearch:
Internet Search:

www.WHAK.com

www.MAKE-A-MEME.com
www.HolyBibleVerse.com

www.SignGenerator.org

www.MedChecker.com

www.SeekFreak.com

www.Syncrisis.com

www.Presearcher.com

www.SirSeek.com

www.FotoTrix.com

www.BoobSigns.com

www.Canuckster.com

me.ddleso.me

www.9lbs.com

www.TXT2PIC.com

www.FakeMagazineCover.com

www.Trollize.com

www.FanSignGenerator.com

www.Holy-Bibles.org

www.Is-A-Jerk.com

www.HolyBibleSearch.com
www.SillyWebcam.com
www.SillyScenes.com
www.Seekerific.com
www.Nerdful.com
www.BodySwitcher.com
www.13KG.com
www.SpareSomeChange.com
www.FloppyApps.com
www.MaxSpider.com
www.ChatPhobia.com
www.SirSeek.com
www.HappyFaceGenerator.com
www.DangerSignGenerator.com
HolyBiblesSearch:
Internet Search:

www.WHAK.com

www.MAKE-A-MEME.com
www.HolyBibleVerse.com

www.SignGenerator.org

www.MedChecker.com

www.SeekFreak.com

www.Syncrisis.com

www.Presearcher.com

www.SirSeek.com

www.FotoTrix.com

www.BoobSigns.com

www.Canuckster.com

me.ddleso.me

www.9lbs.com

www.TXT2PIC.com

www.FakeMagazineCover.com

www.Trollize.com

www.FanSignGenerator.com

www.Holy-Bibles.org

www.Is-A-Jerk.com

www.HolyBibleSearch.com
www.SillyWebcam.com
www.SillyScenes.com
www.Seekerific.com
www.Nerdful.com
www.BodySwitcher.com
www.13KG.com
www.SpareSomeChange.com
www.FloppyApps.com
www.MaxSpider.com
www.ChatPhobia.com
www.SirSeek.com
www.HappyFaceGenerator.com
www.DangerSignGenerator.com
HolyBiblesSearch:
Internet Search:

www.WHAK.com

www.MAKE-A-MEME.com
www.HolyBibleVerse.com

www.SignGenerator.org

www.MedChecker.com

www.SeekFreak.com

www.Syncrisis.com

www.Presearcher.com

www.SirSeek.com

www.FotoTrix.com

www.BoobSigns.com

www.Canuckster.com

me.ddleso.me

www.9lbs.com

www.TXT2PIC.com

www.FakeMagazineCover.com

www.Trollize.com

www.FanSignGenerator.com

www.Holy-Bibles.org

www.Is-A-Jerk.com

www.HolyBibleSearch.com
www.SillyWebcam.com
www.SillyScenes.com
www.Seekerific.com
www.Nerdful.com
www.BodySwitcher.com
www.13KG.com
www.SpareSomeChange.com
www.FloppyApps.com
www.MaxSpider.com
www.ChatPhobia.com
www.SirSeek.com
www.HappyFaceGenerator.com
www.DangerSignGenerator.com
HolyBiblesSearch:
Internet Search:

www.WHAK.com

www.MAKE-A-MEME.com
www.HolyBibleVerse.com

www.SignGenerator.org

www.MedChecker.com

www.SeekFreak.com

www.Syncrisis.com

www.Presearcher.com

www.SirSeek.com

www.FotoTrix.com

www.BoobSigns.com

www.Canuckster.com

me.ddleso.me

www.9lbs.com

www.TXT2PIC.com

www.FakeMagazineCover.com

www.Trollize.com

www.FanSignGenerator.com

www.Holy-Bibles.org

www.Is-A-Jerk.com

www.HolyBibleSearch.com
www.SillyWebcam.com
www.SillyScenes.com
www.Seekerific.com
www.Nerdful.com
www.BodySwitcher.com
www.13KG.com
www.SpareSomeChange.com
www.FloppyApps.com
www.MaxSpider.com
www.ChatPhobia.com
www.SirSeek.com
www.HappyFaceGenerator.com
www.DangerSignGenerator.com
HolyBiblesSearch:
Internet Search:

www.WHAK.com

www.MAKE-A-MEME.com
www.HolyBibleVerse.com

www.SignGenerator.org

www.MedChecker.com

www.SeekFreak.com

www.Syncrisis.com

www.Presearcher.com

www.SirSeek.com

www.FotoTrix.com

www.BoobSigns.com

www.Canuckster.com

me.ddleso.me

www.9lbs.com

www.TXT2PIC.com

www.FakeMagazineCover.com

www.Trollize.com

www.FanSignGenerator.com

www.Holy-Bibles.org

www.Is-A-Jerk.com

www.HolyBibleSearch.com
www.SillyWebcam.com
www.SillyScenes.com
www.Seekerific.com
www.Nerdful.com
www.BodySwitcher.com
www.13KG.com
www.SpareSomeChange.com
www.FloppyApps.com
www.MaxSpider.com
www.ChatPhobia.com
www.SirSeek.com
www.HappyFaceGenerator.com
www.DangerSignGenerator.com
HolyBiblesSearch:
Internet Search:

www.WHAK.com

www.MAKE-A-MEME.com
www.HolyBibleVerse.com

www.SignGenerator.org

www.MedChecker.com

www.SeekFreak.com

www.Syncrisis.com

www.Presearcher.com

www.SirSeek.com

www.FotoTrix.com

www.BoobSigns.com

www.Canuckster.com

me.ddleso.me

www.9lbs.com

www.TXT2PIC.com

www.FakeMagazineCover.com

www.Trollize.com

www.FanSignGenerator.com

www.Holy-Bibles.org

www.Is-A-Jerk.com

www.HolyBibleSearch.com
www.SillyWebcam.com
www.SillyScenes.com
www.Seekerific.com
www.Nerdful.com
www.BodySwitcher.com
www.13KG.com
www.SpareSomeChange.com
www.FloppyApps.com
www.MaxSpider.com
www.ChatPhobia.com
www.SirSeek.com
www.HappyFaceGenerator.com
www.DangerSignGenerator.com
HolyBiblesSearch:
Internet Search:

www.WHAK.com

www.MAKE-A-MEME.com
www.HolyBibleVerse.com

www.SignGenerator.org

www.MedChecker.com

www.SeekFreak.com

www.Syncrisis.com

www.Presearcher.com

www.SirSeek.com

www.FotoTrix.com

www.BoobSigns.com

www.Canuckster.com

me.ddleso.me

www.9lbs.com

www.TXT2PIC.com

www.FakeMagazineCover.com

www.Trollize.com

www.FanSignGenerator.com

www.Holy-Bibles.org

www.Is-A-Jerk.com

www.HolyBibleSearch.com
www.SillyWebcam.com
www.SillyScenes.com
www.Seekerific.com
www.Nerdful.com
www.BodySwitcher.com
www.13KG.com
www.SpareSomeChange.com
www.FloppyApps.com
www.MaxSpider.com
www.ChatPhobia.com
www.SirSeek.com
www.HappyFaceGenerator.com
www.DangerSignGenerator.com
HolyBiblesSearch:
Internet Search:

www.WHAK.com

www.MAKE-A-MEME.com
www.HolyBibleVerse.com

www.SignGenerator.org

www.MedChecker.com

www.SeekFreak.com

www.Syncrisis.com

www.Presearcher.com

www.SirSeek.com

www.FotoTrix.com

www.BoobSigns.com

www.Canuckster.com

me.ddleso.me

www.9lbs.com

www.TXT2PIC.com

www.FakeMagazineCover.com

www.Trollize.com

www.FanSignGenerator.com

www.Holy-Bibles.org

www.Is-A-Jerk.com

www.HolyBibleSearch.com
www.SillyWebcam.com
www.SillyScenes.com
www.Seekerific.com
www.Nerdful.com
www.BodySwitcher.com
www.13KG.com
www.SpareSomeChange.com
www.FloppyApps.com
www.MaxSpider.com
www.ChatPhobia.com
www.SirSeek.com
www.HappyFaceGenerator.com
www.DangerSignGenerator.com
HolyBiblesSearch:
Internet Search:

www.WHAK.com

www.MAKE-A-MEME.com
www.HolyBibleVerse.com

www.SignGenerator.org

www.MedChecker.com

www.SeekFreak.com

www.Syncrisis.com

www.Presearcher.com

www.SirSeek.com

www.FotoTrix.com

www.BoobSigns.com

www.Canuckster.com

me.ddleso.me

www.9lbs.com

www.TXT2PIC.com

www.FakeMagazineCover.com

www.Trollize.com

www.FanSignGenerator.com

www.Holy-Bibles.org

www.Is-A-Jerk.com

www.HolyBibleSearch.com
www.SillyWebcam.com
www.SillyScenes.com
www.Seekerific.com
www.Nerdful.com
www.BodySwitcher.com
www.13KG.com
www.SpareSomeChange.com
www.FloppyApps.com
www.MaxSpider.com
www.ChatPhobia.com
www.SirSeek.com
www.HappyFaceGenerator.com
www.DangerSignGenerator.com
HolyBiblesSearch:
Internet Search:

www.WHAK.com

www.MAKE-A-MEME.com
www.HolyBibleVerse.com

www.SignGenerator.org

www.MedChecker.com

www.SeekFreak.com

www.Syncrisis.com

www.Presearcher.com

www.SirSeek.com

www.FotoTrix.com

www.BoobSigns.com

www.Canuckster.com

me.ddleso.me

www.9lbs.com

www.TXT2PIC.com

www.FakeMagazineCover.com

www.Trollize.com

www.FanSignGenerator.com

www.Holy-Bibles.org

www.Is-A-Jerk.com

www.HolyBibleSearch.com
www.SillyWebcam.com
www.SillyScenes.com
www.Seekerific.com
www.Nerdful.com
www.BodySwitcher.com
www.13KG.com
www.SpareSomeChange.com
www.FloppyApps.com
www.MaxSpider.com
www.ChatPhobia.com
www.SirSeek.com
www.HappyFaceGenerator.com
www.DangerSignGenerator.com
HolyBiblesSearch:
Internet Search:

www.WHAK.com

www.MAKE-A-MEME.com
www.HolyBibleVerse.com

www.SignGenerator.org

www.MedChecker.com

www.SeekFreak.com

www.Syncrisis.com

www.Presearcher.com

www.SirSeek.com

www.FotoTrix.com

www.BoobSigns.com

www.Canuckster.com

me.ddleso.me

www.9lbs.com

www.TXT2PIC.com

www.FakeMagazineCover.com

www.Trollize.com

www.FanSignGenerator.com

www.Holy-Bibles.org

www.Is-A-Jerk.com

www.HolyBibleSearch.com
www.SillyWebcam.com
www.SillyScenes.com
www.Seekerific.com
www.Nerdful.com
www.BodySwitcher.com
www.13KG.com
www.SpareSomeChange.com
www.FloppyApps.com
www.MaxSpider.com
www.ChatPhobia.com
www.SirSeek.com
www.HappyFaceGenerator.com
www.DangerSignGenerator.com
HolyBiblesSearch:
Internet Search:

www.WHAK.com

www.MAKE-A-MEME.com
www.HolyBibleVerse.com

www.SignGenerator.org

www.MedChecker.com

www.SeekFreak.com

www.Syncrisis.com

www.Presearcher.com

www.SirSeek.com

www.FotoTrix.com

www.BoobSigns.com

www.Canuckster.com

me.ddleso.me

www.9lbs.com

www.TXT2PIC.com

www.FakeMagazineCover.com

www.Trollize.com

www.FanSignGenerator.com

www.Holy-Bibles.org

www.Is-A-Jerk.com

www.HolyBibleSearch.com
www.SillyWebcam.com
www.SillyScenes.com
www.Seekerific.com
www.Nerdful.com
www.BodySwitcher.com
www.13KG.com
www.SpareSomeChange.com
www.FloppyApps.com
www.MaxSpider.com
www.ChatPhobia.com
www.SirSeek.com
www.HappyFaceGenerator.com
www.DangerSignGenerator.com
HolyBiblesSearch:
Internet Search:

www.WHAK.com

www.MAKE-A-MEME.com
www.HolyBibleVerse.com

www.SignGenerator.org

www.MedChecker.com

www.SeekFreak.com

www.Syncrisis.com

www.Presearcher.com

www.SirSeek.com

www.FotoTrix.com

www.BoobSigns.com

www.Canuckster.com

me.ddleso.me

www.9lbs.com

www.TXT2PIC.com

www.FakeMagazineCover.com

www.Trollize.com

www.FanSignGenerator.com

www.Holy-Bibles.org

www.Is-A-Jerk.com

www.HolyBibleSearch.com
www.SillyWebcam.com
www.SillyScenes.com
www.Seekerific.com
www.Nerdful.com
www.BodySwitcher.com
www.13KG.com
www.SpareSomeChange.com
www.FloppyApps.com
www.MaxSpider.com
www.ChatPhobia.com
www.SirSeek.com
www.HappyFaceGenerator.com
www.DangerSignGenerator.com
HolyBiblesSearch:
Internet Search:

www.WHAK.com

www.MAKE-A-MEME.com
www.HolyBibleVerse.com

www.SignGenerator.org

www.MedChecker.com

www.SeekFreak.com

www.Syncrisis.com

www.Presearcher.com

www.SirSeek.com

www.FotoTrix.com

www.BoobSigns.com

www.Canuckster.com

me.ddleso.me

www.9lbs.com

www.TXT2PIC.com

www.FakeMagazineCover.com

www.Trollize.com

www.FanSignGenerator.com

www.Holy-Bibles.org

www.Is-A-Jerk.com

www.HolyBibleSearch.com
www.SillyWebcam.com
www.SillyScenes.com
www.Seekerific.com
www.Nerdful.com
www.BodySwitcher.com
www.13KG.com
www.SpareSomeChange.com
www.FloppyApps.com
www.MaxSpider.com
www.ChatPhobia.com
www.SirSeek.com
www.HappyFaceGenerator.com
www.DangerSignGenerator.com
HolyBiblesSearch:
Internet Search:

www.WHAK.com

www.MAKE-A-MEME.com
www.HolyBibleVerse.com

www.SignGenerator.org

www.MedChecker.com

www.SeekFreak.com

www.Syncrisis.com

www.Presearcher.com

www.SirSeek.com

www.FotoTrix.com

www.BoobSigns.com

www.Canuckster.com

me.ddleso.me

www.9lbs.com

www.TXT2PIC.com

www.FakeMagazineCover.com

www.Trollize.com

www.FanSignGenerator.com

www.Holy-Bibles.org

www.Is-A-Jerk.com

www.HolyBibleSearch.com
www.SillyWebcam.com
www.SillyScenes.com
www.Seekerific.com
www.Nerdful.com
www.BodySwitcher.com
www.13KG.com
www.SpareSomeChange.com
www.FloppyApps.com
www.MaxSpider.com
www.ChatPhobia.com
www.SirSeek.com
www.HappyFaceGenerator.com
www.DangerSignGenerator.com
HolyBiblesSearch:
Internet Search:

www.WHAK.com

www.MAKE-A-MEME.com
www.HolyBibleVerse.com

www.SignGenerator.org

www.MedChecker.com

www.SeekFreak.com

www.Syncrisis.com

www.Presearcher.com

www.SirSeek.com

www.FotoTrix.com

www.BoobSigns.com

www.Canuckster.com

me.ddleso.me

www.9lbs.com

www.TXT2PIC.com

www.FakeMagazineCover.com

www.Trollize.com

www.FanSignGenerator.com

www.Holy-Bibles.org

www.Is-A-Jerk.com

www.HolyBibleSearch.com
www.SillyWebcam.com
www.SillyScenes.com
www.Seekerific.com
www.Nerdful.com
www.BodySwitcher.com
www.13KG.com
www.SpareSomeChange.com
www.FloppyApps.com
www.MaxSpider.com
www.ChatPhobia.com
www.SirSeek.com
www.HappyFaceGenerator.com
www.DangerSignGenerator.com
HolyBiblesSearch:
Internet Search:

www.WHAK.com

www.MAKE-A-MEME.com
www.HolyBibleVerse.com

www.SignGenerator.org

www.MedChecker.com

www.SeekFreak.com

www.Syncrisis.com

www.Presearcher.com

www.SirSeek.com

www.FotoTrix.com

www.BoobSigns.com

www.Canuckster.com

me.ddleso.me

www.9lbs.com

www.TXT2PIC.com

www.FakeMagazineCover.com

www.Trollize.com

www.FanSignGenerator.com

www.Holy-Bibles.org

www.Is-A-Jerk.com

www.HolyBibleSearch.com
www.SillyWebcam.com
www.SillyScenes.com
www.Seekerific.com
www.Nerdful.com
www.BodySwitcher.com
www.13KG.com
www.SpareSomeChange.com
www.FloppyApps.com
www.MaxSpider.com
www.ChatPhobia.com
www.SirSeek.com
www.HappyFaceGenerator.com
www.DangerSignGenerator.com
HolyBiblesSearch:
Internet Search:

www.WHAK.com

www.MAKE-A-MEME.com
www.HolyBibleVerse.com

www.SignGenerator.org

www.MedChecker.com

www.SeekFreak.com

www.Syncrisis.com

www.Presearcher.com

www.SirSeek.com

www.FotoTrix.com

www.BoobSigns.com

www.Canuckster.com

me.ddleso.me

www.9lbs.com

www.TXT2PIC.com

www.FakeMagazineCover.com

www.Trollize.com

www.FanSignGenerator.com

www.Holy-Bibles.org

www.Is-A-Jerk.com

www.HolyBibleSearch.com
www.SillyWebcam.com
www.SillyScenes.com
www.Seekerific.com
www.Nerdful.com
www.BodySwitcher.com
www.13KG.com
www.SpareSomeChange.com
www.FloppyApps.com
www.MaxSpider.com
www.ChatPhobia.com
www.SirSeek.com
www.HappyFaceGenerator.com
www.DangerSignGenerator.com
HolyBiblesSearch:
Internet Search:

www.WHAK.com

www.MAKE-A-MEME.com
www.HolyBibleVerse.com

www.SignGenerator.org

www.MedChecker.com

www.SeekFreak.com

www.Syncrisis.com

www.Presearcher.com

www.SirSeek.com

www.FotoTrix.com

www.BoobSigns.com

www.Canuckster.com

me.ddleso.me

www.9lbs.com

www.TXT2PIC.com

www.FakeMagazineCover.com

www.Trollize.com

www.FanSignGenerator.com

www.Holy-Bibles.org

www.Is-A-Jerk.com

www.HolyBibleSearch.com
www.SillyWebcam.com
www.SillyScenes.com
www.Seekerific.com
www.Nerdful.com
www.BodySwitcher.com
www.13KG.com
www.SpareSomeChange.com
www.FloppyApps.com
www.MaxSpider.com
www.ChatPhobia.com
www.SirSeek.com
www.HappyFaceGenerator.com
www.DangerSignGenerator.com
HolyBiblesSearch:
Internet Search:

www.WHAK.com

www.MAKE-A-MEME.com
www.HolyBibleVerse.com

www.SignGenerator.org

www.MedChecker.com

www.SeekFreak.com

www.Syncrisis.com

www.Presearcher.com

www.SirSeek.com

www.FotoTrix.com

www.BoobSigns.com

www.Canuckster.com

me.ddleso.me

www.9lbs.com

www.TXT2PIC.com

www.FakeMagazineCover.com

www.Trollize.com

www.FanSignGenerator.com

www.Holy-Bibles.org

www.Is-A-Jerk.com

www.HolyBibleSearch.com
www.SillyWebcam.com
www.SillyScenes.com
www.Seekerific.com
www.Nerdful.com
www.BodySwitcher.com
www.13KG.com
www.SpareSomeChange.com
www.FloppyApps.com
www.MaxSpider.com
www.ChatPhobia.com
www.SirSeek.com
www.HappyFaceGenerator.com
www.DangerSignGenerator.com
HolyBiblesSearch:
Internet Search:

www.WHAK.com

www.MAKE-A-MEME.com
www.HolyBibleVerse.com

www.SignGenerator.org

www.MedChecker.com

www.SeekFreak.com

www.Syncrisis.com

www.Presearcher.com

www.SirSeek.com

www.FotoTrix.com

www.BoobSigns.com

www.Canuckster.com

me.ddleso.me

www.9lbs.com

www.TXT2PIC.com

www.FakeMagazineCover.com

www.Trollize.com

www.FanSignGenerator.com

www.Holy-Bibles.org

www.Is-A-Jerk.com

www.HolyBibleSearch.com
www.SillyWebcam.com
www.SillyScenes.com
www.Seekerific.com
www.Nerdful.com
www.BodySwitcher.com
www.13KG.com
www.SpareSomeChange.com
www.FloppyApps.com
www.MaxSpider.com
www.ChatPhobia.com
www.SirSeek.com
www.HappyFaceGenerator.com
www.DangerSignGenerator.com
HolyBiblesSearch:
Internet Search:

www.WHAK.com

www.MAKE-A-MEME.com
www.HolyBibleVerse.com

www.SignGenerator.org

www.MedChecker.com

www.SeekFreak.com

www.Syncrisis.com

www.Presearcher.com

www.SirSeek.com

www.FotoTrix.com

www.BoobSigns.com

www.Canuckster.com

me.ddleso.me

www.9lbs.com

www.TXT2PIC.com

www.FakeMagazineCover.com

www.Trollize.com

www.FanSignGenerator.com

www.Holy-Bibles.org

www.Is-A-Jerk.com

www.HolyBibleSearch.com
www.SillyWebcam.com
www.SillyScenes.com
www.Seekerific.com
www.Nerdful.com
www.BodySwitcher.com
www.13KG.com
www.SpareSomeChange.com
www.FloppyApps.com
www.MaxSpider.com
www.ChatPhobia.com
www.SirSeek.com
www.HappyFaceGenerator.com
www.DangerSignGenerator.com
HolyBiblesSearch:
Internet Search:

www.WHAK.com

www.MAKE-A-MEME.com
www.HolyBibleVerse.com

www.SignGenerator.org

www.MedChecker.com

www.SeekFreak.com

www.Syncrisis.com

www.Presearcher.com

www.SirSeek.com

www.FotoTrix.com

www.BoobSigns.com

www.Canuckster.com

me.ddleso.me

www.9lbs.com

www.TXT2PIC.com

www.FakeMagazineCover.com

www.Trollize.com

www.FanSignGenerator.com

www.Holy-Bibles.org

www.Is-A-Jerk.com

www.HolyBibleSearch.com
www.SillyWebcam.com
www.SillyScenes.com
www.Seekerific.com
www.Nerdful.com
www.BodySwitcher.com
www.13KG.com
www.SpareSomeChange.com
www.FloppyApps.com
www.MaxSpider.com
www.ChatPhobia.com
www.SirSeek.com
www.HappyFaceGenerator.com
www.DangerSignGenerator.com
HolyBiblesSearch:
Internet Search:

www.WHAK.com

www.MAKE-A-MEME.com
www.HolyBibleVerse.com

www.SignGenerator.org

www.MedChecker.com

www.SeekFreak.com

www.Syncrisis.com

www.Presearcher.com

www.SirSeek.com

www.FotoTrix.com

www.BoobSigns.com

www.Canuckster.com

me.ddleso.me

www.9lbs.com

www.TXT2PIC.com

www.FakeMagazineCover.com

www.Trollize.com

www.FanSignGenerator.com

www.Holy-Bibles.org

www.Is-A-Jerk.com

www.HolyBibleSearch.com
www.SillyWebcam.com
www.SillyScenes.com
www.Seekerific.com
www.Nerdful.com
www.BodySwitcher.com
www.13KG.com
www.SpareSomeChange.com
www.FloppyApps.com
www.MaxSpider.com
www.ChatPhobia.com
www.SirSeek.com
www.HappyFaceGenerator.com
www.DangerSignGenerator.com
HolyBiblesSearch:
Internet Search:

www.WHAK.com

www.MAKE-A-MEME.com
www.HolyBibleVerse.com

www.SignGenerator.org

www.MedChecker.com

www.SeekFreak.com

www.Syncrisis.com

www.Presearcher.com

www.SirSeek.com

www.FotoTrix.com

www.BoobSigns.com

www.Canuckster.com

me.ddleso.me

www.9lbs.com

www.TXT2PIC.com

www.FakeMagazineCover.com

www.Trollize.com

www.FanSignGenerator.com

www.Holy-Bibles.org

www.Is-A-Jerk.com

www.HolyBibleSearch.com
www.SillyWebcam.com
www.SillyScenes.com
www.Seekerific.com
www.Nerdful.com
www.BodySwitcher.com
www.13KG.com
www.SpareSomeChange.com
www.FloppyApps.com
www.MaxSpider.com
www.ChatPhobia.com
www.SirSeek.com
www.HappyFaceGenerator.com
www.DangerSignGenerator.com
HolyBiblesSearch:
Internet Search:

www.WHAK.com

www.MAKE-A-MEME.com
www.HolyBibleVerse.com

www.SignGenerator.org

www.MedChecker.com

www.SeekFreak.com

www.Syncrisis.com

www.Presearcher.com

www.SirSeek.com

www.FotoTrix.com

www.BoobSigns.com

www.Canuckster.com

me.ddleso.me

www.9lbs.com

www.TXT2PIC.com

www.FakeMagazineCover.com

www.Trollize.com

www.FanSignGenerator.com

www.Holy-Bibles.org

www.Is-A-Jerk.com

www.HolyBibleSearch.com
www.SillyWebcam.com
www.SillyScenes.com
www.Seekerific.com
www.Nerdful.com
www.BodySwitcher.com
www.13KG.com
www.SpareSomeChange.com
www.FloppyApps.com
www.MaxSpider.com
www.ChatPhobia.com
www.SirSeek.com
www.HappyFaceGenerator.com
www.DangerSignGenerator.com
HolyBiblesSearch:
Internet Search:

www.WHAK.com

www.MAKE-A-MEME.com
www.HolyBibleVerse.com

www.SignGenerator.org

www.MedChecker.com

www.SeekFreak.com

www.Syncrisis.com

www.Presearcher.com

www.SirSeek.com

www.FotoTrix.com

www.BoobSigns.com

www.Canuckster.com

me.ddleso.me

www.9lbs.com

www.TXT2PIC.com

www.FakeMagazineCover.com

www.Trollize.com

www.FanSignGenerator.com

www.Holy-Bibles.org

www.Is-A-Jerk.com

www.HolyBibleSearch.com
www.SillyWebcam.com
www.SillyScenes.com
www.Seekerific.com
www.Nerdful.com
www.BodySwitcher.com
www.13KG.com
www.SpareSomeChange.com
www.FloppyApps.com
www.MaxSpider.com
www.ChatPhobia.com
www.SirSeek.com
www.HappyFaceGenerator.com
www.DangerSignGenerator.com
HolyBiblesSearch:
Internet Search:

www.WHAK.com

www.MAKE-A-MEME.com
www.HolyBibleVerse.com

www.SignGenerator.org

www.MedChecker.com

www.SeekFreak.com

www.Syncrisis.com

www.Presearcher.com

www.SirSeek.com

www.FotoTrix.com

www.BoobSigns.com

www.Canuckster.com

me.ddleso.me

www.9lbs.com

www.TXT2PIC.com

www.FakeMagazineCover.com

www.Trollize.com

www.FanSignGenerator.com

www.Holy-Bibles.org

www.Is-A-Jerk.com

www.HolyBibleSearch.com
www.SillyWebcam.com
www.SillyScenes.com
www.Seekerific.com
www.Nerdful.com
www.BodySwitcher.com
www.13KG.com
www.SpareSomeChange.com
www.FloppyApps.com
www.MaxSpider.com
www.ChatPhobia.com
www.SirSeek.com
www.HappyFaceGenerator.com
www.DangerSignGenerator.com
HolyBiblesSearch:
Internet Search:

www.WHAK.com

www.MAKE-A-MEME.com
www.HolyBibleVerse.com

www.SignGenerator.org

www.MedChecker.com

www.SeekFreak.com

www.Syncrisis.com

www.Presearcher.com

www.SirSeek.com

www.FotoTrix.com

www.BoobSigns.com

www.Canuckster.com

me.ddleso.me

www.9lbs.com

www.TXT2PIC.com

www.FakeMagazineCover.com

www.Trollize.com

www.FanSignGenerator.com

www.Holy-Bibles.org

www.Is-A-Jerk.com

www.HolyBibleSearch.com
www.SillyWebcam.com
www.SillyScenes.com
www.Seekerific.com
www.Nerdful.com
www.BodySwitcher.com
www.13KG.com
www.SpareSomeChange.com
www.FloppyApps.com
www.MaxSpider.com
www.ChatPhobia.com
www.SirSeek.com
www.HappyFaceGenerator.com
www.DangerSignGenerator.com
HolyBiblesSearch:
Internet Search:

www.WHAK.com

www.MAKE-A-MEME.com
www.HolyBibleVerse.com

www.SignGenerator.org

www.MedChecker.com

www.SeekFreak.com

www.Syncrisis.com

www.Presearcher.com

www.SirSeek.com

www.FotoTrix.com

www.BoobSigns.com

www.Canuckster.com

me.ddleso.me

www.9lbs.com

www.TXT2PIC.com

www.FakeMagazineCover.com

www.Trollize.com

www.FanSignGenerator.com

www.Holy-Bibles.org

www.Is-A-Jerk.com

www.HolyBibleSearch.com
www.SillyWebcam.com
www.SillyScenes.com
www.Seekerific.com
www.Nerdful.com
www.BodySwitcher.com
www.13KG.com
www.SpareSomeChange.com
www.FloppyApps.com
www.MaxSpider.com
www.ChatPhobia.com
www.SirSeek.com
www.HappyFaceGenerator.com
www.DangerSignGenerator.com
HolyBiblesSearch:
Internet Search:

www.WHAK.com

www.MAKE-A-MEME.com
www.HolyBibleVerse.com

www.SignGenerator.org

www.MedChecker.com

www.SeekFreak.com

www.Syncrisis.com

www.Presearcher.com

www.SirSeek.com

www.FotoTrix.com

www.BoobSigns.com

www.Canuckster.com

me.ddleso.me

www.9lbs.com

www.TXT2PIC.com

www.FakeMagazineCover.com

www.Trollize.com

www.FanSignGenerator.com

www.Holy-Bibles.org

www.Is-A-Jerk.com

www.HolyBibleSearch.com
www.SillyWebcam.com
www.SillyScenes.com
www.Seekerific.com
www.Nerdful.com
www.BodySwitcher.com
www.13KG.com
www.SpareSomeChange.com
www.FloppyApps.com
www.MaxSpider.com
www.ChatPhobia.com
www.SirSeek.com
www.HappyFaceGenerator.com
www.DangerSignGenerator.com
HolyBiblesSearch:
Internet Search:

www.WHAK.com

www.MAKE-A-MEME.com
www.HolyBibleVerse.com

www.SignGenerator.org

www.MedChecker.com

www.SeekFreak.com

www.Syncrisis.com

www.Presearcher.com

www.SirSeek.com

www.FotoTrix.com

www.BoobSigns.com

www.Canuckster.com

me.ddleso.me

www.9lbs.com

www.TXT2PIC.com

www.FakeMagazineCover.com

www.Trollize.com

www.FanSignGenerator.com

www.Holy-Bibles.org

www.Is-A-Jerk.com

www.HolyBibleSearch.com
www.SillyWebcam.com
www.SillyScenes.com
www.Seekerific.com
www.Nerdful.com
www.BodySwitcher.com
www.13KG.com
www.SpareSomeChange.com
www.FloppyApps.com
www.MaxSpider.com
www.ChatPhobia.com
www.SirSeek.com
www.HappyFaceGenerator.com
www.DangerSignGenerator.com
HolyBiblesSearch:
Internet Search:

www.WHAK.com

www.MAKE-A-MEME.com
www.HolyBibleVerse.com

www.SignGenerator.org

www.MedChecker.com

www.SeekFreak.com

www.Syncrisis.com

www.Presearcher.com

www.SirSeek.com

www.FotoTrix.com

www.BoobSigns.com

www.Canuckster.com

me.ddleso.me

www.9lbs.com

www.TXT2PIC.com

www.FakeMagazineCover.com

www.Trollize.com

www.FanSignGenerator.com

www.Holy-Bibles.org

www.Is-A-Jerk.com

www.HolyBibleSearch.com
www.SillyWebcam.com
www.SillyScenes.com
www.Seekerific.com
www.Nerdful.com
www.BodySwitcher.com
www.13KG.com
www.SpareSomeChange.com
www.FloppyApps.com
www.MaxSpider.com
www.ChatPhobia.com
www.SirSeek.com
www.HappyFaceGenerator.com
www.DangerSignGenerator.com
HolyBiblesSearch:
Internet Search:

www.WHAK.com

www.MAKE-A-MEME.com
www.HolyBibleVerse.com

www.SignGenerator.org

www.MedChecker.com

www.SeekFreak.com

www.Syncrisis.com

www.Presearcher.com

www.SirSeek.com

www.FotoTrix.com

www.BoobSigns.com

www.Canuckster.com

me.ddleso.me

www.9lbs.com

www.TXT2PIC.com

www.FakeMagazineCover.com

www.Trollize.com

www.FanSignGenerator.com

www.Holy-Bibles.org

www.Is-A-Jerk.com

www.HolyBibleSearch.com
www.SillyWebcam.com
www.SillyScenes.com
www.Seekerific.com
www.Nerdful.com
www.BodySwitcher.com
www.13KG.com
www.SpareSomeChange.com
www.FloppyApps.com
www.MaxSpider.com
www.ChatPhobia.com
www.SirSeek.com
www.HappyFaceGenerator.com
www.DangerSignGenerator.com
HolyBiblesSearch:
Internet Search:

www.WHAK.com

www.MAKE-A-MEME.com
www.HolyBibleVerse.com

www.SignGenerator.org

www.MedChecker.com

www.SeekFreak.com

www.Syncrisis.com

www.Presearcher.com

www.SirSeek.com

www.FotoTrix.com

www.BoobSigns.com

www.Canuckster.com

me.ddleso.me

www.9lbs.com

www.TXT2PIC.com

www.FakeMagazineCover.com

www.Trollize.com

www.FanSignGenerator.com

www.Holy-Bibles.org

www.Is-A-Jerk.com

www.HolyBibleSearch.com
www.SillyWebcam.com
www.SillyScenes.com
www.Seekerific.com
www.Nerdful.com
www.BodySwitcher.com
www.13KG.com
www.SpareSomeChange.com
www.FloppyApps.com
www.MaxSpider.com
www.ChatPhobia.com
www.SirSeek.com
www.HappyFaceGenerator.com
www.DangerSignGenerator.com
HolyBiblesSearch:
Internet Search:

www.WHAK.com

www.MAKE-A-MEME.com
www.HolyBibleVerse.com

www.SignGenerator.org

www.MedChecker.com

www.SeekFreak.com

www.Syncrisis.com

www.Presearcher.com

www.SirSeek.com

www.FotoTrix.com

www.BoobSigns.com

www.Canuckster.com

me.ddleso.me

www.9lbs.com

www.TXT2PIC.com

www.FakeMagazineCover.com

www.Trollize.com

www.FanSignGenerator.com

www.Holy-Bibles.org

www.Is-A-Jerk.com

www.HolyBibleSearch.com
www.SillyWebcam.com
www.SillyScenes.com
www.Seekerific.com
www.Nerdful.com
www.BodySwitcher.com
www.13KG.com
www.SpareSomeChange.com
www.FloppyApps.com
www.MaxSpider.com
www.ChatPhobia.com
www.SirSeek.com
www.HappyFaceGenerator.com
www.DangerSignGenerator.com
HolyBiblesSearch:
Internet Search:

www.WHAK.com

www.MAKE-A-MEME.com
www.HolyBibleVerse.com

www.SignGenerator.org

www.MedChecker.com

www.SeekFreak.com

www.Syncrisis.com

www.Presearcher.com

www.SirSeek.com

www.FotoTrix.com

www.BoobSigns.com

www.Canuckster.com

me.ddleso.me

www.9lbs.com

www.TXT2PIC.com

www.FakeMagazineCover.com

www.Trollize.com

www.FanSignGenerator.com

www.Holy-Bibles.org

www.Is-A-Jerk.com

www.HolyBibleSearch.com
www.SillyWebcam.com
www.SillyScenes.com
www.Seekerific.com
www.Nerdful.com
www.BodySwitcher.com
www.13KG.com
www.SpareSomeChange.com
www.FloppyApps.com
www.MaxSpider.com
www.ChatPhobia.com
www.SirSeek.com
www.HappyFaceGenerator.com
www.DangerSignGenerator.com
HolyBiblesSearch:
Internet Search:

www.WHAK.com

www.MAKE-A-MEME.com
www.HolyBibleVerse.com

www.SignGenerator.org

www.MedChecker.com

www.SeekFreak.com

www.Syncrisis.com

www.Presearcher.com

www.SirSeek.com

www.FotoTrix.com

www.BoobSigns.com

www.Canuckster.com

me.ddleso.me

www.9lbs.com

www.TXT2PIC.com

www.FakeMagazineCover.com

www.Trollize.com

www.FanSignGenerator.com

www.Holy-Bibles.org

www.Is-A-Jerk.com

www.HolyBibleSearch.com
www.SillyWebcam.com
www.SillyScenes.com
www.Seekerific.com
www.Nerdful.com
www.BodySwitcher.com
www.13KG.com
www.SpareSomeChange.com
www.FloppyApps.com
www.MaxSpider.com
www.ChatPhobia.com
www.SirSeek.com
www.HappyFaceGenerator.com
www.DangerSignGenerator.com
HolyBiblesSearch:
Internet Search:

www.WHAK.com

www.MAKE-A-MEME.com
www.HolyBibleVerse.com

www.SignGenerator.org

www.MedChecker.com

www.SeekFreak.com

www.Syncrisis.com

www.Presearcher.com

www.SirSeek.com

www.FotoTrix.com

www.BoobSigns.com

www.Canuckster.com

me.ddleso.me

www.9lbs.com

www.TXT2PIC.com

www.FakeMagazineCover.com

www.Trollize.com

www.FanSignGenerator.com

www.Holy-Bibles.org

www.Is-A-Jerk.com

www.HolyBibleSearch.com
www.SillyWebcam.com
www.SillyScenes.com
www.Seekerific.com
www.Nerdful.com
www.BodySwitcher.com
www.13KG.com
www.SpareSomeChange.com
www.FloppyApps.com
www.MaxSpider.com
www.ChatPhobia.com
www.SirSeek.com
www.HappyFaceGenerator.com
www.DangerSignGenerator.com
HolyBiblesSearch:
Internet Search:

www.WHAK.com

www.MAKE-A-MEME.com
www.HolyBibleVerse.com

www.SignGenerator.org

www.MedChecker.com

www.SeekFreak.com

www.Syncrisis.com

www.Presearcher.com

www.SirSeek.com

www.FotoTrix.com

www.BoobSigns.com

www.Canuckster.com

me.ddleso.me

www.9lbs.com

www.TXT2PIC.com

www.FakeMagazineCover.com

www.Trollize.com

www.FanSignGenerator.com

www.Holy-Bibles.org

www.Is-A-Jerk.com

www.HolyBibleSearch.com
www.SillyWebcam.com
www.SillyScenes.com
www.Seekerific.com
www.Nerdful.com
www.BodySwitcher.com
www.13KG.com
www.SpareSomeChange.com
www.FloppyApps.com
www.MaxSpider.com
www.ChatPhobia.com
www.SirSeek.com
www.HappyFaceGenerator.com
www.DangerSignGenerator.com
HolyBiblesSearch:
Internet Search:

www.WHAK.com

www.MAKE-A-MEME.com
www.HolyBibleVerse.com

www.SignGenerator.org

www.MedChecker.com

www.SeekFreak.com

www.Syncrisis.com

www.Presearcher.com

www.SirSeek.com

www.FotoTrix.com

www.BoobSigns.com

www.Canuckster.com

me.ddleso.me

www.9lbs.com

www.TXT2PIC.com

www.FakeMagazineCover.com

www.Trollize.com

www.FanSignGenerator.com

www.Holy-Bibles.org

www.Is-A-Jerk.com

www.HolyBibleSearch.com
www.SillyWebcam.com
www.SillyScenes.com
www.Seekerific.com
www.Nerdful.com
www.BodySwitcher.com
www.13KG.com
www.SpareSomeChange.com
www.FloppyApps.com
www.MaxSpider.com
www.ChatPhobia.com
www.SirSeek.com
www.HappyFaceGenerator.com
www.DangerSignGenerator.com
HolyBiblesSearch:
Internet Search:

www.WHAK.com

www.MAKE-A-MEME.com
www.HolyBibleVerse.com

www.SignGenerator.org

www.MedChecker.com

www.SeekFreak.com

www.Syncrisis.com

www.Presearcher.com

www.SirSeek.com

www.FotoTrix.com

www.BoobSigns.com

www.Canuckster.com

me.ddleso.me

www.9lbs.com

www.TXT2PIC.com

www.FakeMagazineCover.com

www.Trollize.com

www.FanSignGenerator.com

www.Holy-Bibles.org

www.Is-A-Jerk.com

www.HolyBibleSearch.com
www.SillyWebcam.com
www.SillyScenes.com
www.Seekerific.com
www.Nerdful.com
www.BodySwitcher.com
www.13KG.com
www.SpareSomeChange.com
www.FloppyApps.com
www.MaxSpider.com
www.ChatPhobia.com
www.SirSeek.com
www.HappyFaceGenerator.com
www.DangerSignGenerator.com
HolyBiblesSearch:
Internet Search:

www.WHAK.com

www.MAKE-A-MEME.com
www.HolyBibleVerse.com

www.SignGenerator.org

www.MedChecker.com

www.SeekFreak.com

www.Syncrisis.com

www.Presearcher.com

www.SirSeek.com

www.FotoTrix.com

www.BoobSigns.com

www.Canuckster.com

me.ddleso.me

www.9lbs.com

www.TXT2PIC.com

www.FakeMagazineCover.com

www.Trollize.com

www.FanSignGenerator.com

www.Holy-Bibles.org

www.Is-A-Jerk.com

www.HolyBibleSearch.com
www.SillyWebcam.com
www.SillyScenes.com
www.Seekerific.com
www.Nerdful.com
www.BodySwitcher.com
www.13KG.com
www.SpareSomeChange.com
www.FloppyApps.com
www.MaxSpider.com
www.ChatPhobia.com
www.SirSeek.com
www.HappyFaceGenerator.com
www.DangerSignGenerator.com
HolyBiblesSearch:
Internet Search:

www.WHAK.com

www.MAKE-A-MEME.com
www.HolyBibleVerse.com

www.SignGenerator.org

www.MedChecker.com

www.SeekFreak.com

www.Syncrisis.com

www.Presearcher.com

www.SirSeek.com

www.FotoTrix.com

www.BoobSigns.com

www.Canuckster.com

me.ddleso.me

www.9lbs.com

www.TXT2PIC.com

www.FakeMagazineCover.com

www.Trollize.com

www.FanSignGenerator.com

www.Holy-Bibles.org

www.Is-A-Jerk.com

www.HolyBibleSearch.com
www.SillyWebcam.com
www.SillyScenes.com
www.Seekerific.com
www.Nerdful.com
www.BodySwitcher.com
www.13KG.com
www.SpareSomeChange.com
www.FloppyApps.com
www.MaxSpider.com
www.ChatPhobia.com
www.SirSeek.com
www.HappyFaceGenerator.com
www.DangerSignGenerator.com
HolyBiblesSearch:
Internet Search:

www.WHAK.com

www.MAKE-A-MEME.com
www.HolyBibleVerse.com

www.SignGenerator.org

www.MedChecker.com

www.SeekFreak.com

www.Syncrisis.com

www.Presearcher.com

www.SirSeek.com

www.FotoTrix.com

www.BoobSigns.com

www.Canuckster.com

me.ddleso.me

www.9lbs.com

www.TXT2PIC.com

www.FakeMagazineCover.com

www.Trollize.com

www.FanSignGenerator.com

www.Holy-Bibles.org

www.Is-A-Jerk.com

www.HolyBibleSearch.com
www.SillyWebcam.com
www.SillyScenes.com
www.Seekerific.com
www.Nerdful.com
www.BodySwitcher.com
www.13KG.com
www.SpareSomeChange.com
www.FloppyApps.com
www.MaxSpider.com
www.ChatPhobia.com
www.SirSeek.com
www.HappyFaceGenerator.com
www.DangerSignGenerator.com
HolyBiblesSearch:
Internet Search:

www.WHAK.com

www.MAKE-A-MEME.com
www.HolyBibleVerse.com

www.SignGenerator.org

www.MedChecker.com

www.SeekFreak.com

www.Syncrisis.com

www.Presearcher.com

www.SirSeek.com

www.FotoTrix.com

www.BoobSigns.com

www.Canuckster.com

me.ddleso.me

www.9lbs.com

www.TXT2PIC.com

www.FakeMagazineCover.com

www.Trollize.com

www.FanSignGenerator.com

www.Holy-Bibles.org

www.Is-A-Jerk.com

www.HolyBibleSearch.com
www.SillyWebcam.com
www.SillyScenes.com
www.Seekerific.com
www.Nerdful.com
www.BodySwitcher.com
www.13KG.com
www.SpareSomeChange.com
www.FloppyApps.com
www.MaxSpider.com
www.ChatPhobia.com
www.SirSeek.com
www.HappyFaceGenerator.com
www.DangerSignGenerator.com
HolyBiblesSearch:
Internet Search:

www.WHAK.com

www.MAKE-A-MEME.com
www.HolyBibleVerse.com

www.SignGenerator.org

www.MedChecker.com

www.SeekFreak.com

www.Syncrisis.com

www.Presearcher.com

www.SirSeek.com

www.FotoTrix.com

www.BoobSigns.com

www.Canuckster.com

me.ddleso.me

www.9lbs.com

www.TXT2PIC.com

www.FakeMagazineCover.com

www.Trollize.com

www.FanSignGenerator.com

www.Holy-Bibles.org

www.Is-A-Jerk.com

www.HolyBibleSearch.com
www.SillyWebcam.com
www.SillyScenes.com
www.Seekerific.com
www.Nerdful.com
www.BodySwitcher.com
www.13KG.com
www.SpareSomeChange.com
www.FloppyApps.com
www.MaxSpider.com
www.ChatPhobia.com
www.SirSeek.com
www.HappyFaceGenerator.com
www.DangerSignGenerator.com
HolyBiblesSearch:
Internet Search:

www.WHAK.com

www.MAKE-A-MEME.com
www.HolyBibleVerse.com

www.SignGenerator.org

www.MedChecker.com

www.SeekFreak.com

www.Syncrisis.com

www.Presearcher.com

www.SirSeek.com

www.FotoTrix.com

www.BoobSigns.com

www.Canuckster.com

me.ddleso.me

www.9lbs.com

www.TXT2PIC.com

www.FakeMagazineCover.com

www.Trollize.com

www.FanSignGenerator.com

www.Holy-Bibles.org

www.Is-A-Jerk.com

www.HolyBibleSearch.com
www.SillyWebcam.com
www.SillyScenes.com
www.Seekerific.com
www.Nerdful.com
www.BodySwitcher.com
www.13KG.com
www.SpareSomeChange.com
www.FloppyApps.com
www.MaxSpider.com
www.ChatPhobia.com
www.SirSeek.com
www.HappyFaceGenerator.com
www.DangerSignGenerator.com
HolyBiblesSearch:
Internet Search:

www.WHAK.com

www.MAKE-A-MEME.com
www.HolyBibleVerse.com

www.SignGenerator.org

www.MedChecker.com

www.SeekFreak.com

www.Syncrisis.com

www.Presearcher.com

www.SirSeek.com

www.FotoTrix.com

www.BoobSigns.com

www.Canuckster.com

me.ddleso.me

www.9lbs.com

www.TXT2PIC.com

www.FakeMagazineCover.com

www.Trollize.com

www.FanSignGenerator.com

www.Holy-Bibles.org

www.Is-A-Jerk.com

www.HolyBibleSearch.com
www.SillyWebcam.com
www.SillyScenes.com
www.Seekerific.com
www.Nerdful.com
www.BodySwitcher.com
www.13KG.com
www.SpareSomeChange.com
www.FloppyApps.com
www.MaxSpider.com
www.ChatPhobia.com
www.SirSeek.com
www.HappyFaceGenerator.com
www.DangerSignGenerator.com
HolyBiblesSearch:
Internet Search:

www.WHAK.com

www.MAKE-A-MEME.com
www.HolyBibleVerse.com

www.SignGenerator.org

www.MedChecker.com

www.SeekFreak.com

www.Syncrisis.com

www.Presearcher.com

www.SirSeek.com

www.FotoTrix.com

www.BoobSigns.com

www.Canuckster.com

me.ddleso.me

www.9lbs.com

www.TXT2PIC.com

www.FakeMagazineCover.com

www.Trollize.com

www.FanSignGenerator.com

www.Holy-Bibles.org

www.Is-A-Jerk.com

www.HolyBibleSearch.com
www.SillyWebcam.com
www.SillyScenes.com
www.Seekerific.com
www.Nerdful.com
www.BodySwitcher.com
www.13KG.com
www.SpareSomeChange.com
www.FloppyApps.com
www.MaxSpider.com
www.ChatPhobia.com
www.SirSeek.com
www.HappyFaceGenerator.com
www.DangerSignGenerator.com
HolyBiblesSearch:
Internet Search:

www.WHAK.com

www.MAKE-A-MEME.com
www.HolyBibleVerse.com

www.SignGenerator.org

www.MedChecker.com

www.SeekFreak.com

www.Syncrisis.com

www.Presearcher.com

www.SirSeek.com

www.FotoTrix.com

www.BoobSigns.com

www.Canuckster.com

me.ddleso.me

www.9lbs.com

www.TXT2PIC.com

www.FakeMagazineCover.com

www.Trollize.com

www.FanSignGenerator.com

www.Holy-Bibles.org

www.Is-A-Jerk.com

www.HolyBibleSearch.com
www.SillyWebcam.com
www.SillyScenes.com
www.Seekerific.com
www.Nerdful.com
www.BodySwitcher.com
www.13KG.com
www.SpareSomeChange.com
www.FloppyApps.com
www.MaxSpider.com
www.ChatPhobia.com
www.SirSeek.com
www.HappyFaceGenerator.com
www.DangerSignGenerator.com
HolyBiblesSearch:
Internet Search:

www.WHAK.com

www.MAKE-A-MEME.com
www.HolyBibleVerse.com

www.SignGenerator.org

www.MedChecker.com

www.SeekFreak.com

www.Syncrisis.com

www.Presearcher.com

www.SirSeek.com

www.FotoTrix.com

www.BoobSigns.com

www.Canuckster.com

me.ddleso.me

www.9lbs.com

www.TXT2PIC.com

www.FakeMagazineCover.com

www.Trollize.com

www.FanSignGenerator.com

www.Holy-Bibles.org

www.Is-A-Jerk.com

www.HolyBibleSearch.com
www.SillyWebcam.com
www.SillyScenes.com
www.Seekerific.com
www.Nerdful.com
www.BodySwitcher.com
www.13KG.com
www.SpareSomeChange.com
www.FloppyApps.com
www.MaxSpider.com
www.ChatPhobia.com
www.SirSeek.com
www.HappyFaceGenerator.com
www.DangerSignGenerator.com
HolyBiblesSearch:
Internet Search:

www.WHAK.com

www.MAKE-A-MEME.com
www.HolyBibleVerse.com

www.SignGenerator.org

www.MedChecker.com

www.SeekFreak.com

www.Syncrisis.com

www.Presearcher.com

www.SirSeek.com

www.FotoTrix.com

www.BoobSigns.com

www.Canuckster.com

me.ddleso.me

www.9lbs.com

www.TXT2PIC.com

www.FakeMagazineCover.com

www.Trollize.com

www.FanSignGenerator.com

www.Holy-Bibles.org

www.Is-A-Jerk.com

www.HolyBibleSearch.com
www.SillyWebcam.com
www.SillyScenes.com
www.Seekerific.com
www.Nerdful.com
www.BodySwitcher.com
www.13KG.com
www.SpareSomeChange.com
www.FloppyApps.com
www.MaxSpider.com
www.ChatPhobia.com
www.SirSeek.com
www.HappyFaceGenerator.com
www.DangerSignGenerator.com
HolyBiblesSearch:
Internet Search:

www.WHAK.com

www.MAKE-A-MEME.com
www.HolyBibleVerse.com

www.SignGenerator.org

www.MedChecker.com

www.SeekFreak.com

www.Syncrisis.com

www.Presearcher.com

www.SirSeek.com

www.FotoTrix.com

www.BoobSigns.com

www.Canuckster.com

me.ddleso.me

www.9lbs.com

www.TXT2PIC.com

www.FakeMagazineCover.com

www.Trollize.com

www.FanSignGenerator.com

www.Holy-Bibles.org

www.Is-A-Jerk.com

www.HolyBibleSearch.com
www.SillyWebcam.com
www.SillyScenes.com
www.Seekerific.com
www.Nerdful.com
www.BodySwitcher.com
www.13KG.com
www.SpareSomeChange.com
www.FloppyApps.com
www.MaxSpider.com
www.ChatPhobia.com
www.SirSeek.com
www.HappyFaceGenerator.com
www.DangerSignGenerator.com
HolyBiblesSearch:
Internet Search:

www.WHAK.com

www.MAKE-A-MEME.com
www.HolyBibleVerse.com

www.SignGenerator.org

www.MedChecker.com

www.SeekFreak.com

www.Syncrisis.com

www.Presearcher.com

www.SirSeek.com

www.FotoTrix.com

www.BoobSigns.com

www.Canuckster.com

me.ddleso.me

www.9lbs.com

www.TXT2PIC.com

www.FakeMagazineCover.com

www.Trollize.com

www.FanSignGenerator.com

www.Holy-Bibles.org

www.Is-A-Jerk.com

www.HolyBibleSearch.com
www.SillyWebcam.com
www.SillyScenes.com
www.Seekerific.com
www.Nerdful.com
www.BodySwitcher.com
www.13KG.com
www.SpareSomeChange.com
www.FloppyApps.com
www.MaxSpider.com
www.ChatPhobia.com
www.SirSeek.com
www.HappyFaceGenerator.com
www.DangerSignGenerator.com
HolyBiblesSearch:
Internet Search:

www.WHAK.com

www.MAKE-A-MEME.com
www.HolyBibleVerse.com

www.SignGenerator.org

www.MedChecker.com

www.SeekFreak.com

www.Syncrisis.com

www.Presearcher.com

www.SirSeek.com

www.FotoTrix.com

www.BoobSigns.com

www.Canuckster.com

me.ddleso.me

www.9lbs.com

www.TXT2PIC.com

www.FakeMagazineCover.com

www.Trollize.com

www.FanSignGenerator.com

www.Holy-Bibles.org

www.Is-A-Jerk.com

www.HolyBibleSearch.com
www.SillyWebcam.com
www.SillyScenes.com
www.Seekerific.com
www.Nerdful.com
www.BodySwitcher.com
www.13KG.com
www.SpareSomeChange.com
www.FloppyApps.com
www.MaxSpider.com
www.ChatPhobia.com
www.SirSeek.com
www.HappyFaceGenerator.com
www.DangerSignGenerator.com
HolyBiblesSearch:
Internet Search:

www.WHAK.com

www.MAKE-A-MEME.com
www.HolyBibleVerse.com

www.SignGenerator.org

www.MedChecker.com

www.SeekFreak.com

www.Syncrisis.com

www.Presearcher.com

www.SirSeek.com

www.FotoTrix.com

www.BoobSigns.com

www.Canuckster.com

me.ddleso.me

www.9lbs.com

www.TXT2PIC.com

www.FakeMagazineCover.com

www.Trollize.com

www.FanSignGenerator.com

www.Holy-Bibles.org

www.Is-A-Jerk.com

www.HolyBibleSearch.com
www.SillyWebcam.com
www.SillyScenes.com
www.Seekerific.com
www.Nerdful.com
www.BodySwitcher.com
www.13KG.com
www.SpareSomeChange.com
www.FloppyApps.com
www.MaxSpider.com
www.ChatPhobia.com
www.SirSeek.com
www.HappyFaceGenerator.com
www.DangerSignGenerator.com
HolyBiblesSearch:
Internet Search:

www.WHAK.com

www.MAKE-A-MEME.com
www.HolyBibleVerse.com

www.SignGenerator.org

www.MedChecker.com

www.SeekFreak.com

www.Syncrisis.com

www.Presearcher.com

www.SirSeek.com

www.FotoTrix.com

www.BoobSigns.com

www.Canuckster.com

me.ddleso.me

www.9lbs.com

www.TXT2PIC.com

www.FakeMagazineCover.com

www.Trollize.com

www.FanSignGenerator.com

www.Holy-Bibles.org

www.Is-A-Jerk.com

www.HolyBibleSearch.com
www.SillyWebcam.com
www.SillyScenes.com
www.Seekerific.com
www.Nerdful.com
www.BodySwitcher.com
www.13KG.com
www.SpareSomeChange.com
www.FloppyApps.com
www.MaxSpider.com
www.ChatPhobia.com
www.SirSeek.com
www.HappyFaceGenerator.com
www.DangerSignGenerator.com
HolyBiblesSearch:
Internet Search:

www.WHAK.com

www.MAKE-A-MEME.com
www.HolyBibleVerse.com

www.SignGenerator.org

www.MedChecker.com

www.SeekFreak.com

www.Syncrisis.com

www.Presearcher.com

www.SirSeek.com

www.FotoTrix.com

www.BoobSigns.com

www.Canuckster.com

me.ddleso.me

www.9lbs.com

www.TXT2PIC.com

www.FakeMagazineCover.com

www.Trollize.com

www.FanSignGenerator.com

www.Holy-Bibles.org

www.Is-A-Jerk.com

www.HolyBibleSearch.com
www.SillyWebcam.com
www.SillyScenes.com
www.Seekerific.com
www.Nerdful.com
www.BodySwitcher.com
www.13KG.com
www.SpareSomeChange.com
www.FloppyApps.com
www.MaxSpider.com
www.ChatPhobia.com
www.SirSeek.com
www.HappyFaceGenerator.com
www.DangerSignGenerator.com
HolyBiblesSearch:
Internet Search:

www.WHAK.com

www.MAKE-A-MEME.com
www.HolyBibleVerse.com

www.SignGenerator.org

www.MedChecker.com

www.SeekFreak.com

www.Syncrisis.com

www.Presearcher.com

www.SirSeek.com

www.FotoTrix.com

www.BoobSigns.com

www.Canuckster.com

me.ddleso.me

www.9lbs.com

www.TXT2PIC.com

www.FakeMagazineCover.com

www.Trollize.com

www.FanSignGenerator.com

www.Holy-Bibles.org

www.Is-A-Jerk.com

www.HolyBibleSearch.com
www.SillyWebcam.com
www.SillyScenes.com
www.Seekerific.com
www.Nerdful.com
www.BodySwitcher.com
www.13KG.com
www.SpareSomeChange.com
www.FloppyApps.com
www.MaxSpider.com
www.ChatPhobia.com
www.SirSeek.com
www.HappyFaceGenerator.com
www.DangerSignGenerator.com
HolyBiblesSearch:
Internet Search:

www.WHAK.com

www.MAKE-A-MEME.com
www.HolyBibleVerse.com

www.SignGenerator.org

www.MedChecker.com

www.SeekFreak.com

www.Syncrisis.com

www.Presearcher.com

www.SirSeek.com

www.FotoTrix.com

www.BoobSigns.com

www.Canuckster.com

me.ddleso.me

www.9lbs.com

www.TXT2PIC.com

www.FakeMagazineCover.com

www.Trollize.com

www.FanSignGenerator.com

www.Holy-Bibles.org

www.Is-A-Jerk.com

www.HolyBibleSearch.com
www.SillyWebcam.com
www.SillyScenes.com
www.Seekerific.com
www.Nerdful.com
www.BodySwitcher.com
www.13KG.com
www.SpareSomeChange.com
www.FloppyApps.com
www.MaxSpider.com
www.ChatPhobia.com
www.SirSeek.com
www.HappyFaceGenerator.com
www.DangerSignGenerator.com
HolyBiblesSearch:
Internet Search:

www.WHAK.com

www.MAKE-A-MEME.com
www.HolyBibleVerse.com

www.SignGenerator.org

www.MedChecker.com

www.SeekFreak.com

www.Syncrisis.com

www.Presearcher.com

www.SirSeek.com

www.FotoTrix.com

www.BoobSigns.com

www.Canuckster.com

me.ddleso.me

www.9lbs.com

www.TXT2PIC.com

www.FakeMagazineCover.com

www.Trollize.com

www.FanSignGenerator.com

www.Holy-Bibles.org

www.Is-A-Jerk.com

www.HolyBibleSearch.com
www.SillyWebcam.com
www.SillyScenes.com
www.Seekerific.com
www.Nerdful.com
www.BodySwitcher.com
www.13KG.com
www.SpareSomeChange.com
www.FloppyApps.com
www.MaxSpider.com
www.ChatPhobia.com
www.SirSeek.com
www.HappyFaceGenerator.com
www.DangerSignGenerator.com
HolyBiblesSearch:
Internet Search:

www.WHAK.com

www.MAKE-A-MEME.com
www.HolyBibleVerse.com

www.SignGenerator.org

www.MedChecker.com

www.SeekFreak.com

www.Syncrisis.com

www.Presearcher.com

www.SirSeek.com

www.FotoTrix.com

www.BoobSigns.com

www.Canuckster.com

me.ddleso.me

www.9lbs.com

www.TXT2PIC.com

www.FakeMagazineCover.com

www.Trollize.com

www.FanSignGenerator.com

www.Holy-Bibles.org

www.Is-A-Jerk.com

www.HolyBibleSearch.com
www.SillyWebcam.com
www.SillyScenes.com
www.Seekerific.com
www.Nerdful.com
www.BodySwitcher.com
www.13KG.com
www.SpareSomeChange.com
www.FloppyApps.com
www.MaxSpider.com
www.ChatPhobia.com
www.SirSeek.com
www.HappyFaceGenerator.com
www.DangerSignGenerator.com
HolyBiblesSearch:
Internet Search:

www.WHAK.com

www.MAKE-A-MEME.com
www.HolyBibleVerse.com

www.SignGenerator.org

www.MedChecker.com

www.SeekFreak.com

www.Syncrisis.com

www.Presearcher.com

www.SirSeek.com

www.FotoTrix.com

www.BoobSigns.com

www.Canuckster.com

me.ddleso.me

www.9lbs.com

www.TXT2PIC.com

www.FakeMagazineCover.com

www.Trollize.com

www.FanSignGenerator.com

www.Holy-Bibles.org

www.Is-A-Jerk.com

www.HolyBibleSearch.com
www.SillyWebcam.com
www.SillyScenes.com
www.Seekerific.com
www.Nerdful.com
www.BodySwitcher.com
www.13KG.com
www.SpareSomeChange.com
www.FloppyApps.com
www.MaxSpider.com
www.ChatPhobia.com
www.SirSeek.com
www.HappyFaceGenerator.com
www.DangerSignGenerator.com
HolyBiblesSearch:
Internet Search:

www.WHAK.com

www.MAKE-A-MEME.com
www.HolyBibleVerse.com

www.SignGenerator.org

www.MedChecker.com

www.SeekFreak.com

www.Syncrisis.com

www.Presearcher.com

www.SirSeek.com

www.FotoTrix.com

www.BoobSigns.com

www.Canuckster.com

me.ddleso.me

www.9lbs.com

www.TXT2PIC.com

www.FakeMagazineCover.com

www.Trollize.com

www.FanSignGenerator.com

www.Holy-Bibles.org

www.Is-A-Jerk.com

www.HolyBibleSearch.com
www.SillyWebcam.com
www.SillyScenes.com
www.Seekerific.com
www.Nerdful.com
www.BodySwitcher.com
www.13KG.com
www.SpareSomeChange.com
www.FloppyApps.com
www.MaxSpider.com
www.ChatPhobia.com
www.SirSeek.com
www.HappyFaceGenerator.com
www.DangerSignGenerator.com
HolyBiblesSearch:
Internet Search:

www.WHAK.com

www.MAKE-A-MEME.com
www.HolyBibleVerse.com

www.SignGenerator.org

www.MedChecker.com

www.SeekFreak.com

www.Syncrisis.com

www.Presearcher.com

www.SirSeek.com

www.FotoTrix.com

www.BoobSigns.com

www.Canuckster.com

me.ddleso.me

www.9lbs.com

www.TXT2PIC.com

www.FakeMagazineCover.com

www.Trollize.com

www.FanSignGenerator.com

www.Holy-Bibles.org

www.Is-A-Jerk.com

www.HolyBibleSearch.com
www.SillyWebcam.com
www.SillyScenes.com
www.Seekerific.com
www.Nerdful.com
www.BodySwitcher.com
www.13KG.com
www.SpareSomeChange.com
www.FloppyApps.com
www.MaxSpider.com
www.ChatPhobia.com
www.SirSeek.com
www.HappyFaceGenerator.com
www.DangerSignGenerator.com
HolyBiblesSearch:
Internet Search:

www.WHAK.com

www.MAKE-A-MEME.com
www.HolyBibleVerse.com

www.SignGenerator.org

www.MedChecker.com

www.SeekFreak.com

www.Syncrisis.com

www.Presearcher.com

www.SirSeek.com

www.FotoTrix.com

www.BoobSigns.com

www.Canuckster.com

me.ddleso.me

www.9lbs.com

www.TXT2PIC.com

www.FakeMagazineCover.com

www.Trollize.com

www.FanSignGenerator.com

www.Holy-Bibles.org

www.Is-A-Jerk.com

www.HolyBibleSearch.com
www.SillyWebcam.com
www.SillyScenes.com
www.Seekerific.com
www.Nerdful.com
www.BodySwitcher.com
www.13KG.com
www.SpareSomeChange.com
www.FloppyApps.com
www.MaxSpider.com
www.ChatPhobia.com
www.SirSeek.com
www.HappyFaceGenerator.com
www.DangerSignGenerator.com
HolyBiblesSearch:
Internet Search:

www.WHAK.com

www.MAKE-A-MEME.com
www.HolyBibleVerse.com

www.SignGenerator.org

www.MedChecker.com

www.SeekFreak.com

www.Syncrisis.com

www.Presearcher.com

www.SirSeek.com

www.FotoTrix.com

www.BoobSigns.com

www.Canuckster.com

me.ddleso.me

www.9lbs.com

www.TXT2PIC.com

www.FakeMagazineCover.com

www.Trollize.com

www.FanSignGenerator.com

www.Holy-Bibles.org

www.Is-A-Jerk.com

www.HolyBibleSearch.com
www.SillyWebcam.com
www.SillyScenes.com
www.Seekerific.com
www.Nerdful.com
www.BodySwitcher.com
www.13KG.com
www.SpareSomeChange.com
www.FloppyApps.com
www.MaxSpider.com
www.ChatPhobia.com
www.SirSeek.com
www.HappyFaceGenerator.com
www.DangerSignGenerator.com
HolyBiblesSearch:
Internet Search:

www.WHAK.com

www.MAKE-A-MEME.com
www.HolyBibleVerse.com

www.SignGenerator.org

www.MedChecker.com

www.SeekFreak.com

www.Syncrisis.com

www.Presearcher.com

www.SirSeek.com

www.FotoTrix.com

www.BoobSigns.com

www.Canuckster.com

me.ddleso.me

www.9lbs.com

www.TXT2PIC.com

www.FakeMagazineCover.com

www.Trollize.com

www.FanSignGenerator.com

www.Holy-Bibles.org

www.Is-A-Jerk.com

www.HolyBibleSearch.com
www.SillyWebcam.com
www.SillyScenes.com
www.Seekerific.com
www.Nerdful.com
www.BodySwitcher.com
www.13KG.com
www.SpareSomeChange.com
www.FloppyApps.com
www.MaxSpider.com
www.ChatPhobia.com
www.SirSeek.com
www.HappyFaceGenerator.com
www.DangerSignGenerator.com
HolyBiblesSearch:
Internet Search:

www.WHAK.com

www.MAKE-A-MEME.com
www.HolyBibleVerse.com

www.SignGenerator.org

www.MedChecker.com

www.SeekFreak.com

www.Syncrisis.com

www.Presearcher.com

www.SirSeek.com

www.FotoTrix.com

www.BoobSigns.com

www.Canuckster.com

me.ddleso.me

www.9lbs.com

www.TXT2PIC.com

www.FakeMagazineCover.com

www.Trollize.com

www.FanSignGenerator.com

www.Holy-Bibles.org

www.Is-A-Jerk.com

www.HolyBibleSearch.com
www.SillyWebcam.com
www.SillyScenes.com
www.Seekerific.com
www.Nerdful.com
www.BodySwitcher.com
www.13KG.com
www.SpareSomeChange.com
www.FloppyApps.com
www.MaxSpider.com
www.ChatPhobia.com
www.SirSeek.com
www.HappyFaceGenerator.com
www.DangerSignGenerator.com
HolyBiblesSearch:
Internet Search:

www.WHAK.com

www.MAKE-A-MEME.com
www.HolyBibleVerse.com

www.SignGenerator.org

www.MedChecker.com

www.SeekFreak.com

www.Syncrisis.com

www.Presearcher.com

www.SirSeek.com

www.FotoTrix.com

www.BoobSigns.com

www.Canuckster.com

me.ddleso.me

www.9lbs.com

www.TXT2PIC.com

www.FakeMagazineCover.com

www.Trollize.com

www.FanSignGenerator.com

www.Holy-Bibles.org

www.Is-A-Jerk.com

www.HolyBibleSearch.com
www.SillyWebcam.com
www.SillyScenes.com
www.Seekerific.com
www.Nerdful.com
www.BodySwitcher.com
www.13KG.com
www.SpareSomeChange.com
www.FloppyApps.com
www.MaxSpider.com
www.ChatPhobia.com
www.SirSeek.com
www.HappyFaceGenerator.com
www.DangerSignGenerator.com
HolyBiblesSearch:
Internet Search:

www.WHAK.com

www.MAKE-A-MEME.com
www.HolyBibleVerse.com

www.SignGenerator.org

www.MedChecker.com

www.SeekFreak.com

www.Syncrisis.com

www.Presearcher.com

www.SirSeek.com

www.FotoTrix.com

www.BoobSigns.com

www.Canuckster.com

me.ddleso.me

www.9lbs.com

www.TXT2PIC.com

www.FakeMagazineCover.com

www.Trollize.com

www.FanSignGenerator.com

www.Holy-Bibles.org

www.Is-A-Jerk.com

www.HolyBibleSearch.com
www.SillyWebcam.com
www.SillyScenes.com
www.Seekerific.com
www.Nerdful.com
www.BodySwitcher.com
www.13KG.com
www.SpareSomeChange.com
www.FloppyApps.com
www.MaxSpider.com
www.ChatPhobia.com
www.SirSeek.com
www.HappyFaceGenerator.com
www.DangerSignGenerator.com
HolyBiblesSearch:
Internet Search:

www.WHAK.com

www.MAKE-A-MEME.com
www.HolyBibleVerse.com

www.SignGenerator.org

www.MedChecker.com

www.SeekFreak.com

www.Syncrisis.com

www.Presearcher.com

www.SirSeek.com

www.FotoTrix.com

www.BoobSigns.com

www.Canuckster.com

me.ddleso.me

www.9lbs.com

www.TXT2PIC.com

www.FakeMagazineCover.com

www.Trollize.com

www.FanSignGenerator.com

www.Holy-Bibles.org

www.Is-A-Jerk.com

www.HolyBibleSearch.com
www.SillyWebcam.com
www.SillyScenes.com
www.Seekerific.com
www.Nerdful.com
www.BodySwitcher.com
www.13KG.com
www.SpareSomeChange.com
www.FloppyApps.com
www.MaxSpider.com
www.ChatPhobia.com
www.SirSeek.com
www.HappyFaceGenerator.com
www.DangerSignGenerator.com
HolyBiblesSearch:
Internet Search:

www.WHAK.com

www.MAKE-A-MEME.com
www.HolyBibleVerse.com

www.SignGenerator.org

www.MedChecker.com

www.SeekFreak.com

www.Syncrisis.com

www.Presearcher.com

www.SirSeek.com

www.FotoTrix.com

www.BoobSigns.com

www.Canuckster.com

me.ddleso.me

www.9lbs.com

www.TXT2PIC.com

www.FakeMagazineCover.com

www.Trollize.com

www.FanSignGenerator.com

www.Holy-Bibles.org

www.Is-A-Jerk.com

www.HolyBibleSearch.com
www.SillyWebcam.com
www.SillyScenes.com
www.Seekerific.com
www.Nerdful.com
www.BodySwitcher.com
www.13KG.com
www.SpareSomeChange.com
www.FloppyApps.com
www.MaxSpider.com
www.ChatPhobia.com
www.SirSeek.com
www.HappyFaceGenerator.com
www.DangerSignGenerator.com
HolyBiblesSearch:
Internet Search:

www.WHAK.com

www.MAKE-A-MEME.com
www.HolyBibleVerse.com

www.SignGenerator.org

www.MedChecker.com

www.SeekFreak.com

www.Syncrisis.com

www.Presearcher.com

www.SirSeek.com

www.FotoTrix.com

www.BoobSigns.com

www.Canuckster.com

me.ddleso.me

www.9lbs.com

www.TXT2PIC.com

www.FakeMagazineCover.com

www.Trollize.com

www.FanSignGenerator.com

www.Holy-Bibles.org

www.Is-A-Jerk.com

www.HolyBibleSearch.com
www.SillyWebcam.com
www.SillyScenes.com
www.Seekerific.com
www.Nerdful.com
www.BodySwitcher.com
www.13KG.com
www.SpareSomeChange.com
www.FloppyApps.com
www.MaxSpider.com
www.ChatPhobia.com
www.SirSeek.com
www.HappyFaceGenerator.com
www.DangerSignGenerator.com
HolyBiblesSearch:
Internet Search:

www.WHAK.com

www.MAKE-A-MEME.com
www.HolyBibleVerse.com

www.SignGenerator.org

www.MedChecker.com

www.SeekFreak.com

www.Syncrisis.com

www.Presearcher.com

www.SirSeek.com

www.FotoTrix.com

www.BoobSigns.com

www.Canuckster.com

me.ddleso.me

www.9lbs.com

www.TXT2PIC.com

www.FakeMagazineCover.com

www.Trollize.com

www.FanSignGenerator.com

www.Holy-Bibles.org

www.Is-A-Jerk.com

www.HolyBibleSearch.com
www.SillyWebcam.com
www.SillyScenes.com
www.Seekerific.com
www.Nerdful.com
www.BodySwitcher.com
www.13KG.com
www.SpareSomeChange.com
www.FloppyApps.com
www.MaxSpider.com
www.ChatPhobia.com
www.SirSeek.com
www.HappyFaceGenerator.com
www.DangerSignGenerator.com
HolyBiblesSearch:
Internet Search:

www.WHAK.com

www.MAKE-A-MEME.com
www.HolyBibleVerse.com

www.SignGenerator.org

www.MedChecker.com

www.SeekFreak.com

www.Syncrisis.com

www.Presearcher.com

www.SirSeek.com

www.FotoTrix.com

www.BoobSigns.com

www.Canuckster.com

me.ddleso.me

www.9lbs.com

www.TXT2PIC.com

www.FakeMagazineCover.com

www.Trollize.com

www.FanSignGenerator.com

www.Holy-Bibles.org

www.Is-A-Jerk.com

www.HolyBibleSearch.com
www.SillyWebcam.com
www.SillyScenes.com
www.Seekerific.com
www.Nerdful.com
www.BodySwitcher.com
www.13KG.com
www.SpareSomeChange.com
www.FloppyApps.com
www.MaxSpider.com
www.ChatPhobia.com
www.SirSeek.com
www.HappyFaceGenerator.com
www.DangerSignGenerator.com
HolyBiblesSearch:
Internet Search:

www.WHAK.com

www.MAKE-A-MEME.com
www.HolyBibleVerse.com

www.SignGenerator.org

www.MedChecker.com

www.SeekFreak.com

www.Syncrisis.com

www.Presearcher.com

www.SirSeek.com

www.FotoTrix.com

www.BoobSigns.com

www.Canuckster.com

me.ddleso.me

www.9lbs.com

www.TXT2PIC.com

www.FakeMagazineCover.com

www.Trollize.com

www.FanSignGenerator.com

www.Holy-Bibles.org

www.Is-A-Jerk.com

www.HolyBibleSearch.com
www.SillyWebcam.com
www.SillyScenes.com
www.Seekerific.com
www.Nerdful.com
www.BodySwitcher.com
www.13KG.com
www.SpareSomeChange.com
www.FloppyApps.com
www.MaxSpider.com
www.ChatPhobia.com
www.SirSeek.com
www.HappyFaceGenerator.com
www.DangerSignGenerator.com
HolyBiblesSearch:
Internet Search:

www.WHAK.com

www.MAKE-A-MEME.com
www.HolyBibleVerse.com

www.SignGenerator.org

www.MedChecker.com

www.SeekFreak.com

www.Syncrisis.com

www.Presearcher.com

www.SirSeek.com

www.FotoTrix.com

www.BoobSigns.com

www.Canuckster.com

me.ddleso.me

www.9lbs.com

www.TXT2PIC.com

www.FakeMagazineCover.com

www.Trollize.com

www.FanSignGenerator.com

www.Holy-Bibles.org

www.Is-A-Jerk.com

www.HolyBibleSearch.com
www.SillyWebcam.com
www.SillyScenes.com
www.Seekerific.com
www.Nerdful.com
www.BodySwitcher.com
www.13KG.com
www.SpareSomeChange.com
www.FloppyApps.com
www.MaxSpider.com
www.ChatPhobia.com
www.SirSeek.com
www.HappyFaceGenerator.com
www.DangerSignGenerator.com
HolyBiblesSearch:
Internet Search:

www.WHAK.com

www.MAKE-A-MEME.com
www.HolyBibleVerse.com

www.SignGenerator.org

www.MedChecker.com

www.SeekFreak.com

www.Syncrisis.com

www.Presearcher.com

www.SirSeek.com

www.FotoTrix.com

www.BoobSigns.com

www.Canuckster.com

me.ddleso.me

www.9lbs.com

www.TXT2PIC.com

www.FakeMagazineCover.com

www.Trollize.com

www.FanSignGenerator.com

www.Holy-Bibles.org

www.Is-A-Jerk.com

www.HolyBibleSearch.com
www.SillyWebcam.com
www.SillyScenes.com
www.Seekerific.com
www.Nerdful.com
www.BodySwitcher.com
www.13KG.com
www.SpareSomeChange.com
www.FloppyApps.com
www.MaxSpider.com
www.ChatPhobia.com
www.SirSeek.com
www.HappyFaceGenerator.com
www.DangerSignGenerator.com
HolyBiblesSearch:
Internet Search:

www.WHAK.com

www.MAKE-A-MEME.com
www.HolyBibleVerse.com

www.SignGenerator.org

www.MedChecker.com

www.SeekFreak.com

www.Syncrisis.com

www.Presearcher.com

www.SirSeek.com

www.FotoTrix.com

www.BoobSigns.com

www.Canuckster.com

me.ddleso.me

www.9lbs.com

www.TXT2PIC.com

www.FakeMagazineCover.com

www.Trollize.com

www.FanSignGenerator.com

www.Holy-Bibles.org

www.Is-A-Jerk.com

www.HolyBibleSearch.com
www.SillyWebcam.com
www.SillyScenes.com
www.Seekerific.com
www.Nerdful.com
www.BodySwitcher.com
www.13KG.com
www.SpareSomeChange.com
www.FloppyApps.com
www.MaxSpider.com
www.ChatPhobia.com
www.SirSeek.com
www.HappyFaceGenerator.com
www.DangerSignGenerator.com
HolyBiblesSearch:
Internet Search:

www.WHAK.com

www.MAKE-A-MEME.com
www.HolyBibleVerse.com

www.SignGenerator.org

www.MedChecker.com

www.SeekFreak.com

www.Syncrisis.com

www.Presearcher.com

www.SirSeek.com

www.FotoTrix.com

www.BoobSigns.com

www.Canuckster.com

me.ddleso.me

www.9lbs.com

www.TXT2PIC.com

www.FakeMagazineCover.com

www.Trollize.com

www.FanSignGenerator.com

www.Holy-Bibles.org

www.Is-A-Jerk.com

www.HolyBibleSearch.com
www.SillyWebcam.com
www.SillyScenes.com
www.Seekerific.com
www.Nerdful.com
www.BodySwitcher.com
www.13KG.com
www.SpareSomeChange.com
www.FloppyApps.com
www.MaxSpider.com
www.ChatPhobia.com
www.SirSeek.com
www.HappyFaceGenerator.com
www.DangerSignGenerator.com
HolyBiblesSearch:
Internet Search:

www.WHAK.com

www.MAKE-A-MEME.com
www.HolyBibleVerse.com

www.SignGenerator.org

www.MedChecker.com

www.SeekFreak.com

www.Syncrisis.com

www.Presearcher.com

www.SirSeek.com

www.FotoTrix.com

www.BoobSigns.com

www.Canuckster.com

me.ddleso.me

www.9lbs.com

www.TXT2PIC.com

www.FakeMagazineCover.com

www.Trollize.com

www.FanSignGenerator.com

www.Holy-Bibles.org

www.Is-A-Jerk.com

www.HolyBibleSearch.com
www.SillyWebcam.com
www.SillyScenes.com
www.Seekerific.com
www.Nerdful.com
www.BodySwitcher.com
www.13KG.com
www.SpareSomeChange.com
www.FloppyApps.com
www.MaxSpider.com
www.ChatPhobia.com
www.SirSeek.com
www.HappyFaceGenerator.com
www.DangerSignGenerator.com
HolyBiblesSearch:
Internet Search:

www.WHAK.com

www.MAKE-A-MEME.com
www.HolyBibleVerse.com

www.SignGenerator.org

www.MedChecker.com

www.SeekFreak.com

www.Syncrisis.com

www.Presearcher.com

www.SirSeek.com

www.FotoTrix.com

www.BoobSigns.com

www.Canuckster.com

me.ddleso.me

www.9lbs.com

www.TXT2PIC.com

www.FakeMagazineCover.com

www.Trollize.com

www.FanSignGenerator.com

www.Holy-Bibles.org

www.Is-A-Jerk.com

www.HolyBibleSearch.com
www.SillyWebcam.com
www.SillyScenes.com
www.Seekerific.com
www.Nerdful.com
www.BodySwitcher.com
www.13KG.com
www.SpareSomeChange.com
www.FloppyApps.com
www.MaxSpider.com
www.ChatPhobia.com
www.SirSeek.com
www.HappyFaceGenerator.com
www.DangerSignGenerator.com
HolyBiblesSearch:
Internet Search:

www.WHAK.com

www.MAKE-A-MEME.com
www.HolyBibleVerse.com

www.SignGenerator.org

www.MedChecker.com

www.SeekFreak.com

www.Syncrisis.com

www.Presearcher.com

www.SirSeek.com

www.FotoTrix.com

www.BoobSigns.com

www.Canuckster.com

me.ddleso.me

www.9lbs.com

www.TXT2PIC.com

www.FakeMagazineCover.com

www.Trollize.com

www.FanSignGenerator.com

www.Holy-Bibles.org

www.Is-A-Jerk.com

www.HolyBibleSearch.com
www.SillyWebcam.com
www.SillyScenes.com
www.Seekerific.com
www.Nerdful.com
www.BodySwitcher.com
www.13KG.com
www.SpareSomeChange.com
www.FloppyApps.com
www.MaxSpider.com
www.ChatPhobia.com
www.SirSeek.com
www.HappyFaceGenerator.com
www.DangerSignGenerator.com
HolyBiblesSearch:
Internet Search:

www.WHAK.com

www.MAKE-A-MEME.com
www.HolyBibleVerse.com

www.SignGenerator.org

www.MedChecker.com

www.SeekFreak.com

www.Syncrisis.com

www.Presearcher.com

www.SirSeek.com

www.FotoTrix.com

www.BoobSigns.com

www.Canuckster.com

me.ddleso.me

www.9lbs.com

www.TXT2PIC.com

www.FakeMagazineCover.com

www.Trollize.com

www.FanSignGenerator.com

www.Holy-Bibles.org

www.Is-A-Jerk.com

www.HolyBibleSearch.com
www.SillyWebcam.com
www.SillyScenes.com
www.Seekerific.com
www.Nerdful.com
www.BodySwitcher.com
www.13KG.com
www.SpareSomeChange.com
www.FloppyApps.com
www.MaxSpider.com
www.ChatPhobia.com
www.SirSeek.com
www.HappyFaceGenerator.com
www.DangerSignGenerator.com
HolyBiblesSearch:
Internet Search:

www.WHAK.com

www.MAKE-A-MEME.com
www.HolyBibleVerse.com

www.SignGenerator.org

www.MedChecker.com

www.SeekFreak.com

www.Syncrisis.com

www.Presearcher.com

www.SirSeek.com

www.FotoTrix.com

www.BoobSigns.com

www.Canuckster.com

me.ddleso.me

www.9lbs.com

www.TXT2PIC.com

www.FakeMagazineCover.com

www.Trollize.com

www.FanSignGenerator.com

www.Holy-Bibles.org

www.Is-A-Jerk.com

www.HolyBibleSearch.com
www.SillyWebcam.com
www.SillyScenes.com
www.Seekerific.com
www.Nerdful.com
www.BodySwitcher.com
www.13KG.com
www.SpareSomeChange.com
www.FloppyApps.com
www.MaxSpider.com
www.ChatPhobia.com
www.SirSeek.com
www.HappyFaceGenerator.com
www.DangerSignGenerator.com
HolyBiblesSearch:
Internet Search:

www.WHAK.com

www.MAKE-A-MEME.com
www.HolyBibleVerse.com

www.SignGenerator.org

www.MedChecker.com

www.SeekFreak.com

www.Syncrisis.com

www.Presearcher.com

www.SirSeek.com

www.FotoTrix.com

www.BoobSigns.com

www.Canuckster.com

me.ddleso.me

www.9lbs.com

www.TXT2PIC.com

www.FakeMagazineCover.com

www.Trollize.com

www.FanSignGenerator.com

www.Holy-Bibles.org

www.Is-A-Jerk.com

www.HolyBibleSearch.com
www.SillyWebcam.com
www.SillyScenes.com
www.Seekerific.com
www.Nerdful.com
www.BodySwitcher.com
www.13KG.com
www.SpareSomeChange.com
www.FloppyApps.com
www.MaxSpider.com
www.ChatPhobia.com
www.SirSeek.com
www.HappyFaceGenerator.com
www.DangerSignGenerator.com
HolyBiblesSearch:
Internet Search:

www.WHAK.com

www.MAKE-A-MEME.com
www.HolyBibleVerse.com

www.SignGenerator.org

www.MedChecker.com

www.SeekFreak.com

www.Syncrisis.com

www.Presearcher.com

www.SirSeek.com

www.FotoTrix.com

www.BoobSigns.com

www.Canuckster.com

me.ddleso.me

www.9lbs.com

www.TXT2PIC.com

www.FakeMagazineCover.com

www.Trollize.com

www.FanSignGenerator.com

www.Holy-Bibles.org

www.Is-A-Jerk.com

www.HolyBibleSearch.com
www.SillyWebcam.com
www.SillyScenes.com
www.Seekerific.com
www.Nerdful.com
www.BodySwitcher.com
www.13KG.com
www.SpareSomeChange.com
www.FloppyApps.com
www.MaxSpider.com
www.ChatPhobia.com
www.SirSeek.com
www.HappyFaceGenerator.com
www.DangerSignGenerator.com
HolyBiblesSearch:
Internet Search:

www.WHAK.com

www.MAKE-A-MEME.com
www.HolyBibleVerse.com

www.SignGenerator.org

www.MedChecker.com

www.SeekFreak.com

www.Syncrisis.com

www.Presearcher.com

www.SirSeek.com

www.FotoTrix.com

www.BoobSigns.com

www.Canuckster.com

me.ddleso.me

www.9lbs.com

www.TXT2PIC.com

www.FakeMagazineCover.com

www.Trollize.com

www.FanSignGenerator.com

www.Holy-Bibles.org

www.Is-A-Jerk.com

www.HolyBibleSearch.com
www.SillyWebcam.com
www.SillyScenes.com
www.Seekerific.com
www.Nerdful.com
www.BodySwitcher.com
www.13KG.com
www.SpareSomeChange.com
www.FloppyApps.com
www.MaxSpider.com
www.ChatPhobia.com
www.SirSeek.com
www.HappyFaceGenerator.com
www.DangerSignGenerator.com
HolyBiblesSearch:
Internet Search:

www.WHAK.com

www.MAKE-A-MEME.com
www.HolyBibleVerse.com

www.SignGenerator.org

www.MedChecker.com

www.SeekFreak.com

www.Syncrisis.com

www.Presearcher.com

www.SirSeek.com

www.FotoTrix.com

www.BoobSigns.com

www.Canuckster.com

me.ddleso.me

www.9lbs.com

www.TXT2PIC.com

www.FakeMagazineCover.com

www.Trollize.com

www.FanSignGenerator.com

www.Holy-Bibles.org

www.Is-A-Jerk.com

www.HolyBibleSearch.com
www.SillyWebcam.com
www.SillyScenes.com
www.Seekerific.com
www.Nerdful.com
www.BodySwitcher.com
www.13KG.com
www.SpareSomeChange.com
www.FloppyApps.com
www.MaxSpider.com
www.ChatPhobia.com
www.SirSeek.com
www.HappyFaceGenerator.com
www.DangerSignGenerator.com
HolyBiblesSearch:
Internet Search:

www.WHAK.com

www.MAKE-A-MEME.com
www.HolyBibleVerse.com

www.SignGenerator.org

www.MedChecker.com

www.SeekFreak.com

www.Syncrisis.com

www.Presearcher.com

www.SirSeek.com

www.FotoTrix.com

www.BoobSigns.com

www.Canuckster.com

me.ddleso.me

www.9lbs.com

www.TXT2PIC.com

www.FakeMagazineCover.com

www.Trollize.com

www.FanSignGenerator.com

www.Holy-Bibles.org

www.Is-A-Jerk.com

www.HolyBibleSearch.com
www.SillyWebcam.com
www.SillyScenes.com
www.Seekerific.com
www.Nerdful.com
www.BodySwitcher.com
www.13KG.com
www.SpareSomeChange.com
www.FloppyApps.com
www.MaxSpider.com
www.ChatPhobia.com
www.SirSeek.com
www.HappyFaceGenerator.com
www.DangerSignGenerator.com
HolyBiblesSearch:
Internet Search:

www.WHAK.com

www.MAKE-A-MEME.com
www.HolyBibleVerse.com

www.SignGenerator.org

www.MedChecker.com

www.SeekFreak.com

www.Syncrisis.com

www.Presearcher.com

www.SirSeek.com

www.FotoTrix.com

www.BoobSigns.com

www.Canuckster.com

me.ddleso.me

www.9lbs.com

www.TXT2PIC.com

www.FakeMagazineCover.com

www.Trollize.com

www.FanSignGenerator.com

www.Holy-Bibles.org

www.Is-A-Jerk.com

www.HolyBibleSearch.com
www.SillyWebcam.com
www.SillyScenes.com
www.Seekerific.com
www.Nerdful.com
www.BodySwitcher.com
www.13KG.com
www.SpareSomeChange.com
www.FloppyApps.com
www.MaxSpider.com
www.ChatPhobia.com
www.SirSeek.com
www.HappyFaceGenerator.com
www.DangerSignGenerator.com
HolyBiblesSearch:
Internet Search:

www.WHAK.com

www.MAKE-A-MEME.com
www.HolyBibleVerse.com

www.SignGenerator.org

www.MedChecker.com

www.SeekFreak.com

www.Syncrisis.com

www.Presearcher.com

www.SirSeek.com

www.FotoTrix.com

www.BoobSigns.com

www.Canuckster.com

me.ddleso.me

www.9lbs.com

www.TXT2PIC.com

www.FakeMagazineCover.com

www.Trollize.com

www.FanSignGenerator.com

www.Holy-Bibles.org

www.Is-A-Jerk.com

www.HolyBibleSearch.com
www.SillyWebcam.com
www.SillyScenes.com
www.Seekerific.com
www.Nerdful.com
www.BodySwitcher.com
www.13KG.com
www.SpareSomeChange.com
www.FloppyApps.com
www.MaxSpider.com
www.ChatPhobia.com
www.SirSeek.com
www.HappyFaceGenerator.com
www.DangerSignGenerator.com
HolyBiblesSearch:
Internet Search:

www.WHAK.com

www.MAKE-A-MEME.com
www.HolyBibleVerse.com

www.SignGenerator.org

www.MedChecker.com

www.SeekFreak.com

www.Syncrisis.com

www.Presearcher.com

www.SirSeek.com

www.FotoTrix.com

www.BoobSigns.com

www.Canuckster.com

me.ddleso.me

www.9lbs.com

www.TXT2PIC.com

www.FakeMagazineCover.com

www.Trollize.com

www.FanSignGenerator.com

www.Holy-Bibles.org

www.Is-A-Jerk.com

www.HolyBibleSearch.com
www.SillyWebcam.com
www.SillyScenes.com
www.Seekerific.com
www.Nerdful.com
www.BodySwitcher.com
www.13KG.com
www.SpareSomeChange.com
www.FloppyApps.com
www.MaxSpider.com
www.ChatPhobia.com
www.SirSeek.com
www.HappyFaceGenerator.com
www.DangerSignGenerator.com
HolyBiblesSearch:
Internet Search:

www.WHAK.com

www.MAKE-A-MEME.com
www.HolyBibleVerse.com

www.SignGenerator.org

www.MedChecker.com

www.SeekFreak.com

www.Syncrisis.com

www.Presearcher.com

www.SirSeek.com

www.FotoTrix.com

www.BoobSigns.com

www.Canuckster.com

me.ddleso.me

www.9lbs.com

www.TXT2PIC.com

www.FakeMagazineCover.com

www.Trollize.com

www.FanSignGenerator.com

www.Holy-Bibles.org

www.Is-A-Jerk.com

www.HolyBibleSearch.com
www.SillyWebcam.com
www.SillyScenes.com
www.Seekerific.com
www.Nerdful.com
www.BodySwitcher.com
www.13KG.com
www.SpareSomeChange.com
www.FloppyApps.com
www.MaxSpider.com
www.ChatPhobia.com
www.SirSeek.com
www.HappyFaceGenerator.com
www.DangerSignGenerator.com
HolyBiblesSearch:
Internet Search:

www.WHAK.com

www.MAKE-A-MEME.com
www.HolyBibleVerse.com

www.SignGenerator.org

www.MedChecker.com

www.SeekFreak.com

www.Syncrisis.com

www.Presearcher.com

www.SirSeek.com

www.FotoTrix.com

www.BoobSigns.com

www.Canuckster.com

me.ddleso.me

www.9lbs.com

www.TXT2PIC.com

www.FakeMagazineCover.com

www.Trollize.com

www.FanSignGenerator.com

www.Holy-Bibles.org

www.Is-A-Jerk.com

www.HolyBibleSearch.com
www.SillyWebcam.com
www.SillyScenes.com
www.Seekerific.com
www.Nerdful.com
www.BodySwitcher.com
www.13KG.com
www.SpareSomeChange.com
www.FloppyApps.com
www.MaxSpider.com
www.ChatPhobia.com
www.SirSeek.com
www.HappyFaceGenerator.com
www.DangerSignGenerator.com
HolyBiblesSearch:
Internet Search:

www.WHAK.com

www.MAKE-A-MEME.com
www.HolyBibleVerse.com

www.SignGenerator.org

www.MedChecker.com

www.SeekFreak.com

www.Syncrisis.com

www.Presearcher.com

www.SirSeek.com

www.FotoTrix.com

www.BoobSigns.com

www.Canuckster.com

me.ddleso.me

www.9lbs.com

www.TXT2PIC.com

www.FakeMagazineCover.com

www.Trollize.com

www.FanSignGenerator.com

www.Holy-Bibles.org

www.Is-A-Jerk.com

www.HolyBibleSearch.com
www.SillyWebcam.com
www.SillyScenes.com
www.Seekerific.com
www.Nerdful.com
www.BodySwitcher.com
www.13KG.com
www.SpareSomeChange.com
www.FloppyApps.com
www.MaxSpider.com
www.ChatPhobia.com
www.SirSeek.com
www.HappyFaceGenerator.com
www.DangerSignGenerator.com
HolyBiblesSearch:
Internet Search:

www.WHAK.com

www.MAKE-A-MEME.com
www.HolyBibleVerse.com

www.SignGenerator.org

www.MedChecker.com

www.SeekFreak.com

www.Syncrisis.com

www.Presearcher.com

www.SirSeek.com

www.FotoTrix.com

www.BoobSigns.com

www.Canuckster.com

me.ddleso.me

www.9lbs.com

www.TXT2PIC.com

www.FakeMagazineCover.com

www.Trollize.com

www.FanSignGenerator.com

www.Holy-Bibles.org

www.Is-A-Jerk.com

www.HolyBibleSearch.com
www.SillyWebcam.com
www.SillyScenes.com
www.Seekerific.com
www.Nerdful.com
www.BodySwitcher.com
www.13KG.com
www.SpareSomeChange.com
www.FloppyApps.com
www.MaxSpider.com
www.ChatPhobia.com
www.SirSeek.com
www.HappyFaceGenerator.com
www.DangerSignGenerator.com
HolyBiblesSearch:
Internet Search:

www.WHAK.com

www.MAKE-A-MEME.com
www.HolyBibleVerse.com

www.SignGenerator.org

www.MedChecker.com

www.SeekFreak.com

www.Syncrisis.com

www.Presearcher.com

www.SirSeek.com

www.FotoTrix.com

www.BoobSigns.com

www.Canuckster.com

me.ddleso.me

www.9lbs.com

www.TXT2PIC.com

www.FakeMagazineCover.com

www.Trollize.com

www.FanSignGenerator.com

www.Holy-Bibles.org

www.Is-A-Jerk.com

www.HolyBibleSearch.com
www.SillyWebcam.com
www.SillyScenes.com
www.Seekerific.com
www.Nerdful.com
www.BodySwitcher.com
www.13KG.com
www.SpareSomeChange.com
www.FloppyApps.com
www.MaxSpider.com
www.ChatPhobia.com
www.SirSeek.com
www.HappyFaceGenerator.com
www.DangerSignGenerator.com
HolyBiblesSearch:
Internet Search:

www.WHAK.com

www.MAKE-A-MEME.com
www.HolyBibleVerse.com

www.SignGenerator.org

www.MedChecker.com

www.SeekFreak.com

www.Syncrisis.com

www.Presearcher.com

www.SirSeek.com

www.FotoTrix.com

www.BoobSigns.com

www.Canuckster.com

me.ddleso.me

www.9lbs.com

www.TXT2PIC.com

www.FakeMagazineCover.com

www.Trollize.com

www.FanSignGenerator.com

www.Holy-Bibles.org

www.Is-A-Jerk.com

www.HolyBibleSearch.com
www.SillyWebcam.com
www.SillyScenes.com
www.Seekerific.com
www.Nerdful.com
www.BodySwitcher.com
www.13KG.com
www.SpareSomeChange.com
www.FloppyApps.com
www.MaxSpider.com
www.ChatPhobia.com
www.SirSeek.com
www.HappyFaceGenerator.com
www.DangerSignGenerator.com
HolyBiblesSearch:
Internet Search:

www.WHAK.com

www.MAKE-A-MEME.com
www.HolyBibleVerse.com

www.SignGenerator.org

www.MedChecker.com

www.SeekFreak.com

www.Syncrisis.com

www.Presearcher.com

www.SirSeek.com

www.FotoTrix.com

www.BoobSigns.com

www.Canuckster.com

me.ddleso.me

www.9lbs.com

www.TXT2PIC.com

www.FakeMagazineCover.com

www.Trollize.com

www.FanSignGenerator.com

www.Holy-Bibles.org

www.Is-A-Jerk.com

www.HolyBibleSearch.com
www.SillyWebcam.com
www.SillyScenes.com
www.Seekerific.com
www.Nerdful.com
www.BodySwitcher.com
www.13KG.com
www.SpareSomeChange.com
www.FloppyApps.com
www.MaxSpider.com
www.ChatPhobia.com
www.SirSeek.com
www.HappyFaceGenerator.com
www.DangerSignGenerator.com
HolyBiblesSearch:
Internet Search:

www.WHAK.com

www.MAKE-A-MEME.com
www.HolyBibleVerse.com

www.SignGenerator.org

www.MedChecker.com

www.SeekFreak.com

www.Syncrisis.com

www.Presearcher.com

www.SirSeek.com

www.FotoTrix.com

www.BoobSigns.com

www.Canuckster.com

me.ddleso.me

www.9lbs.com

www.TXT2PIC.com

www.FakeMagazineCover.com

www.Trollize.com

www.FanSignGenerator.com

www.Holy-Bibles.org

www.Is-A-Jerk.com

www.HolyBibleSearch.com
www.SillyWebcam.com
www.SillyScenes.com
www.Seekerific.com
www.Nerdful.com
www.BodySwitcher.com
www.13KG.com
www.SpareSomeChange.com
www.FloppyApps.com
www.MaxSpider.com
www.ChatPhobia.com
www.SirSeek.com
www.HappyFaceGenerator.com
www.DangerSignGenerator.com
HolyBiblesSearch:
Internet Search:

www.WHAK.com

www.MAKE-A-MEME.com
www.HolyBibleVerse.com

www.SignGenerator.org

www.MedChecker.com

www.SeekFreak.com

www.Syncrisis.com

www.Presearcher.com

www.SirSeek.com

www.FotoTrix.com

www.BoobSigns.com

www.Canuckster.com

me.ddleso.me

www.9lbs.com

www.TXT2PIC.com

www.FakeMagazineCover.com

www.Trollize.com

www.FanSignGenerator.com

www.Holy-Bibles.org

www.Is-A-Jerk.com

www.HolyBibleSearch.com
www.SillyWebcam.com
www.SillyScenes.com
www.Seekerific.com
www.Nerdful.com
www.BodySwitcher.com
www.13KG.com
www.SpareSomeChange.com
www.FloppyApps.com
www.MaxSpider.com
www.ChatPhobia.com
www.SirSeek.com
www.HappyFaceGenerator.com
www.DangerSignGenerator.com
HolyBiblesSearch:
Internet Search:

www.WHAK.com

www.MAKE-A-MEME.com
www.HolyBibleVerse.com

www.SignGenerator.org

www.MedChecker.com

www.SeekFreak.com

www.Syncrisis.com

www.Presearcher.com

www.SirSeek.com

www.FotoTrix.com

www.BoobSigns.com

www.Canuckster.com

me.ddleso.me

www.9lbs.com

www.TXT2PIC.com

www.FakeMagazineCover.com

www.Trollize.com

www.FanSignGenerator.com

www.Holy-Bibles.org

www.Is-A-Jerk.com

www.HolyBibleSearch.com
www.SillyWebcam.com
www.SillyScenes.com
www.Seekerific.com
www.Nerdful.com
www.BodySwitcher.com
www.13KG.com
www.SpareSomeChange.com
www.FloppyApps.com
www.MaxSpider.com
www.ChatPhobia.com
www.SirSeek.com
www.HappyFaceGenerator.com
www.DangerSignGenerator.com
HolyBiblesSearch:
Internet Search:

www.WHAK.com

www.MAKE-A-MEME.com
www.HolyBibleVerse.com

www.SignGenerator.org

www.MedChecker.com

www.SeekFreak.com

www.Syncrisis.com

www.Presearcher.com

www.SirSeek.com

www.FotoTrix.com

www.BoobSigns.com

www.Canuckster.com

me.ddleso.me

www.9lbs.com

www.TXT2PIC.com

www.FakeMagazineCover.com

www.Trollize.com

www.FanSignGenerator.com

www.Holy-Bibles.org

www.Is-A-Jerk.com

www.HolyBibleSearch.com
www.SillyWebcam.com
www.SillyScenes.com
www.Seekerific.com
www.Nerdful.com
www.BodySwitcher.com
www.13KG.com
www.SpareSomeChange.com
www.FloppyApps.com
www.MaxSpider.com
www.ChatPhobia.com
www.SirSeek.com
www.HappyFaceGenerator.com
www.DangerSignGenerator.com
HolyBiblesSearch:
Internet Search:

www.WHAK.com

www.MAKE-A-MEME.com
www.HolyBibleVerse.com

www.SignGenerator.org

www.MedChecker.com

www.SeekFreak.com

www.Syncrisis.com

www.Presearcher.com

www.SirSeek.com

www.FotoTrix.com

www.BoobSigns.com

www.Canuckster.com

me.ddleso.me

www.9lbs.com

www.TXT2PIC.com

www.FakeMagazineCover.com

www.Trollize.com

www.FanSignGenerator.com

www.Holy-Bibles.org

www.Is-A-Jerk.com

www.HolyBibleSearch.com
www.SillyWebcam.com
www.SillyScenes.com
www.Seekerific.com
www.Nerdful.com
www.BodySwitcher.com
www.13KG.com
www.SpareSomeChange.com
www.FloppyApps.com
www.MaxSpider.com
www.ChatPhobia.com
www.SirSeek.com
www.HappyFaceGenerator.com
www.DangerSignGenerator.com
HolyBiblesSearch:
Internet Search:

www.WHAK.com

www.MAKE-A-MEME.com
www.HolyBibleVerse.com

www.SignGenerator.org

www.MedChecker.com

www.SeekFreak.com

www.Syncrisis.com

www.Presearcher.com

www.SirSeek.com

www.FotoTrix.com

www.BoobSigns.com

www.Canuckster.com

me.ddleso.me

www.9lbs.com

www.TXT2PIC.com

www.FakeMagazineCover.com

www.Trollize.com

www.FanSignGenerator.com

www.Holy-Bibles.org

www.Is-A-Jerk.com

www.HolyBibleSearch.com
www.SillyWebcam.com
www.SillyScenes.com
www.Seekerific.com
www.Nerdful.com
www.BodySwitcher.com
www.13KG.com
www.SpareSomeChange.com
www.FloppyApps.com
www.MaxSpider.com
www.ChatPhobia.com
www.SirSeek.com
www.HappyFaceGenerator.com
www.DangerSignGenerator.com
HolyBiblesSearch:
Internet Search:

www.WHAK.com

www.MAKE-A-MEME.com
www.HolyBibleVerse.com

www.SignGenerator.org

www.MedChecker.com

www.SeekFreak.com

www.Syncrisis.com

www.Presearcher.com

www.SirSeek.com

www.FotoTrix.com

www.BoobSigns.com

www.Canuckster.com

me.ddleso.me

www.9lbs.com

www.TXT2PIC.com

www.FakeMagazineCover.com

www.Trollize.com

www.FanSignGenerator.com

www.Holy-Bibles.org

www.Is-A-Jerk.com

www.HolyBibleSearch.com
www.SillyWebcam.com
www.SillyScenes.com
www.Seekerific.com
www.Nerdful.com
www.BodySwitcher.com
www.13KG.com
www.SpareSomeChange.com
www.FloppyApps.com
www.MaxSpider.com
www.ChatPhobia.com
www.SirSeek.com
www.HappyFaceGenerator.com
www.DangerSignGenerator.com
HolyBiblesSearch:
Internet Search:

www.WHAK.com

www.MAKE-A-MEME.com
www.HolyBibleVerse.com

www.SignGenerator.org

www.MedChecker.com

www.SeekFreak.com

www.Syncrisis.com

www.Presearcher.com

www.SirSeek.com

www.FotoTrix.com

www.BoobSigns.com

www.Canuckster.com

me.ddleso.me

www.9lbs.com

www.TXT2PIC.com

www.FakeMagazineCover.com

www.Trollize.com

www.FanSignGenerator.com

www.Holy-Bibles.org

www.Is-A-Jerk.com

www.HolyBibleSearch.com
www.SillyWebcam.com
www.SillyScenes.com
www.Seekerific.com
www.Nerdful.com
www.BodySwitcher.com
www.13KG.com
www.SpareSomeChange.com
www.FloppyApps.com
www.MaxSpider.com
www.ChatPhobia.com
www.SirSeek.com
www.HappyFaceGenerator.com
www.DangerSignGenerator.com
HolyBiblesSearch:
Internet Search:

www.WHAK.com

www.MAKE-A-MEME.com
www.HolyBibleVerse.com

www.SignGenerator.org

www.MedChecker.com

www.SeekFreak.com

www.Syncrisis.com

www.Presearcher.com

www.SirSeek.com

www.FotoTrix.com

www.BoobSigns.com

www.Canuckster.com

me.ddleso.me

www.9lbs.com

www.TXT2PIC.com

www.FakeMagazineCover.com

www.Trollize.com

www.FanSignGenerator.com

www.Holy-Bibles.org

www.Is-A-Jerk.com

www.HolyBibleSearch.com
www.SillyWebcam.com
www.SillyScenes.com
www.Seekerific.com
www.Nerdful.com
www.BodySwitcher.com
www.13KG.com
www.SpareSomeChange.com
www.FloppyApps.com
www.MaxSpider.com
www.ChatPhobia.com
www.SirSeek.com
www.HappyFaceGenerator.com
www.DangerSignGenerator.com
HolyBiblesSearch:
Internet Search:

www.WHAK.com

www.MAKE-A-MEME.com
www.HolyBibleVerse.com

www.SignGenerator.org

www.MedChecker.com

www.SeekFreak.com

www.Syncrisis.com

www.Presearcher.com

www.SirSeek.com

www.FotoTrix.com

www.BoobSigns.com

www.Canuckster.com

me.ddleso.me

www.9lbs.com

www.TXT2PIC.com

www.FakeMagazineCover.com

www.Trollize.com

www.FanSignGenerator.com

www.Holy-Bibles.org

www.Is-A-Jerk.com

www.HolyBibleSearch.com
www.SillyWebcam.com
www.SillyScenes.com
www.Seekerific.com
www.Nerdful.com
www.BodySwitcher.com
www.13KG.com
www.SpareSomeChange.com
www.FloppyApps.com
www.MaxSpider.com
www.ChatPhobia.com
www.SirSeek.com
www.HappyFaceGenerator.com
www.DangerSignGenerator.com
HolyBiblesSearch:
Internet Search:

www.WHAK.com

www.MAKE-A-MEME.com
www.HolyBibleVerse.com

www.SignGenerator.org

www.MedChecker.com

www.SeekFreak.com

www.Syncrisis.com

www.Presearcher.com

www.SirSeek.com

www.FotoTrix.com

www.BoobSigns.com

www.Canuckster.com

me.ddleso.me

www.9lbs.com

www.TXT2PIC.com

www.FakeMagazineCover.com

www.Trollize.com

www.FanSignGenerator.com

www.Holy-Bibles.org

www.Is-A-Jerk.com

www.HolyBibleSearch.com
www.SillyWebcam.com
www.SillyScenes.com
www.Seekerific.com
www.Nerdful.com
www.BodySwitcher.com
www.13KG.com
www.SpareSomeChange.com
www.FloppyApps.com
www.MaxSpider.com
www.ChatPhobia.com
www.SirSeek.com
www.HappyFaceGenerator.com
www.DangerSignGenerator.com
HolyBiblesSearch:
Internet Search:

www.WHAK.com

www.MAKE-A-MEME.com
www.HolyBibleVerse.com

www.SignGenerator.org

www.MedChecker.com

www.SeekFreak.com

www.Syncrisis.com

www.Presearcher.com

www.SirSeek.com

www.FotoTrix.com

www.BoobSigns.com

www.Canuckster.com

me.ddleso.me

www.9lbs.com

www.TXT2PIC.com

www.FakeMagazineCover.com

www.Trollize.com

www.FanSignGenerator.com

www.Holy-Bibles.org

www.Is-A-Jerk.com

www.HolyBibleSearch.com
www.SillyWebcam.com
www.SillyScenes.com
www.Seekerific.com
www.Nerdful.com
www.BodySwitcher.com
www.13KG.com
www.SpareSomeChange.com
www.FloppyApps.com
www.MaxSpider.com
www.ChatPhobia.com
www.SirSeek.com
www.HappyFaceGenerator.com
www.DangerSignGenerator.com
HolyBiblesSearch:
Internet Search:

www.WHAK.com

www.MAKE-A-MEME.com
www.HolyBibleVerse.com

www.SignGenerator.org

www.MedChecker.com

www.SeekFreak.com

www.Syncrisis.com

www.Presearcher.com

www.SirSeek.com

www.FotoTrix.com

www.BoobSigns.com

www.Canuckster.com

me.ddleso.me

www.9lbs.com

www.TXT2PIC.com

www.FakeMagazineCover.com

www.Trollize.com

www.FanSignGenerator.com

www.Holy-Bibles.org

www.Is-A-Jerk.com

www.HolyBibleSearch.com
www.SillyWebcam.com
www.SillyScenes.com
www.Seekerific.com
www.Nerdful.com
www.BodySwitcher.com
www.13KG.com
www.SpareSomeChange.com
www.FloppyApps.com
www.MaxSpider.com
www.ChatPhobia.com
www.SirSeek.com
www.HappyFaceGenerator.com
www.DangerSignGenerator.com
HolyBiblesSearch:
Internet Search:

www.WHAK.com

www.MAKE-A-MEME.com
www.HolyBibleVerse.com

www.SignGenerator.org

www.MedChecker.com

www.SeekFreak.com

www.Syncrisis.com

www.Presearcher.com

www.SirSeek.com

www.FotoTrix.com

www.BoobSigns.com

www.Canuckster.com

me.ddleso.me

www.9lbs.com

www.TXT2PIC.com

www.FakeMagazineCover.com

www.Trollize.com

www.FanSignGenerator.com

www.Holy-Bibles.org

www.Is-A-Jerk.com

www.HolyBibleSearch.com
www.SillyWebcam.com
www.SillyScenes.com
www.Seekerific.com
www.Nerdful.com
www.BodySwitcher.com
www.13KG.com
www.SpareSomeChange.com
www.FloppyApps.com
www.MaxSpider.com
www.ChatPhobia.com
www.SirSeek.com
www.HappyFaceGenerator.com
www.DangerSignGenerator.com
HolyBiblesSearch:
Internet Search:

www.WHAK.com

www.MAKE-A-MEME.com
www.HolyBibleVerse.com

www.SignGenerator.org

www.MedChecker.com

www.SeekFreak.com

www.Syncrisis.com

www.Presearcher.com

www.SirSeek.com

www.FotoTrix.com

www.BoobSigns.com

www.Canuckster.com

me.ddleso.me

www.9lbs.com

www.TXT2PIC.com

www.FakeMagazineCover.com

www.Trollize.com

www.FanSignGenerator.com

www.Holy-Bibles.org

www.Is-A-Jerk.com

www.HolyBibleSearch.com
www.SillyWebcam.com
www.SillyScenes.com
www.Seekerific.com
www.Nerdful.com
www.BodySwitcher.com
www.13KG.com
www.SpareSomeChange.com
www.FloppyApps.com
www.MaxSpider.com
www.ChatPhobia.com
www.SirSeek.com
www.HappyFaceGenerator.com
www.DangerSignGenerator.com
HolyBiblesSearch:
Internet Search:

www.WHAK.com

www.MAKE-A-MEME.com
www.HolyBibleVerse.com

www.SignGenerator.org

www.MedChecker.com

www.SeekFreak.com

www.Syncrisis.com

www.Presearcher.com

www.SirSeek.com

www.FotoTrix.com

www.BoobSigns.com

www.Canuckster.com

me.ddleso.me

www.9lbs.com

www.TXT2PIC.com

www.FakeMagazineCover.com

www.Trollize.com

www.FanSignGenerator.com

www.Holy-Bibles.org

www.Is-A-Jerk.com

www.HolyBibleSearch.com
www.SillyWebcam.com
www.SillyScenes.com
www.Seekerific.com
www.Nerdful.com
www.BodySwitcher.com
www.13KG.com
www.SpareSomeChange.com
www.FloppyApps.com
www.MaxSpider.com
www.ChatPhobia.com
www.SirSeek.com
www.HappyFaceGenerator.com
www.DangerSignGenerator.com
HolyBiblesSearch:
Internet Search:

www.WHAK.com

www.MAKE-A-MEME.com
www.HolyBibleVerse.com

www.SignGenerator.org

www.MedChecker.com

www.SeekFreak.com

www.Syncrisis.com

www.Presearcher.com

www.SirSeek.com

www.FotoTrix.com

www.BoobSigns.com

www.Canuckster.com

me.ddleso.me

www.9lbs.com

www.TXT2PIC.com

www.FakeMagazineCover.com

www.Trollize.com

www.FanSignGenerator.com

www.Holy-Bibles.org

www.Is-A-Jerk.com

www.HolyBibleSearch.com
www.SillyWebcam.com
www.SillyScenes.com
www.Seekerific.com
www.Nerdful.com
www.BodySwitcher.com
www.13KG.com
www.SpareSomeChange.com
www.FloppyApps.com
www.MaxSpider.com
www.ChatPhobia.com
www.SirSeek.com
www.HappyFaceGenerator.com
www.DangerSignGenerator.com
HolyBiblesSearch:
Internet Search:

www.WHAK.com

www.MAKE-A-MEME.com
www.HolyBibleVerse.com

www.SignGenerator.org

www.MedChecker.com

www.SeekFreak.com

www.Syncrisis.com

www.Presearcher.com

www.SirSeek.com

www.FotoTrix.com

www.BoobSigns.com

www.Canuckster.com

me.ddleso.me

www.9lbs.com

www.TXT2PIC.com

www.FakeMagazineCover.com

www.Trollize.com

www.FanSignGenerator.com

www.Holy-Bibles.org

www.Is-A-Jerk.com

www.HolyBibleSearch.com
www.SillyWebcam.com
www.SillyScenes.com
www.Seekerific.com
www.Nerdful.com
www.BodySwitcher.com
www.13KG.com
www.SpareSomeChange.com
www.FloppyApps.com
www.MaxSpider.com
www.ChatPhobia.com
www.SirSeek.com
www.HappyFaceGenerator.com
www.DangerSignGenerator.com
HolyBiblesSearch:
Internet Search:

www.WHAK.com

www.MAKE-A-MEME.com
www.HolyBibleVerse.com

www.SignGenerator.org

www.MedChecker.com

www.SeekFreak.com

www.Syncrisis.com

www.Presearcher.com

www.SirSeek.com

www.FotoTrix.com

www.BoobSigns.com

www.Canuckster.com

me.ddleso.me

www.9lbs.com

www.TXT2PIC.com

www.FakeMagazineCover.com

www.Trollize.com

www.FanSignGenerator.com

www.Holy-Bibles.org

www.Is-A-Jerk.com

www.HolyBibleSearch.com
www.SillyWebcam.com
www.SillyScenes.com
www.Seekerific.com
www.Nerdful.com
www.BodySwitcher.com
www.13KG.com
www.SpareSomeChange.com
www.FloppyApps.com
www.MaxSpider.com
www.ChatPhobia.com
www.SirSeek.com
www.HappyFaceGenerator.com
www.DangerSignGenerator.com
HolyBiblesSearch:
Internet Search:

www.WHAK.com

www.MAKE-A-MEME.com
www.HolyBibleVerse.com

www.SignGenerator.org

www.MedChecker.com

www.SeekFreak.com

www.Syncrisis.com

www.Presearcher.com

www.SirSeek.com

www.FotoTrix.com

www.BoobSigns.com

www.Canuckster.com

me.ddleso.me

www.9lbs.com

www.TXT2PIC.com

www.FakeMagazineCover.com

www.Trollize.com

www.FanSignGenerator.com

www.Holy-Bibles.org

www.Is-A-Jerk.com

www.HolyBibleSearch.com
www.SillyWebcam.com
www.SillyScenes.com
www.Seekerific.com
www.Nerdful.com
www.BodySwitcher.com
www.13KG.com
www.SpareSomeChange.com
www.FloppyApps.com
www.MaxSpider.com
www.ChatPhobia.com
www.SirSeek.com
www.HappyFaceGenerator.com
www.DangerSignGenerator.com
HolyBiblesSearch:
Internet Search:

www.WHAK.com

www.MAKE-A-MEME.com
www.HolyBibleVerse.com

www.SignGenerator.org

www.MedChecker.com

www.SeekFreak.com

www.Syncrisis.com

www.Presearcher.com

www.SirSeek.com

www.FotoTrix.com

www.BoobSigns.com

www.Canuckster.com

me.ddleso.me

www.9lbs.com

www.TXT2PIC.com

www.FakeMagazineCover.com

www.Trollize.com

www.FanSignGenerator.com

www.Holy-Bibles.org

www.Is-A-Jerk.com

www.HolyBibleSearch.com
www.SillyWebcam.com
www.SillyScenes.com
www.Seekerific.com
www.Nerdful.com
www.BodySwitcher.com
www.13KG.com
www.SpareSomeChange.com
www.FloppyApps.com
www.MaxSpider.com
www.ChatPhobia.com
www.SirSeek.com
www.HappyFaceGenerator.com
www.DangerSignGenerator.com
HolyBiblesSearch:
Internet Search:

www.WHAK.com

www.MAKE-A-MEME.com
www.HolyBibleVerse.com

www.SignGenerator.org

www.MedChecker.com

www.SeekFreak.com

www.Syncrisis.com

www.Presearcher.com

www.SirSeek.com

www.FotoTrix.com

www.BoobSigns.com

www.Canuckster.com

me.ddleso.me

www.9lbs.com

www.TXT2PIC.com

www.FakeMagazineCover.com

www.Trollize.com

www.FanSignGenerator.com

www.Holy-Bibles.org

www.Is-A-Jerk.com

www.HolyBibleSearch.com
www.SillyWebcam.com
www.SillyScenes.com
www.Seekerific.com
www.Nerdful.com
www.BodySwitcher.com
www.13KG.com
www.SpareSomeChange.com
www.FloppyApps.com
www.MaxSpider.com
www.ChatPhobia.com
www.SirSeek.com
www.HappyFaceGenerator.com
www.DangerSignGenerator.com
HolyBiblesSearch:
Internet Search:

www.WHAK.com

www.MAKE-A-MEME.com
www.HolyBibleVerse.com

www.SignGenerator.org

www.MedChecker.com

www.SeekFreak.com

www.Syncrisis.com

www.Presearcher.com

www.SirSeek.com

www.FotoTrix.com

www.BoobSigns.com

www.Canuckster.com

me.ddleso.me

www.9lbs.com

www.TXT2PIC.com

www.FakeMagazineCover.com

www.Trollize.com

www.FanSignGenerator.com

www.Holy-Bibles.org

www.Is-A-Jerk.com

www.HolyBibleSearch.com
www.SillyWebcam.com
www.SillyScenes.com
www.Seekerific.com
www.Nerdful.com
www.BodySwitcher.com
www.13KG.com
www.SpareSomeChange.com
www.FloppyApps.com
www.MaxSpider.com
www.ChatPhobia.com
www.SirSeek.com
www.HappyFaceGenerator.com
www.DangerSignGenerator.com
HolyBiblesSearch:
Internet Search:

www.WHAK.com

www.MAKE-A-MEME.com
www.HolyBibleVerse.com

www.SignGenerator.org

www.MedChecker.com

www.SeekFreak.com

www.Syncrisis.com

www.Presearcher.com

www.SirSeek.com

www.FotoTrix.com

www.BoobSigns.com

www.Canuckster.com

me.ddleso.me

www.9lbs.com

www.TXT2PIC.com

www.FakeMagazineCover.com

www.Trollize.com

www.FanSignGenerator.com

www.Holy-Bibles.org

www.Is-A-Jerk.com

www.HolyBibleSearch.com
www.SillyWebcam.com
www.SillyScenes.com
www.Seekerific.com
www.Nerdful.com
www.BodySwitcher.com
www.13KG.com
www.SpareSomeChange.com
www.FloppyApps.com
www.MaxSpider.com
www.ChatPhobia.com
www.SirSeek.com
www.HappyFaceGenerator.com
www.DangerSignGenerator.com
HolyBiblesSearch:
Internet Search:

www.WHAK.com

www.MAKE-A-MEME.com
www.HolyBibleVerse.com

www.SignGenerator.org

www.MedChecker.com

www.SeekFreak.com

www.Syncrisis.com

www.Presearcher.com

www.SirSeek.com

www.FotoTrix.com

www.BoobSigns.com

www.Canuckster.com

me.ddleso.me

www.9lbs.com

www.TXT2PIC.com

www.FakeMagazineCover.com

www.Trollize.com

www.FanSignGenerator.com

www.Holy-Bibles.org

www.Is-A-Jerk.com

www.HolyBibleSearch.com
www.SillyWebcam.com
www.SillyScenes.com
www.Seekerific.com
www.Nerdful.com
www.BodySwitcher.com
www.13KG.com
www.SpareSomeChange.com
www.FloppyApps.com
www.MaxSpider.com
www.ChatPhobia.com
www.SirSeek.com
www.HappyFaceGenerator.com
www.DangerSignGenerator.com
HolyBiblesSearch:
Internet Search:

www.WHAK.com

www.MAKE-A-MEME.com
www.HolyBibleVerse.com

www.SignGenerator.org

www.MedChecker.com

www.SeekFreak.com

www.Syncrisis.com

www.Presearcher.com

www.SirSeek.com

www.FotoTrix.com

www.BoobSigns.com

www.Canuckster.com

me.ddleso.me

www.9lbs.com

www.TXT2PIC.com

www.FakeMagazineCover.com

www.Trollize.com

www.FanSignGenerator.com

www.Holy-Bibles.org

www.Is-A-Jerk.com

www.HolyBibleSearch.com
www.SillyWebcam.com
www.SillyScenes.com
www.Seekerific.com
www.Nerdful.com
www.BodySwitcher.com
www.13KG.com
www.SpareSomeChange.com
www.FloppyApps.com
www.MaxSpider.com
www.ChatPhobia.com
www.SirSeek.com
www.HappyFaceGenerator.com
www.DangerSignGenerator.com
HolyBiblesSearch:
Internet Search:

www.WHAK.com

www.MAKE-A-MEME.com
www.HolyBibleVerse.com

www.SignGenerator.org

www.MedChecker.com

www.SeekFreak.com

www.Syncrisis.com

www.Presearcher.com

www.SirSeek.com

www.FotoTrix.com

www.BoobSigns.com

www.Canuckster.com

me.ddleso.me

www.9lbs.com

www.TXT2PIC.com

www.FakeMagazineCover.com

www.Trollize.com

www.FanSignGenerator.com

www.Holy-Bibles.org

www.Is-A-Jerk.com

www.HolyBibleSearch.com
www.SillyWebcam.com
www.SillyScenes.com
www.Seekerific.com
www.Nerdful.com
www.BodySwitcher.com
www.13KG.com
www.SpareSomeChange.com
www.FloppyApps.com
www.MaxSpider.com
www.ChatPhobia.com
www.SirSeek.com
www.HappyFaceGenerator.com
www.DangerSignGenerator.com
HolyBiblesSearch:
Internet Search:

www.WHAK.com

www.MAKE-A-MEME.com
www.HolyBibleVerse.com

www.SignGenerator.org

www.MedChecker.com

www.SeekFreak.com

www.Syncrisis.com

www.Presearcher.com

www.SirSeek.com

www.FotoTrix.com

www.BoobSigns.com

www.Canuckster.com

me.ddleso.me

www.9lbs.com

www.TXT2PIC.com

www.FakeMagazineCover.com

www.Trollize.com

www.FanSignGenerator.com

www.Holy-Bibles.org

www.Is-A-Jerk.com

www.HolyBibleSearch.com
www.SillyWebcam.com
www.SillyScenes.com
www.Seekerific.com
www.Nerdful.com
www.BodySwitcher.com
www.13KG.com
www.SpareSomeChange.com
www.FloppyApps.com
www.MaxSpider.com
www.ChatPhobia.com
www.SirSeek.com
www.HappyFaceGenerator.com
www.DangerSignGenerator.com
HolyBiblesSearch:
Internet Search:

www.WHAK.com

www.MAKE-A-MEME.com
www.HolyBibleVerse.com

www.SignGenerator.org

www.MedChecker.com

www.SeekFreak.com

www.Syncrisis.com

www.Presearcher.com

www.SirSeek.com

www.FotoTrix.com

www.BoobSigns.com

www.Canuckster.com

me.ddleso.me

www.9lbs.com

www.TXT2PIC.com

www.FakeMagazineCover.com

www.Trollize.com

www.FanSignGenerator.com

www.Holy-Bibles.org

www.Is-A-Jerk.com

www.HolyBibleSearch.com
www.SillyWebcam.com
www.SillyScenes.com
www.Seekerific.com
www.Nerdful.com
www.BodySwitcher.com
www.13KG.com
www.SpareSomeChange.com
www.FloppyApps.com
www.MaxSpider.com
www.ChatPhobia.com
www.SirSeek.com
www.HappyFaceGenerator.com
www.DangerSignGenerator.com
HolyBiblesSearch:
Internet Search:

www.WHAK.com

www.MAKE-A-MEME.com
www.HolyBibleVerse.com

www.SignGenerator.org

www.MedChecker.com

www.SeekFreak.com

www.Syncrisis.com

www.Presearcher.com

www.SirSeek.com

www.FotoTrix.com

www.BoobSigns.com

www.Canuckster.com

me.ddleso.me

www.9lbs.com

www.TXT2PIC.com

www.FakeMagazineCover.com

www.Trollize.com

www.FanSignGenerator.com

www.Holy-Bibles.org

www.Is-A-Jerk.com

www.HolyBibleSearch.com
www.SillyWebcam.com
www.SillyScenes.com
www.Seekerific.com
www.Nerdful.com
www.BodySwitcher.com
www.13KG.com
www.SpareSomeChange.com
www.FloppyApps.com
www.MaxSpider.com
www.ChatPhobia.com
www.SirSeek.com
www.HappyFaceGenerator.com
www.DangerSignGenerator.com
HolyBiblesSearch:
Internet Search:

www.WHAK.com

www.MAKE-A-MEME.com
www.HolyBibleVerse.com

www.SignGenerator.org

www.MedChecker.com

www.SeekFreak.com

www.Syncrisis.com

www.Presearcher.com

www.SirSeek.com

www.FotoTrix.com

www.BoobSigns.com

www.Canuckster.com

me.ddleso.me

www.9lbs.com

www.TXT2PIC.com

www.FakeMagazineCover.com

www.Trollize.com

www.FanSignGenerator.com

www.Holy-Bibles.org

www.Is-A-Jerk.com

www.HolyBibleSearch.com
www.SillyWebcam.com
www.SillyScenes.com
www.Seekerific.com
www.Nerdful.com
www.BodySwitcher.com
www.13KG.com
www.SpareSomeChange.com
www.FloppyApps.com
www.MaxSpider.com
www.ChatPhobia.com
www.SirSeek.com
www.HappyFaceGenerator.com
www.DangerSignGenerator.com
HolyBiblesSearch:
Internet Search:

www.WHAK.com

www.MAKE-A-MEME.com
www.HolyBibleVerse.com

www.SignGenerator.org

www.MedChecker.com

www.SeekFreak.com

www.Syncrisis.com

www.Presearcher.com

www.SirSeek.com

www.FotoTrix.com

www.BoobSigns.com

www.Canuckster.com

me.ddleso.me

www.9lbs.com

www.TXT2PIC.com

www.FakeMagazineCover.com

www.Trollize.com

www.FanSignGenerator.com

www.Holy-Bibles.org

www.Is-A-Jerk.com

www.HolyBibleSearch.com
www.SillyWebcam.com
www.SillyScenes.com
www.Seekerific.com
www.Nerdful.com
www.BodySwitcher.com
www.13KG.com
www.SpareSomeChange.com
www.FloppyApps.com
www.MaxSpider.com
www.ChatPhobia.com
www.SirSeek.com
www.HappyFaceGenerator.com
www.DangerSignGenerator.com
HolyBiblesSearch:
Internet Search:

www.WHAK.com

www.MAKE-A-MEME.com
www.HolyBibleVerse.com

www.SignGenerator.org

www.MedChecker.com

www.SeekFreak.com

www.Syncrisis.com

www.Presearcher.com

www.SirSeek.com

www.FotoTrix.com

www.BoobSigns.com

www.Canuckster.com

me.ddleso.me

www.9lbs.com

www.TXT2PIC.com

www.FakeMagazineCover.com

www.Trollize.com

www.FanSignGenerator.com

www.Holy-Bibles.org

www.Is-A-Jerk.com

www.HolyBibleSearch.com
www.SillyWebcam.com
www.SillyScenes.com
www.Seekerific.com
www.Nerdful.com
www.BodySwitcher.com
www.13KG.com
www.SpareSomeChange.com
www.FloppyApps.com
www.MaxSpider.com
www.ChatPhobia.com
www.SirSeek.com
www.HappyFaceGenerator.com
www.DangerSignGenerator.com
HolyBiblesSearch:
Internet Search:

www.WHAK.com

www.MAKE-A-MEME.com
www.HolyBibleVerse.com

www.SignGenerator.org

www.MedChecker.com

www.SeekFreak.com

www.Syncrisis.com

www.Presearcher.com

www.SirSeek.com

www.FotoTrix.com

www.BoobSigns.com

www.Canuckster.com

me.ddleso.me

www.9lbs.com

www.TXT2PIC.com

www.FakeMagazineCover.com

www.Trollize.com

www.FanSignGenerator.com

www.Holy-Bibles.org

www.Is-A-Jerk.com

www.HolyBibleSearch.com
www.SillyWebcam.com
www.SillyScenes.com
www.Seekerific.com
www.Nerdful.com
www.BodySwitcher.com
www.13KG.com
www.SpareSomeChange.com
www.FloppyApps.com
www.MaxSpider.com
www.ChatPhobia.com
www.SirSeek.com
www.HappyFaceGenerator.com
www.DangerSignGenerator.com
HolyBiblesSearch:
Internet Search:

www.WHAK.com

www.MAKE-A-MEME.com
www.HolyBibleVerse.com

www.SignGenerator.org

www.MedChecker.com

www.SeekFreak.com

www.Syncrisis.com

www.Presearcher.com

www.SirSeek.com

www.FotoTrix.com

www.BoobSigns.com

www.Canuckster.com

me.ddleso.me

www.9lbs.com

www.TXT2PIC.com

www.FakeMagazineCover.com

www.Trollize.com

www.FanSignGenerator.com

www.Holy-Bibles.org

www.Is-A-Jerk.com

www.HolyBibleSearch.com
www.SillyWebcam.com
www.SillyScenes.com
www.Seekerific.com
www.Nerdful.com
www.BodySwitcher.com
www.13KG.com
www.SpareSomeChange.com
www.FloppyApps.com
www.MaxSpider.com
www.ChatPhobia.com
www.SirSeek.com
www.HappyFaceGenerator.com
www.DangerSignGenerator.com
HolyBiblesSearch:
Internet Search:

www.WHAK.com

www.MAKE-A-MEME.com
www.HolyBibleVerse.com

www.SignGenerator.org

www.MedChecker.com

www.SeekFreak.com

www.Syncrisis.com

www.Presearcher.com

www.SirSeek.com

www.FotoTrix.com

www.BoobSigns.com

www.Canuckster.com

me.ddleso.me

www.9lbs.com

www.TXT2PIC.com

www.FakeMagazineCover.com

www.Trollize.com

www.FanSignGenerator.com

www.Holy-Bibles.org

www.Is-A-Jerk.com

www.HolyBibleSearch.com
www.SillyWebcam.com
www.SillyScenes.com
www.Seekerific.com
www.Nerdful.com
www.BodySwitcher.com
www.13KG.com
www.SpareSomeChange.com
www.FloppyApps.com
www.MaxSpider.com
www.ChatPhobia.com
www.SirSeek.com
www.HappyFaceGenerator.com
www.DangerSignGenerator.com
HolyBiblesSearch:
Internet Search:

www.WHAK.com

www.MAKE-A-MEME.com
www.HolyBibleVerse.com

www.SignGenerator.org

www.MedChecker.com

www.SeekFreak.com

www.Syncrisis.com

www.Presearcher.com

www.SirSeek.com

www.FotoTrix.com

www.BoobSigns.com

www.Canuckster.com

me.ddleso.me

www.9lbs.com

www.TXT2PIC.com

www.FakeMagazineCover.com

www.Trollize.com

www.FanSignGenerator.com

www.Holy-Bibles.org

www.Is-A-Jerk.com

www.HolyBibleSearch.com
www.SillyWebcam.com
www.SillyScenes.com
www.Seekerific.com
www.Nerdful.com
www.BodySwitcher.com
www.13KG.com
www.SpareSomeChange.com
www.FloppyApps.com
www.MaxSpider.com
www.ChatPhobia.com
www.SirSeek.com
www.HappyFaceGenerator.com
www.DangerSignGenerator.com
HolyBiblesSearch:
Internet Search:

www.WHAK.com

www.MAKE-A-MEME.com
www.HolyBibleVerse.com

www.SignGenerator.org

www.MedChecker.com

www.SeekFreak.com

www.Syncrisis.com

www.Presearcher.com

www.SirSeek.com

www.FotoTrix.com

www.BoobSigns.com

www.Canuckster.com

me.ddleso.me

www.9lbs.com

www.TXT2PIC.com

www.FakeMagazineCover.com

www.Trollize.com

www.FanSignGenerator.com

www.Holy-Bibles.org

www.Is-A-Jerk.com

www.HolyBibleSearch.com
www.SillyWebcam.com
www.SillyScenes.com
www.Seekerific.com
www.Nerdful.com
www.BodySwitcher.com
www.13KG.com
www.SpareSomeChange.com
www.FloppyApps.com
www.MaxSpider.com
www.ChatPhobia.com
www.SirSeek.com
www.HappyFaceGenerator.com
www.DangerSignGenerator.com
HolyBiblesSearch:
Internet Search:

www.WHAK.com

www.MAKE-A-MEME.com
www.HolyBibleVerse.com

www.SignGenerator.org

www.MedChecker.com

www.SeekFreak.com

www.Syncrisis.com

www.Presearcher.com

www.SirSeek.com

www.FotoTrix.com

www.BoobSigns.com

www.Canuckster.com

me.ddleso.me

www.9lbs.com

www.TXT2PIC.com

www.FakeMagazineCover.com

www.Trollize.com

www.FanSignGenerator.com

www.Holy-Bibles.org

www.Is-A-Jerk.com

www.HolyBibleSearch.com
www.SillyWebcam.com
www.SillyScenes.com
www.Seekerific.com
www.Nerdful.com
www.BodySwitcher.com
www.13KG.com
www.SpareSomeChange.com
www.FloppyApps.com
www.MaxSpider.com
www.ChatPhobia.com
www.SirSeek.com
www.HappyFaceGenerator.com
www.DangerSignGenerator.com
HolyBiblesSearch:
Internet Search:

www.WHAK.com

www.MAKE-A-MEME.com
www.HolyBibleVerse.com

www.SignGenerator.org

www.MedChecker.com

www.SeekFreak.com

www.Syncrisis.com

www.Presearcher.com

www.SirSeek.com

www.FotoTrix.com

www.BoobSigns.com

www.Canuckster.com

me.ddleso.me

www.9lbs.com

www.TXT2PIC.com

www.FakeMagazineCover.com

www.Trollize.com

www.FanSignGenerator.com

www.Holy-Bibles.org

www.Is-A-Jerk.com

www.HolyBibleSearch.com
www.SillyWebcam.com
www.SillyScenes.com
www.Seekerific.com
www.Nerdful.com
www.BodySwitcher.com
www.13KG.com
www.SpareSomeChange.com
www.FloppyApps.com
www.MaxSpider.com
www.ChatPhobia.com
www.SirSeek.com
www.HappyFaceGenerator.com
www.DangerSignGenerator.com
HolyBiblesSearch:
Internet Search:

www.WHAK.com

www.MAKE-A-MEME.com
www.HolyBibleVerse.com

www.SignGenerator.org

www.MedChecker.com

www.SeekFreak.com

www.Syncrisis.com

www.Presearcher.com

www.SirSeek.com

www.FotoTrix.com

www.BoobSigns.com

www.Canuckster.com

me.ddleso.me

www.9lbs.com

www.TXT2PIC.com

www.FakeMagazineCover.com

www.Trollize.com

www.FanSignGenerator.com

www.Holy-Bibles.org

www.Is-A-Jerk.com

www.HolyBibleSearch.com
www.SillyWebcam.com
www.SillyScenes.com
www.Seekerific.com
www.Nerdful.com
www.BodySwitcher.com
www.13KG.com
www.SpareSomeChange.com
www.FloppyApps.com
www.MaxSpider.com
www.ChatPhobia.com
www.SirSeek.com
www.HappyFaceGenerator.com
www.DangerSignGenerator.com
HolyBiblesSearch:
Internet Search:

www.WHAK.com

www.MAKE-A-MEME.com
www.HolyBibleVerse.com

www.SignGenerator.org

www.MedChecker.com

www.SeekFreak.com

www.Syncrisis.com

www.Presearcher.com

www.SirSeek.com

www.FotoTrix.com

www.BoobSigns.com

www.Canuckster.com

me.ddleso.me

www.9lbs.com

www.TXT2PIC.com

www.FakeMagazineCover.com

www.Trollize.com

www.FanSignGenerator.com

www.Holy-Bibles.org

www.Is-A-Jerk.com

www.HolyBibleSearch.com
www.SillyWebcam.com
www.SillyScenes.com
www.Seekerific.com
www.Nerdful.com
www.BodySwitcher.com
www.13KG.com
www.SpareSomeChange.com
www.FloppyApps.com
www.MaxSpider.com
www.ChatPhobia.com
www.SirSeek.com
www.HappyFaceGenerator.com
www.DangerSignGenerator.com
HolyBiblesSearch:
Internet Search:

www.WHAK.com

www.MAKE-A-MEME.com
www.HolyBibleVerse.com

www.SignGenerator.org

www.MedChecker.com

www.SeekFreak.com

www.Syncrisis.com

www.Presearcher.com

www.SirSeek.com

www.FotoTrix.com

www.BoobSigns.com

www.Canuckster.com

me.ddleso.me

www.9lbs.com

www.TXT2PIC.com

www.FakeMagazineCover.com

www.Trollize.com

www.FanSignGenerator.com

www.Holy-Bibles.org

www.Is-A-Jerk.com

www.HolyBibleSearch.com
www.SillyWebcam.com
www.SillyScenes.com
www.Seekerific.com
www.Nerdful.com
www.BodySwitcher.com
www.13KG.com
www.SpareSomeChange.com
www.FloppyApps.com
www.MaxSpider.com
www.ChatPhobia.com
www.SirSeek.com
www.HappyFaceGenerator.com
www.DangerSignGenerator.com
HolyBiblesSearch:
Internet Search:

www.WHAK.com

www.MAKE-A-MEME.com
www.HolyBibleVerse.com

www.SignGenerator.org

www.MedChecker.com

www.SeekFreak.com

www.Syncrisis.com

www.Presearcher.com

www.SirSeek.com

www.FotoTrix.com

www.BoobSigns.com

www.Canuckster.com

me.ddleso.me

www.9lbs.com

www.TXT2PIC.com

www.FakeMagazineCover.com

www.Trollize.com

www.FanSignGenerator.com

www.Holy-Bibles.org

www.Is-A-Jerk.com

www.HolyBibleSearch.com
www.SillyWebcam.com
www.SillyScenes.com
www.Seekerific.com
www.Nerdful.com
www.BodySwitcher.com
www.13KG.com
www.SpareSomeChange.com
www.FloppyApps.com
www.MaxSpider.com
www.ChatPhobia.com
www.SirSeek.com
www.HappyFaceGenerator.com
www.DangerSignGenerator.com
HolyBiblesSearch:
Internet Search:

www.WHAK.com

www.MAKE-A-MEME.com
www.HolyBibleVerse.com

www.SignGenerator.org

www.MedChecker.com

www.SeekFreak.com

www.Syncrisis.com

www.Presearcher.com

www.SirSeek.com

www.FotoTrix.com

www.BoobSigns.com

www.Canuckster.com

me.ddleso.me

www.9lbs.com

www.TXT2PIC.com

www.FakeMagazineCover.com

www.Trollize.com

www.FanSignGenerator.com

www.Holy-Bibles.org

www.Is-A-Jerk.com

www.HolyBibleSearch.com
www.SillyWebcam.com
www.SillyScenes.com
www.Seekerific.com
www.Nerdful.com
www.BodySwitcher.com
www.13KG.com
www.SpareSomeChange.com
www.FloppyApps.com
www.MaxSpider.com
www.ChatPhobia.com
www.SirSeek.com
www.HappyFaceGenerator.com
www.DangerSignGenerator.com
HolyBiblesSearch:
Internet Search:

www.WHAK.com

www.MAKE-A-MEME.com
www.HolyBibleVerse.com

www.SignGenerator.org

www.MedChecker.com

www.SeekFreak.com

www.Syncrisis.com

www.Presearcher.com

www.SirSeek.com

www.FotoTrix.com

www.BoobSigns.com

www.Canuckster.com

me.ddleso.me

www.9lbs.com

www.TXT2PIC.com

www.FakeMagazineCover.com

www.Trollize.com

www.FanSignGenerator.com

www.Holy-Bibles.org

www.Is-A-Jerk.com

www.HolyBibleSearch.com
www.SillyWebcam.com
www.SillyScenes.com
www.Seekerific.com
www.Nerdful.com
www.BodySwitcher.com
www.13KG.com
www.SpareSomeChange.com
www.FloppyApps.com
www.MaxSpider.com
www.ChatPhobia.com
www.SirSeek.com
www.HappyFaceGenerator.com
www.DangerSignGenerator.com
HolyBiblesSearch:
Internet Search:

www.WHAK.com

www.MAKE-A-MEME.com
www.HolyBibleVerse.com

www.SignGenerator.org

www.MedChecker.com

www.SeekFreak.com

www.Syncrisis.com

www.Presearcher.com

www.SirSeek.com

www.FotoTrix.com

www.BoobSigns.com

www.Canuckster.com

me.ddleso.me

www.9lbs.com

www.TXT2PIC.com

www.FakeMagazineCover.com

www.Trollize.com

www.FanSignGenerator.com

www.Holy-Bibles.org

www.Is-A-Jerk.com

www.HolyBibleSearch.com
www.SillyWebcam.com
www.SillyScenes.com
www.Seekerific.com
www.Nerdful.com
www.BodySwitcher.com
www.13KG.com
www.SpareSomeChange.com
www.FloppyApps.com
www.MaxSpider.com
www.ChatPhobia.com
www.SirSeek.com
www.HappyFaceGenerator.com
www.DangerSignGenerator.com
HolyBiblesSearch:
Internet Search:

www.WHAK.com

www.MAKE-A-MEME.com
www.HolyBibleVerse.com

www.SignGenerator.org

www.MedChecker.com

www.SeekFreak.com

www.Syncrisis.com

www.Presearcher.com

www.SirSeek.com

www.FotoTrix.com

www.BoobSigns.com

www.Canuckster.com

me.ddleso.me

www.9lbs.com

www.TXT2PIC.com

www.FakeMagazineCover.com

www.Trollize.com

www.FanSignGenerator.com

www.Holy-Bibles.org

www.Is-A-Jerk.com

www.HolyBibleSearch.com
www.SillyWebcam.com
www.SillyScenes.com
www.Seekerific.com
www.Nerdful.com
www.BodySwitcher.com
www.13KG.com
www.SpareSomeChange.com
www.FloppyApps.com
www.MaxSpider.com
www.ChatPhobia.com
www.SirSeek.com
www.HappyFaceGenerator.com
www.DangerSignGenerator.com
HolyBiblesSearch:
Internet Search:

www.WHAK.com

www.MAKE-A-MEME.com
www.HolyBibleVerse.com

www.SignGenerator.org

www.MedChecker.com

www.SeekFreak.com

www.Syncrisis.com

www.Presearcher.com

www.SirSeek.com

www.FotoTrix.com

www.BoobSigns.com

www.Canuckster.com

me.ddleso.me

www.9lbs.com

www.TXT2PIC.com

www.FakeMagazineCover.com

www.Trollize.com

www.FanSignGenerator.com

www.Holy-Bibles.org

www.Is-A-Jerk.com

www.HolyBibleSearch.com
www.SillyWebcam.com
www.SillyScenes.com
www.Seekerific.com
www.Nerdful.com
www.BodySwitcher.com
www.13KG.com
www.SpareSomeChange.com
www.FloppyApps.com
www.MaxSpider.com
www.ChatPhobia.com
www.SirSeek.com
www.HappyFaceGenerator.com
www.DangerSignGenerator.com
HolyBiblesSearch:
Internet Search:

www.WHAK.com

www.MAKE-A-MEME.com
www.HolyBibleVerse.com

www.SignGenerator.org

www.MedChecker.com

www.SeekFreak.com

www.Syncrisis.com

www.Presearcher.com

www.SirSeek.com

www.FotoTrix.com

www.BoobSigns.com

www.Canuckster.com

me.ddleso.me

www.9lbs.com

www.TXT2PIC.com

www.FakeMagazineCover.com

www.Trollize.com

www.FanSignGenerator.com

www.Holy-Bibles.org

www.Is-A-Jerk.com

www.HolyBibleSearch.com
www.SillyWebcam.com
www.SillyScenes.com
www.Seekerific.com
www.Nerdful.com
www.BodySwitcher.com
www.13KG.com
www.SpareSomeChange.com
www.FloppyApps.com
www.MaxSpider.com
www.ChatPhobia.com
www.SirSeek.com
www.HappyFaceGenerator.com
www.DangerSignGenerator.com
HolyBiblesSearch:
Internet Search:

www.WHAK.com

www.MAKE-A-MEME.com
www.HolyBibleVerse.com

www.SignGenerator.org

www.MedChecker.com

www.SeekFreak.com

www.Syncrisis.com

www.Presearcher.com

www.SirSeek.com

www.FotoTrix.com

www.BoobSigns.com

www.Canuckster.com

me.ddleso.me

www.9lbs.com

www.TXT2PIC.com

www.FakeMagazineCover.com

www.Trollize.com

www.FanSignGenerator.com

www.Holy-Bibles.org

www.Is-A-Jerk.com

www.HolyBibleSearch.com
www.SillyWebcam.com
www.SillyScenes.com
www.Seekerific.com
www.Nerdful.com
www.BodySwitcher.com
www.13KG.com
www.SpareSomeChange.com
www.FloppyApps.com
www.MaxSpider.com
www.ChatPhobia.com
www.SirSeek.com
www.HappyFaceGenerator.com
www.DangerSignGenerator.com
HolyBiblesSearch:
Internet Search:

www.WHAK.com

www.MAKE-A-MEME.com
www.HolyBibleVerse.com

www.SignGenerator.org

www.MedChecker.com

www.SeekFreak.com

www.Syncrisis.com

www.Presearcher.com

www.SirSeek.com

www.FotoTrix.com

www.BoobSigns.com

www.Canuckster.com

me.ddleso.me

www.9lbs.com

www.TXT2PIC.com

www.FakeMagazineCover.com

www.Trollize.com

www.FanSignGenerator.com

www.Holy-Bibles.org

www.Is-A-Jerk.com

www.HolyBibleSearch.com
www.SillyWebcam.com
www.SillyScenes.com
www.Seekerific.com
www.Nerdful.com
www.BodySwitcher.com
www.13KG.com
www.SpareSomeChange.com
www.FloppyApps.com
www.MaxSpider.com
www.ChatPhobia.com
www.SirSeek.com
www.HappyFaceGenerator.com
www.DangerSignGenerator.com
HolyBiblesSearch:
Internet Search:

www.WHAK.com

www.MAKE-A-MEME.com
www.HolyBibleVerse.com

www.SignGenerator.org

www.MedChecker.com

www.SeekFreak.com

www.Syncrisis.com

www.Presearcher.com

www.SirSeek.com

www.FotoTrix.com

www.BoobSigns.com

www.Canuckster.com

me.ddleso.me

www.9lbs.com

www.TXT2PIC.com

www.FakeMagazineCover.com

www.Trollize.com

www.FanSignGenerator.com

www.Holy-Bibles.org

www.Is-A-Jerk.com

www.HolyBibleSearch.com
www.SillyWebcam.com
www.SillyScenes.com
www.Seekerific.com
www.Nerdful.com
www.BodySwitcher.com
www.13KG.com
www.SpareSomeChange.com
www.FloppyApps.com
www.MaxSpider.com
www.ChatPhobia.com
www.SirSeek.com
www.HappyFaceGenerator.com
www.DangerSignGenerator.com
HolyBiblesSearch:
Internet Search:

www.WHAK.com

www.MAKE-A-MEME.com
www.HolyBibleVerse.com

www.SignGenerator.org

www.MedChecker.com

www.SeekFreak.com

www.Syncrisis.com

www.Presearcher.com

www.SirSeek.com

www.FotoTrix.com

www.BoobSigns.com

www.Canuckster.com

me.ddleso.me

www.9lbs.com

www.TXT2PIC.com

www.FakeMagazineCover.com

www.Trollize.com

www.FanSignGenerator.com

www.Holy-Bibles.org

www.Is-A-Jerk.com

www.HolyBibleSearch.com
www.SillyWebcam.com
www.SillyScenes.com
www.Seekerific.com
www.Nerdful.com
www.BodySwitcher.com
www.13KG.com
www.SpareSomeChange.com
www.FloppyApps.com
www.MaxSpider.com
www.ChatPhobia.com
www.SirSeek.com
www.HappyFaceGenerator.com
www.DangerSignGenerator.com
HolyBiblesSearch:
Internet Search:

www.WHAK.com

www.MAKE-A-MEME.com
www.HolyBibleVerse.com

www.SignGenerator.org

www.MedChecker.com

www.SeekFreak.com

www.Syncrisis.com

www.Presearcher.com

www.SirSeek.com

www.FotoTrix.com

www.BoobSigns.com

www.Canuckster.com

me.ddleso.me

www.9lbs.com

www.TXT2PIC.com

www.FakeMagazineCover.com

www.Trollize.com

www.FanSignGenerator.com

www.Holy-Bibles.org

www.Is-A-Jerk.com

www.HolyBibleSearch.com
www.SillyWebcam.com
www.SillyScenes.com
www.Seekerific.com
www.Nerdful.com
www.BodySwitcher.com
www.13KG.com
www.SpareSomeChange.com
www.FloppyApps.com
www.MaxSpider.com
www.ChatPhobia.com
www.SirSeek.com
www.HappyFaceGenerator.com
www.DangerSignGenerator.com
HolyBiblesSearch:
Internet Search:

www.WHAK.com

www.MAKE-A-MEME.com
www.HolyBibleVerse.com

www.SignGenerator.org

www.MedChecker.com

www.SeekFreak.com

www.Syncrisis.com

www.Presearcher.com

www.SirSeek.com

www.FotoTrix.com

www.BoobSigns.com

www.Canuckster.com

me.ddleso.me

www.9lbs.com

www.TXT2PIC.com

www.FakeMagazineCover.com

www.Trollize.com

www.FanSignGenerator.com

www.Holy-Bibles.org

www.Is-A-Jerk.com

www.HolyBibleSearch.com
www.SillyWebcam.com
www.SillyScenes.com
www.Seekerific.com
www.Nerdful.com
www.BodySwitcher.com
www.13KG.com
www.SpareSomeChange.com
www.FloppyApps.com
www.MaxSpider.com
www.ChatPhobia.com
www.SirSeek.com
www.HappyFaceGenerator.com
www.DangerSignGenerator.com
HolyBiblesSearch:
Internet Search:

www.WHAK.com

www.MAKE-A-MEME.com
www.HolyBibleVerse.com

www.SignGenerator.org

www.MedChecker.com

www.SeekFreak.com

www.Syncrisis.com

www.Presearcher.com

www.SirSeek.com

www.FotoTrix.com

www.BoobSigns.com

www.Canuckster.com

me.ddleso.me

www.9lbs.com

www.TXT2PIC.com

www.FakeMagazineCover.com

www.Trollize.com

www.FanSignGenerator.com

www.Holy-Bibles.org

www.Is-A-Jerk.com

www.HolyBibleSearch.com
www.SillyWebcam.com
www.SillyScenes.com
www.Seekerific.com
www.Nerdful.com
www.BodySwitcher.com
www.13KG.com
www.SpareSomeChange.com
www.FloppyApps.com
www.MaxSpider.com
www.ChatPhobia.com
www.SirSeek.com
www.HappyFaceGenerator.com
www.DangerSignGenerator.com
HolyBiblesSearch:
Internet Search:

www.WHAK.com

www.MAKE-A-MEME.com
www.HolyBibleVerse.com

www.SignGenerator.org

www.MedChecker.com

www.SeekFreak.com

www.Syncrisis.com

www.Presearcher.com

www.SirSeek.com

www.FotoTrix.com

www.BoobSigns.com

www.Canuckster.com

me.ddleso.me

www.9lbs.com

www.TXT2PIC.com

www.FakeMagazineCover.com

www.Trollize.com

www.FanSignGenerator.com

www.Holy-Bibles.org

www.Is-A-Jerk.com

www.HolyBibleSearch.com
www.SillyWebcam.com
www.SillyScenes.com
www.Seekerific.com
www.Nerdful.com
www.BodySwitcher.com
www.13KG.com
www.SpareSomeChange.com
www.FloppyApps.com
www.MaxSpider.com
www.ChatPhobia.com
www.SirSeek.com
www.HappyFaceGenerator.com
www.DangerSignGenerator.com
HolyBiblesSearch:
Internet Search:

www.WHAK.com

www.MAKE-A-MEME.com
www.HolyBibleVerse.com

www.SignGenerator.org

www.MedChecker.com

www.SeekFreak.com

www.Syncrisis.com

www.Presearcher.com

www.SirSeek.com

www.FotoTrix.com

www.BoobSigns.com

www.Canuckster.com

me.ddleso.me

www.9lbs.com

www.TXT2PIC.com

www.FakeMagazineCover.com

www.Trollize.com

www.FanSignGenerator.com

www.Holy-Bibles.org

www.Is-A-Jerk.com

www.HolyBibleSearch.com
www.SillyWebcam.com
www.SillyScenes.com
www.Seekerific.com
www.Nerdful.com
www.BodySwitcher.com
www.13KG.com
www.SpareSomeChange.com
www.FloppyApps.com
www.MaxSpider.com
www.ChatPhobia.com
www.SirSeek.com
www.HappyFaceGenerator.com
www.DangerSignGenerator.com
HolyBiblesSearch:
Internet Search:

www.WHAK.com

www.MAKE-A-MEME.com
www.HolyBibleVerse.com

www.SignGenerator.org

www.MedChecker.com

www.SeekFreak.com

www.Syncrisis.com

www.Presearcher.com

www.SirSeek.com

www.FotoTrix.com

www.BoobSigns.com

www.Canuckster.com

me.ddleso.me

www.9lbs.com

www.TXT2PIC.com

www.FakeMagazineCover.com

www.Trollize.com

www.FanSignGenerator.com

www.Holy-Bibles.org

www.Is-A-Jerk.com

www.HolyBibleSearch.com
www.SillyWebcam.com
www.SillyScenes.com
www.Seekerific.com
www.Nerdful.com
www.BodySwitcher.com
www.13KG.com
www.SpareSomeChange.com
www.FloppyApps.com
www.MaxSpider.com
www.ChatPhobia.com
www.SirSeek.com
www.HappyFaceGenerator.com
www.DangerSignGenerator.com
HolyBiblesSearch:
Internet Search:

www.WHAK.com

www.MAKE-A-MEME.com
www.HolyBibleVerse.com

www.SignGenerator.org

www.MedChecker.com

www.SeekFreak.com

www.Syncrisis.com

www.Presearcher.com

www.SirSeek.com

www.FotoTrix.com

www.BoobSigns.com

www.Canuckster.com

me.ddleso.me

www.9lbs.com

www.TXT2PIC.com

www.FakeMagazineCover.com

www.Trollize.com

www.FanSignGenerator.com

www.Holy-Bibles.org

www.Is-A-Jerk.com

www.HolyBibleSearch.com
www.SillyWebcam.com
www.SillyScenes.com
www.Seekerific.com
www.Nerdful.com
www.BodySwitcher.com
www.13KG.com
www.SpareSomeChange.com
www.FloppyApps.com
www.MaxSpider.com
www.ChatPhobia.com
www.SirSeek.com
www.HappyFaceGenerator.com
www.DangerSignGenerator.com
HolyBiblesSearch:
Internet Search:

www.WHAK.com

www.MAKE-A-MEME.com
www.HolyBibleVerse.com

www.SignGenerator.org

www.MedChecker.com

www.SeekFreak.com

www.Syncrisis.com

www.Presearcher.com

www.SirSeek.com

www.FotoTrix.com

www.BoobSigns.com

www.Canuckster.com

me.ddleso.me

www.9lbs.com

www.TXT2PIC.com

www.FakeMagazineCover.com

www.Trollize.com

www.FanSignGenerator.com

www.Holy-Bibles.org

www.Is-A-Jerk.com

www.HolyBibleSearch.com
www.SillyWebcam.com
www.SillyScenes.com
www.Seekerific.com
www.Nerdful.com
www.BodySwitcher.com
www.13KG.com
www.SpareSomeChange.com
www.FloppyApps.com
www.MaxSpider.com
www.ChatPhobia.com
www.SirSeek.com
www.HappyFaceGenerator.com
www.DangerSignGenerator.com
HolyBiblesSearch:
Internet Search:

www.WHAK.com

www.MAKE-A-MEME.com
www.HolyBibleVerse.com

www.SignGenerator.org

www.MedChecker.com

www.SeekFreak.com

www.Syncrisis.com

www.Presearcher.com

www.SirSeek.com

www.FotoTrix.com

www.BoobSigns.com

www.Canuckster.com

me.ddleso.me

www.9lbs.com

www.TXT2PIC.com

www.FakeMagazineCover.com

www.Trollize.com

www.FanSignGenerator.com

www.Holy-Bibles.org

www.Is-A-Jerk.com

www.HolyBibleSearch.com
www.SillyWebcam.com
www.SillyScenes.com
www.Seekerific.com
www.Nerdful.com
www.BodySwitcher.com
www.13KG.com
www.SpareSomeChange.com
www.FloppyApps.com
www.MaxSpider.com
www.ChatPhobia.com
www.SirSeek.com
www.HappyFaceGenerator.com
www.DangerSignGenerator.com
HolyBiblesSearch:
Internet Search:

www.WHAK.com

www.MAKE-A-MEME.com
www.HolyBibleVerse.com

www.SignGenerator.org

www.MedChecker.com

www.SeekFreak.com

www.Syncrisis.com

www.Presearcher.com

www.SirSeek.com

www.FotoTrix.com

www.BoobSigns.com

www.Canuckster.com

me.ddleso.me

www.9lbs.com

www.TXT2PIC.com

www.FakeMagazineCover.com

www.Trollize.com

www.FanSignGenerator.com

www.Holy-Bibles.org

www.Is-A-Jerk.com

www.HolyBibleSearch.com
www.SillyWebcam.com
www.SillyScenes.com
www.Seekerific.com
www.Nerdful.com
www.BodySwitcher.com
www.13KG.com
www.SpareSomeChange.com
www.FloppyApps.com
www.MaxSpider.com
www.ChatPhobia.com
www.SirSeek.com
www.HappyFaceGenerator.com
www.DangerSignGenerator.com
HolyBiblesSearch:
Internet Search:

www.WHAK.com

www.MAKE-A-MEME.com
www.HolyBibleVerse.com

www.SignGenerator.org

www.MedChecker.com

www.SeekFreak.com

www.Syncrisis.com

www.Presearcher.com

www.SirSeek.com

www.FotoTrix.com

www.BoobSigns.com

www.Canuckster.com

me.ddleso.me

www.9lbs.com

www.TXT2PIC.com

www.FakeMagazineCover.com

www.Trollize.com

www.FanSignGenerator.com

www.Holy-Bibles.org

www.Is-A-Jerk.com

www.HolyBibleSearch.com
www.SillyWebcam.com
www.SillyScenes.com
www.Seekerific.com
www.Nerdful.com
www.BodySwitcher.com
www.13KG.com
www.SpareSomeChange.com
www.FloppyApps.com
www.MaxSpider.com
www.ChatPhobia.com
www.SirSeek.com
www.HappyFaceGenerator.com
www.DangerSignGenerator.com
HolyBiblesSearch:
Internet Search:

www.WHAK.com

www.MAKE-A-MEME.com
www.HolyBibleVerse.com

www.SignGenerator.org

www.MedChecker.com

www.SeekFreak.com

www.Syncrisis.com

www.Presearcher.com

www.SirSeek.com

www.FotoTrix.com

www.BoobSigns.com

www.Canuckster.com

me.ddleso.me

www.9lbs.com

www.TXT2PIC.com

www.FakeMagazineCover.com

www.Trollize.com

www.FanSignGenerator.com

www.Holy-Bibles.org

www.Is-A-Jerk.com

www.HolyBibleSearch.com
www.SillyWebcam.com
www.SillyScenes.com
www.Seekerific.com
www.Nerdful.com
www.BodySwitcher.com
www.13KG.com
www.SpareSomeChange.com
www.FloppyApps.com
www.MaxSpider.com
www.ChatPhobia.com
www.SirSeek.com
www.HappyFaceGenerator.com
www.DangerSignGenerator.com
HolyBiblesSearch:
Internet Search:

www.WHAK.com

www.MAKE-A-MEME.com
www.HolyBibleVerse.com

www.SignGenerator.org

www.MedChecker.com

www.SeekFreak.com

www.Syncrisis.com

www.Presearcher.com

www.SirSeek.com

www.FotoTrix.com

www.BoobSigns.com

www.Canuckster.com

me.ddleso.me

www.9lbs.com

www.TXT2PIC.com

www.FakeMagazineCover.com

www.Trollize.com

www.FanSignGenerator.com

www.Holy-Bibles.org

www.Is-A-Jerk.com

www.HolyBibleSearch.com
www.SillyWebcam.com
www.SillyScenes.com
www.Seekerific.com
www.Nerdful.com
www.BodySwitcher.com
www.13KG.com
www.SpareSomeChange.com
www.FloppyApps.com
www.MaxSpider.com
www.ChatPhobia.com
www.SirSeek.com
www.HappyFaceGenerator.com
www.DangerSignGenerator.com
HolyBiblesSearch:
Internet Search:

www.WHAK.com

www.MAKE-A-MEME.com
www.HolyBibleVerse.com

www.SignGenerator.org

www.MedChecker.com

www.SeekFreak.com

www.Syncrisis.com

www.Presearcher.com

www.SirSeek.com

www.FotoTrix.com

www.BoobSigns.com

www.Canuckster.com

me.ddleso.me

www.9lbs.com

www.TXT2PIC.com

www.FakeMagazineCover.com

www.Trollize.com

www.FanSignGenerator.com

www.Holy-Bibles.org

www.Is-A-Jerk.com

www.HolyBibleSearch.com
www.SillyWebcam.com
www.SillyScenes.com
www.Seekerific.com
www.Nerdful.com
www.BodySwitcher.com
www.13KG.com
www.SpareSomeChange.com
www.FloppyApps.com
www.MaxSpider.com
www.ChatPhobia.com
www.SirSeek.com
www.HappyFaceGenerator.com
www.DangerSignGenerator.com
HolyBiblesSearch:
Internet Search:

www.WHAK.com

www.MAKE-A-MEME.com
www.HolyBibleVerse.com

www.SignGenerator.org

www.MedChecker.com

www.SeekFreak.com

www.Syncrisis.com

www.Presearcher.com

www.SirSeek.com

www.FotoTrix.com

www.BoobSigns.com

www.Canuckster.com

me.ddleso.me

www.9lbs.com

www.TXT2PIC.com

www.FakeMagazineCover.com

www.Trollize.com

www.FanSignGenerator.com

www.Holy-Bibles.org

www.Is-A-Jerk.com

www.HolyBibleSearch.com
www.SillyWebcam.com
www.SillyScenes.com
www.Seekerific.com
www.Nerdful.com
www.BodySwitcher.com
www.13KG.com
www.SpareSomeChange.com
www.FloppyApps.com
www.MaxSpider.com
www.ChatPhobia.com
www.SirSeek.com
www.HappyFaceGenerator.com
www.DangerSignGenerator.com
HolyBiblesSearch:
Internet Search:

www.WHAK.com

www.MAKE-A-MEME.com
www.HolyBibleVerse.com

www.SignGenerator.org

www.MedChecker.com

www.SeekFreak.com

www.Syncrisis.com

www.Presearcher.com

www.SirSeek.com

www.FotoTrix.com

www.BoobSigns.com

www.Canuckster.com

me.ddleso.me

www.9lbs.com

www.TXT2PIC.com

www.FakeMagazineCover.com

www.Trollize.com

www.FanSignGenerator.com

www.Holy-Bibles.org

www.Is-A-Jerk.com

www.HolyBibleSearch.com
www.SillyWebcam.com
www.SillyScenes.com
www.Seekerific.com
www.Nerdful.com
www.BodySwitcher.com
www.13KG.com
www.SpareSomeChange.com
www.FloppyApps.com
www.MaxSpider.com
www.ChatPhobia.com
www.SirSeek.com
www.HappyFaceGenerator.com
www.DangerSignGenerator.com
HolyBiblesSearch:
Internet Search:

www.WHAK.com

www.MAKE-A-MEME.com
www.HolyBibleVerse.com

www.SignGenerator.org

www.MedChecker.com

www.SeekFreak.com

www.Syncrisis.com

www.Presearcher.com

www.SirSeek.com

www.FotoTrix.com

www.BoobSigns.com

www.Canuckster.com

me.ddleso.me

www.9lbs.com

www.TXT2PIC.com

www.FakeMagazineCover.com

www.Trollize.com

www.FanSignGenerator.com

www.Holy-Bibles.org

www.Is-A-Jerk.com

www.HolyBibleSearch.com
www.SillyWebcam.com
www.SillyScenes.com
www.Seekerific.com
www.Nerdful.com
www.BodySwitcher.com
www.13KG.com
www.SpareSomeChange.com
www.FloppyApps.com
www.MaxSpider.com
www.ChatPhobia.com
www.SirSeek.com
www.HappyFaceGenerator.com
www.DangerSignGenerator.com
HolyBiblesSearch:
Internet Search:

www.WHAK.com

www.MAKE-A-MEME.com
www.HolyBibleVerse.com

www.SignGenerator.org

www.MedChecker.com

www.SeekFreak.com

www.Syncrisis.com

www.Presearcher.com

www.SirSeek.com

www.FotoTrix.com

www.BoobSigns.com

www.Canuckster.com

me.ddleso.me

www.9lbs.com

www.TXT2PIC.com

www.FakeMagazineCover.com

www.Trollize.com

www.FanSignGenerator.com

www.Holy-Bibles.org

www.Is-A-Jerk.com

www.HolyBibleSearch.com
www.SillyWebcam.com
www.SillyScenes.com
www.Seekerific.com
www.Nerdful.com
www.BodySwitcher.com
www.13KG.com
www.SpareSomeChange.com
www.FloppyApps.com
www.MaxSpider.com
www.ChatPhobia.com
www.SirSeek.com
www.HappyFaceGenerator.com
www.DangerSignGenerator.com
HolyBiblesSearch:
Internet Search:

www.WHAK.com

www.MAKE-A-MEME.com
www.HolyBibleVerse.com

www.SignGenerator.org

www.MedChecker.com

www.SeekFreak.com

www.Syncrisis.com

www.Presearcher.com

www.SirSeek.com

www.FotoTrix.com

www.BoobSigns.com

www.Canuckster.com

me.ddleso.me

www.9lbs.com

www.TXT2PIC.com

www.FakeMagazineCover.com

www.Trollize.com

www.FanSignGenerator.com

www.Holy-Bibles.org

www.Is-A-Jerk.com

www.HolyBibleSearch.com
www.SillyWebcam.com
www.SillyScenes.com
www.Seekerific.com
www.Nerdful.com
www.BodySwitcher.com
www.13KG.com
www.SpareSomeChange.com
www.FloppyApps.com
www.MaxSpider.com
www.ChatPhobia.com
www.SirSeek.com
www.HappyFaceGenerator.com
www.DangerSignGenerator.com
HolyBiblesSearch:
Internet Search:

www.WHAK.com

www.MAKE-A-MEME.com
www.HolyBibleVerse.com

www.SignGenerator.org

www.MedChecker.com

www.SeekFreak.com

www.Syncrisis.com

www.Presearcher.com

www.SirSeek.com

www.FotoTrix.com

www.BoobSigns.com

www.Canuckster.com

me.ddleso.me

www.9lbs.com

www.TXT2PIC.com

www.FakeMagazineCover.com

www.Trollize.com

www.FanSignGenerator.com

www.Holy-Bibles.org

www.Is-A-Jerk.com

www.HolyBibleSearch.com
www.SillyWebcam.com
www.SillyScenes.com
www.Seekerific.com
www.Nerdful.com
www.BodySwitcher.com
www.13KG.com
www.SpareSomeChange.com
www.FloppyApps.com
www.MaxSpider.com
www.ChatPhobia.com
www.SirSeek.com
www.HappyFaceGenerator.com
www.DangerSignGenerator.com
HolyBiblesSearch:
Internet Search:

www.WHAK.com

www.MAKE-A-MEME.com
www.HolyBibleVerse.com

www.SignGenerator.org

www.MedChecker.com

www.SeekFreak.com

www.Syncrisis.com

www.Presearcher.com

www.SirSeek.com

www.FotoTrix.com

www.BoobSigns.com

www.Canuckster.com

me.ddleso.me

www.9lbs.com

www.TXT2PIC.com

www.FakeMagazineCover.com

www.Trollize.com

www.FanSignGenerator.com

www.Holy-Bibles.org

www.Is-A-Jerk.com

www.HolyBibleSearch.com
www.SillyWebcam.com
www.SillyScenes.com
www.Seekerific.com
www.Nerdful.com
www.BodySwitcher.com
www.13KG.com
www.SpareSomeChange.com
www.FloppyApps.com
www.MaxSpider.com
www.ChatPhobia.com
www.SirSeek.com
www.HappyFaceGenerator.com
www.DangerSignGenerator.com
HolyBiblesSearch:
Internet Search:

www.WHAK.com

www.MAKE-A-MEME.com
www.HolyBibleVerse.com

www.SignGenerator.org

www.MedChecker.com

www.SeekFreak.com

www.Syncrisis.com

www.Presearcher.com

www.SirSeek.com

www.FotoTrix.com

www.BoobSigns.com

www.Canuckster.com

me.ddleso.me

www.9lbs.com

www.TXT2PIC.com

www.FakeMagazineCover.com

www.Trollize.com

www.FanSignGenerator.com

www.Holy-Bibles.org

www.Is-A-Jerk.com

www.HolyBibleSearch.com
www.SillyWebcam.com
www.SillyScenes.com
www.Seekerific.com
www.Nerdful.com
www.BodySwitcher.com
www.13KG.com
www.SpareSomeChange.com
www.FloppyApps.com
www.MaxSpider.com
www.ChatPhobia.com
www.SirSeek.com
www.HappyFaceGenerator.com
www.DangerSignGenerator.com
HolyBiblesSearch:
Internet Search:

www.WHAK.com

www.MAKE-A-MEME.com
www.HolyBibleVerse.com

www.SignGenerator.org

www.MedChecker.com

www.SeekFreak.com

www.Syncrisis.com

www.Presearcher.com

www.SirSeek.com

www.FotoTrix.com

www.BoobSigns.com

www.Canuckster.com

me.ddleso.me

www.9lbs.com

www.TXT2PIC.com

www.FakeMagazineCover.com

www.Trollize.com

www.FanSignGenerator.com

www.Holy-Bibles.org

www.Is-A-Jerk.com

www.HolyBibleSearch.com
www.SillyWebcam.com
www.SillyScenes.com
www.Seekerific.com
www.Nerdful.com
www.BodySwitcher.com
www.13KG.com
www.SpareSomeChange.com
www.FloppyApps.com
www.MaxSpider.com
www.ChatPhobia.com
www.SirSeek.com
www.HappyFaceGenerator.com
www.DangerSignGenerator.com
HolyBiblesSearch:
Internet Search:

www.WHAK.com

www.MAKE-A-MEME.com
www.HolyBibleVerse.com

www.SignGenerator.org

www.MedChecker.com

www.SeekFreak.com

www.Syncrisis.com

www.Presearcher.com

www.SirSeek.com

www.FotoTrix.com

www.BoobSigns.com

www.Canuckster.com

me.ddleso.me

www.9lbs.com

www.TXT2PIC.com

www.FakeMagazineCover.com

www.Trollize.com

www.FanSignGenerator.com

www.Holy-Bibles.org

www.Is-A-Jerk.com

www.HolyBibleSearch.com
www.SillyWebcam.com
www.SillyScenes.com
www.Seekerific.com
www.Nerdful.com
www.BodySwitcher.com
www.13KG.com
www.SpareSomeChange.com
www.FloppyApps.com
www.MaxSpider.com
www.ChatPhobia.com
www.SirSeek.com
www.HappyFaceGenerator.com
www.DangerSignGenerator.com
HolyBiblesSearch:
Internet Search:

www.WHAK.com

www.MAKE-A-MEME.com
www.HolyBibleVerse.com

www.SignGenerator.org

www.MedChecker.com

www.SeekFreak.com

www.Syncrisis.com

www.Presearcher.com

www.SirSeek.com

www.FotoTrix.com

www.BoobSigns.com

www.Canuckster.com

me.ddleso.me

www.9lbs.com

www.TXT2PIC.com

www.FakeMagazineCover.com

www.Trollize.com

www.FanSignGenerator.com

www.Holy-Bibles.org

www.Is-A-Jerk.com

www.HolyBibleSearch.com
www.SillyWebcam.com
www.SillyScenes.com
www.Seekerific.com
www.Nerdful.com
www.BodySwitcher.com
www.13KG.com
www.SpareSomeChange.com
www.FloppyApps.com
www.MaxSpider.com
www.ChatPhobia.com
www.SirSeek.com
www.HappyFaceGenerator.com
www.DangerSignGenerator.com
HolyBiblesSearch:
Internet Search:

www.WHAK.com

www.MAKE-A-MEME.com
www.HolyBibleVerse.com

www.SignGenerator.org

www.MedChecker.com

www.SeekFreak.com

www.Syncrisis.com

www.Presearcher.com

www.SirSeek.com

www.FotoTrix.com

www.BoobSigns.com

www.Canuckster.com

me.ddleso.me

www.9lbs.com

www.TXT2PIC.com

www.FakeMagazineCover.com

www.Trollize.com

www.FanSignGenerator.com

www.Holy-Bibles.org

www.Is-A-Jerk.com

www.HolyBibleSearch.com
www.SillyWebcam.com
www.SillyScenes.com
www.Seekerific.com
www.Nerdful.com
www.BodySwitcher.com
www.13KG.com
www.SpareSomeChange.com
www.FloppyApps.com
www.MaxSpider.com
www.ChatPhobia.com
www.SirSeek.com
www.HappyFaceGenerator.com
www.DangerSignGenerator.com
HolyBiblesSearch:
Internet Search:

www.WHAK.com

www.MAKE-A-MEME.com
www.HolyBibleVerse.com

www.SignGenerator.org

www.MedChecker.com

www.SeekFreak.com

www.Syncrisis.com

www.Presearcher.com

www.SirSeek.com

www.FotoTrix.com

www.BoobSigns.com

www.Canuckster.com

me.ddleso.me

www.9lbs.com

www.TXT2PIC.com

www.FakeMagazineCover.com

www.Trollize.com

www.FanSignGenerator.com

www.Holy-Bibles.org

www.Is-A-Jerk.com

www.HolyBibleSearch.com
www.SillyWebcam.com
www.SillyScenes.com
www.Seekerific.com
www.Nerdful.com
www.BodySwitcher.com
www.13KG.com
www.SpareSomeChange.com
www.FloppyApps.com
www.MaxSpider.com
www.ChatPhobia.com
www.SirSeek.com
www.HappyFaceGenerator.com
www.DangerSignGenerator.com
HolyBiblesSearch:
Internet Search:

www.WHAK.com

www.MAKE-A-MEME.com
www.HolyBibleVerse.com

www.SignGenerator.org

www.MedChecker.com

www.SeekFreak.com

www.Syncrisis.com

www.Presearcher.com

www.SirSeek.com

www.FotoTrix.com

www.BoobSigns.com

www.Canuckster.com

me.ddleso.me

www.9lbs.com

www.TXT2PIC.com

www.FakeMagazineCover.com

www.Trollize.com

www.FanSignGenerator.com

www.Holy-Bibles.org

www.Is-A-Jerk.com

www.HolyBibleSearch.com
www.SillyWebcam.com
www.SillyScenes.com
www.Seekerific.com
www.Nerdful.com
www.BodySwitcher.com
www.13KG.com
www.SpareSomeChange.com
www.FloppyApps.com
www.MaxSpider.com
www.ChatPhobia.com
www.SirSeek.com
www.HappyFaceGenerator.com
www.DangerSignGenerator.com
HolyBiblesSearch:
Internet Search:

www.WHAK.com

www.MAKE-A-MEME.com
www.HolyBibleVerse.com

www.SignGenerator.org

www.MedChecker.com

www.SeekFreak.com

www.Syncrisis.com

www.Presearcher.com

www.SirSeek.com

www.FotoTrix.com

www.BoobSigns.com

www.Canuckster.com

me.ddleso.me

www.9lbs.com

www.TXT2PIC.com

www.FakeMagazineCover.com

www.Trollize.com

www.FanSignGenerator.com

www.Holy-Bibles.org

www.Is-A-Jerk.com

www.HolyBibleSearch.com
www.SillyWebcam.com
www.SillyScenes.com
www.Seekerific.com
www.Nerdful.com
www.BodySwitcher.com
www.13KG.com
www.SpareSomeChange.com
www.FloppyApps.com
www.MaxSpider.com
www.ChatPhobia.com
www.SirSeek.com
www.HappyFaceGenerator.com
www.DangerSignGenerator.com
HolyBiblesSearch:
Internet Search:

www.WHAK.com

www.MAKE-A-MEME.com
www.HolyBibleVerse.com

www.SignGenerator.org

www.MedChecker.com

www.SeekFreak.com

www.Syncrisis.com

www.Presearcher.com

www.SirSeek.com

www.FotoTrix.com

www.BoobSigns.com

www.Canuckster.com

me.ddleso.me

www.9lbs.com

www.TXT2PIC.com

www.FakeMagazineCover.com

www.Trollize.com

www.FanSignGenerator.com

www.Holy-Bibles.org

www.Is-A-Jerk.com

www.HolyBibleSearch.com
www.SillyWebcam.com
www.SillyScenes.com
www.Seekerific.com
www.Nerdful.com
www.BodySwitcher.com
www.13KG.com
www.SpareSomeChange.com
www.FloppyApps.com
www.MaxSpider.com
www.ChatPhobia.com
www.SirSeek.com
www.HappyFaceGenerator.com
www.DangerSignGenerator.com
HolyBiblesSearch:
Internet Search:

www.WHAK.com

www.MAKE-A-MEME.com
www.HolyBibleVerse.com

www.SignGenerator.org

www.MedChecker.com

www.SeekFreak.com

www.Syncrisis.com

www.Presearcher.com

www.SirSeek.com

www.FotoTrix.com

www.BoobSigns.com

www.Canuckster.com

me.ddleso.me

www.9lbs.com

www.TXT2PIC.com

www.FakeMagazineCover.com

www.Trollize.com

www.FanSignGenerator.com

www.Holy-Bibles.org

www.Is-A-Jerk.com

www.HolyBibleSearch.com
www.SillyWebcam.com
www.SillyScenes.com
www.Seekerific.com
www.Nerdful.com
www.BodySwitcher.com
www.13KG.com
www.SpareSomeChange.com
www.FloppyApps.com
www.MaxSpider.com
www.ChatPhobia.com
www.SirSeek.com
www.HappyFaceGenerator.com
www.DangerSignGenerator.com
HolyBiblesSearch:
Internet Search:

www.WHAK.com

www.MAKE-A-MEME.com
www.HolyBibleVerse.com

www.SignGenerator.org

www.MedChecker.com

www.SeekFreak.com

www.Syncrisis.com

www.Presearcher.com

www.SirSeek.com

www.FotoTrix.com

www.BoobSigns.com

www.Canuckster.com

me.ddleso.me

www.9lbs.com

www.TXT2PIC.com

www.FakeMagazineCover.com

www.Trollize.com

www.FanSignGenerator.com

www.Holy-Bibles.org

www.Is-A-Jerk.com

www.HolyBibleSearch.com
www.SillyWebcam.com
www.SillyScenes.com
www.Seekerific.com
www.Nerdful.com
www.BodySwitcher.com
www.13KG.com
www.SpareSomeChange.com
www.FloppyApps.com
www.MaxSpider.com
www.ChatPhobia.com
www.SirSeek.com
www.HappyFaceGenerator.com
www.DangerSignGenerator.com
HolyBiblesSearch:
Internet Search:

www.WHAK.com

www.MAKE-A-MEME.com
www.HolyBibleVerse.com

www.SignGenerator.org

www.MedChecker.com

www.SeekFreak.com

www.Syncrisis.com

www.Presearcher.com

www.SirSeek.com

www.FotoTrix.com

www.BoobSigns.com

www.Canuckster.com

me.ddleso.me

www.9lbs.com

www.TXT2PIC.com

www.FakeMagazineCover.com

www.Trollize.com

www.FanSignGenerator.com

www.Holy-Bibles.org

www.Is-A-Jerk.com

www.HolyBibleSearch.com
www.SillyWebcam.com
www.SillyScenes.com
www.Seekerific.com
www.Nerdful.com
www.BodySwitcher.com
www.13KG.com
www.SpareSomeChange.com
www.FloppyApps.com
www.MaxSpider.com
www.ChatPhobia.com
www.SirSeek.com
www.HappyFaceGenerator.com
www.DangerSignGenerator.com
HolyBiblesSearch:
Internet Search:

www.WHAK.com

www.MAKE-A-MEME.com
www.HolyBibleVerse.com

www.SignGenerator.org

www.MedChecker.com

www.SeekFreak.com

www.Syncrisis.com

www.Presearcher.com

www.SirSeek.com

www.FotoTrix.com

www.BoobSigns.com

www.Canuckster.com

me.ddleso.me

www.9lbs.com

www.TXT2PIC.com

www.FakeMagazineCover.com

www.Trollize.com

www.FanSignGenerator.com

www.Holy-Bibles.org

www.Is-A-Jerk.com

www.HolyBibleSearch.com
www.SillyWebcam.com
www.SillyScenes.com
www.Seekerific.com
www.Nerdful.com
www.BodySwitcher.com
www.13KG.com
www.SpareSomeChange.com
www.FloppyApps.com
www.MaxSpider.com
www.ChatPhobia.com
www.SirSeek.com
www.HappyFaceGenerator.com
www.DangerSignGenerator.com
HolyBiblesSearch:
Internet Search:

www.WHAK.com

www.MAKE-A-MEME.com
www.HolyBibleVerse.com

www.SignGenerator.org

www.MedChecker.com

www.SeekFreak.com

www.Syncrisis.com

www.Presearcher.com

www.SirSeek.com

www.FotoTrix.com

www.BoobSigns.com

www.Canuckster.com

me.ddleso.me

www.9lbs.com

www.TXT2PIC.com

www.FakeMagazineCover.com

www.Trollize.com

www.FanSignGenerator.com

www.Holy-Bibles.org

www.Is-A-Jerk.com

www.HolyBibleSearch.com
www.SillyWebcam.com
www.SillyScenes.com
www.Seekerific.com
www.Nerdful.com
www.BodySwitcher.com
www.13KG.com
www.SpareSomeChange.com
www.FloppyApps.com
www.MaxSpider.com
www.ChatPhobia.com
www.SirSeek.com
www.HappyFaceGenerator.com
www.DangerSignGenerator.com
HolyBiblesSearch:
Internet Search:

www.WHAK.com

www.MAKE-A-MEME.com
www.HolyBibleVerse.com

www.SignGenerator.org

www.MedChecker.com

www.SeekFreak.com

www.Syncrisis.com

www.Presearcher.com

www.SirSeek.com

www.FotoTrix.com

www.BoobSigns.com

www.Canuckster.com

me.ddleso.me

www.9lbs.com

www.TXT2PIC.com

www.FakeMagazineCover.com

www.Trollize.com

www.FanSignGenerator.com

www.Holy-Bibles.org

www.Is-A-Jerk.com

www.HolyBibleSearch.com
www.SillyWebcam.com
www.SillyScenes.com
www.Seekerific.com
www.Nerdful.com
www.BodySwitcher.com
www.13KG.com
www.SpareSomeChange.com
www.FloppyApps.com
www.MaxSpider.com
www.ChatPhobia.com
www.SirSeek.com
www.HappyFaceGenerator.com
www.DangerSignGenerator.com
HolyBiblesSearch:
Internet Search:

www.WHAK.com

www.MAKE-A-MEME.com
www.HolyBibleVerse.com

www.SignGenerator.org

www.MedChecker.com

www.SeekFreak.com

www.Syncrisis.com

www.Presearcher.com

www.SirSeek.com

www.FotoTrix.com

www.BoobSigns.com

www.Canuckster.com

me.ddleso.me

www.9lbs.com

www.TXT2PIC.com

www.FakeMagazineCover.com

www.Trollize.com

www.FanSignGenerator.com

www.Holy-Bibles.org

www.Is-A-Jerk.com

www.HolyBibleSearch.com
www.SillyWebcam.com
www.SillyScenes.com
www.Seekerific.com
www.Nerdful.com
www.BodySwitcher.com
www.13KG.com
www.SpareSomeChange.com
www.FloppyApps.com
www.MaxSpider.com
www.ChatPhobia.com
www.SirSeek.com
www.HappyFaceGenerator.com
www.DangerSignGenerator.com
HolyBiblesSearch:
Internet Search:

www.WHAK.com

www.MAKE-A-MEME.com
www.HolyBibleVerse.com

www.SignGenerator.org

www.MedChecker.com

www.SeekFreak.com

www.Syncrisis.com

www.Presearcher.com

www.SirSeek.com

www.FotoTrix.com

www.BoobSigns.com

www.Canuckster.com

me.ddleso.me

www.9lbs.com

www.TXT2PIC.com

www.FakeMagazineCover.com

www.Trollize.com

www.FanSignGenerator.com

www.Holy-Bibles.org

www.Is-A-Jerk.com

www.HolyBibleSearch.com
www.SillyWebcam.com
www.SillyScenes.com
www.Seekerific.com
www.Nerdful.com
www.BodySwitcher.com
www.13KG.com
www.SpareSomeChange.com
www.FloppyApps.com
www.MaxSpider.com
www.ChatPhobia.com
www.SirSeek.com
www.HappyFaceGenerator.com
www.DangerSignGenerator.com
HolyBiblesSearch:
Internet Search:

www.WHAK.com

www.MAKE-A-MEME.com
www.HolyBibleVerse.com

www.SignGenerator.org

www.MedChecker.com

www.SeekFreak.com

www.Syncrisis.com

www.Presearcher.com

www.SirSeek.com

www.FotoTrix.com

www.BoobSigns.com

www.Canuckster.com

me.ddleso.me

www.9lbs.com

www.TXT2PIC.com

www.FakeMagazineCover.com

www.Trollize.com

www.FanSignGenerator.com

www.Holy-Bibles.org

www.Is-A-Jerk.com

www.HolyBibleSearch.com
www.SillyWebcam.com
www.SillyScenes.com
www.Seekerific.com
www.Nerdful.com
www.BodySwitcher.com
www.13KG.com
www.SpareSomeChange.com
www.FloppyApps.com
www.MaxSpider.com
www.ChatPhobia.com
www.SirSeek.com
www.HappyFaceGenerator.com
www.DangerSignGenerator.com
HolyBiblesSearch:
Internet Search:

www.WHAK.com

www.MAKE-A-MEME.com
www.HolyBibleVerse.com

www.SignGenerator.org

www.MedChecker.com

www.SeekFreak.com

www.Syncrisis.com

www.Presearcher.com

www.SirSeek.com

www.FotoTrix.com

www.BoobSigns.com

www.Canuckster.com

me.ddleso.me

www.9lbs.com

www.TXT2PIC.com

www.FakeMagazineCover.com

www.Trollize.com

www.FanSignGenerator.com

www.Holy-Bibles.org

www.Is-A-Jerk.com

www.HolyBibleSearch.com
www.SillyWebcam.com
www.SillyScenes.com
www.Seekerific.com
www.Nerdful.com
www.BodySwitcher.com
www.13KG.com
www.SpareSomeChange.com
www.FloppyApps.com
www.MaxSpider.com
www.ChatPhobia.com
www.SirSeek.com
www.HappyFaceGenerator.com
www.DangerSignGenerator.com
HolyBiblesSearch:
Internet Search:

www.WHAK.com

www.MAKE-A-MEME.com
www.HolyBibleVerse.com

www.SignGenerator.org

www.MedChecker.com

www.SeekFreak.com

www.Syncrisis.com

www.Presearcher.com

www.SirSeek.com

www.FotoTrix.com

www.BoobSigns.com

www.Canuckster.com

me.ddleso.me

www.9lbs.com

www.TXT2PIC.com

www.FakeMagazineCover.com

www.Trollize.com

www.FanSignGenerator.com

www.Holy-Bibles.org

www.Is-A-Jerk.com

www.HolyBibleSearch.com
www.SillyWebcam.com
www.SillyScenes.com
www.Seekerific.com
www.Nerdful.com
www.BodySwitcher.com
www.13KG.com
www.SpareSomeChange.com
www.FloppyApps.com
www.MaxSpider.com
www.ChatPhobia.com
www.SirSeek.com
www.HappyFaceGenerator.com
www.DangerSignGenerator.com
HolyBiblesSearch:
Internet Search:

www.WHAK.com

www.MAKE-A-MEME.com
www.HolyBibleVerse.com

www.SignGenerator.org

www.MedChecker.com

www.SeekFreak.com

www.Syncrisis.com

www.Presearcher.com

www.SirSeek.com

www.FotoTrix.com

www.BoobSigns.com

www.Canuckster.com

me.ddleso.me

www.9lbs.com

www.TXT2PIC.com

www.FakeMagazineCover.com

www.Trollize.com

www.FanSignGenerator.com

www.Holy-Bibles.org

www.Is-A-Jerk.com

www.HolyBibleSearch.com
www.SillyWebcam.com
www.SillyScenes.com
www.Seekerific.com
www.Nerdful.com
www.BodySwitcher.com
www.13KG.com
www.SpareSomeChange.com
www.FloppyApps.com
www.MaxSpider.com
www.ChatPhobia.com
www.SirSeek.com
www.HappyFaceGenerator.com
www.DangerSignGenerator.com
HolyBiblesSearch:
Internet Search:

www.WHAK.com

www.MAKE-A-MEME.com
www.HolyBibleVerse.com

www.SignGenerator.org

www.MedChecker.com

www.SeekFreak.com

www.Syncrisis.com

www.Presearcher.com

www.SirSeek.com

www.FotoTrix.com

www.BoobSigns.com

www.Canuckster.com

me.ddleso.me

www.9lbs.com

www.TXT2PIC.com

www.FakeMagazineCover.com

www.Trollize.com

www.FanSignGenerator.com

www.Holy-Bibles.org

www.Is-A-Jerk.com

www.HolyBibleSearch.com
www.SillyWebcam.com
www.SillyScenes.com
www.Seekerific.com
www.Nerdful.com
www.BodySwitcher.com
www.13KG.com
www.SpareSomeChange.com
www.FloppyApps.com
www.MaxSpider.com
www.ChatPhobia.com
www.SirSeek.com
www.HappyFaceGenerator.com
www.DangerSignGenerator.com
HolyBiblesSearch:
Internet Search:

www.WHAK.com

www.MAKE-A-MEME.com
www.HolyBibleVerse.com

www.SignGenerator.org

www.MedChecker.com

www.SeekFreak.com

www.Syncrisis.com

www.Presearcher.com

www.SirSeek.com

www.FotoTrix.com

www.BoobSigns.com

www.Canuckster.com

me.ddleso.me

www.9lbs.com

www.TXT2PIC.com

www.FakeMagazineCover.com

www.Trollize.com

www.FanSignGenerator.com

www.Holy-Bibles.org

www.Is-A-Jerk.com

www.HolyBibleSearch.com
www.SillyWebcam.com
www.SillyScenes.com
www.Seekerific.com
www.Nerdful.com
www.BodySwitcher.com
www.13KG.com
www.SpareSomeChange.com
www.FloppyApps.com
www.MaxSpider.com
www.ChatPhobia.com
www.SirSeek.com
www.HappyFaceGenerator.com
www.DangerSignGenerator.com
HolyBiblesSearch:
Internet Search:

www.WHAK.com

www.MAKE-A-MEME.com
www.HolyBibleVerse.com

www.SignGenerator.org

www.MedChecker.com

www.SeekFreak.com

www.Syncrisis.com

www.Presearcher.com

www.SirSeek.com

www.FotoTrix.com

www.BoobSigns.com

www.Canuckster.com

me.ddleso.me

www.9lbs.com

www.TXT2PIC.com

www.FakeMagazineCover.com

www.Trollize.com

www.FanSignGenerator.com

www.Holy-Bibles.org

www.Is-A-Jerk.com

www.HolyBibleSearch.com
www.SillyWebcam.com
www.SillyScenes.com
www.Seekerific.com
www.Nerdful.com
www.BodySwitcher.com
www.13KG.com
www.SpareSomeChange.com
www.FloppyApps.com
www.MaxSpider.com
www.ChatPhobia.com
www.SirSeek.com
www.HappyFaceGenerator.com
www.DangerSignGenerator.com
HolyBiblesSearch:
Internet Search:

www.WHAK.com

www.MAKE-A-MEME.com
www.HolyBibleVerse.com

www.SignGenerator.org

www.MedChecker.com

www.SeekFreak.com

www.Syncrisis.com

www.Presearcher.com

www.SirSeek.com

www.FotoTrix.com

www.BoobSigns.com

www.Canuckster.com

me.ddleso.me

www.9lbs.com

www.TXT2PIC.com

www.FakeMagazineCover.com

www.Trollize.com

www.FanSignGenerator.com

www.Holy-Bibles.org

www.Is-A-Jerk.com

www.HolyBibleSearch.com
www.SillyWebcam.com
www.SillyScenes.com
www.Seekerific.com
www.Nerdful.com
www.BodySwitcher.com
www.13KG.com
www.SpareSomeChange.com
www.FloppyApps.com
www.MaxSpider.com
www.ChatPhobia.com
www.SirSeek.com
www.HappyFaceGenerator.com
www.DangerSignGenerator.com
HolyBiblesSearch:
Internet Search:

www.WHAK.com

www.MAKE-A-MEME.com
www.HolyBibleVerse.com

www.SignGenerator.org

www.MedChecker.com

www.SeekFreak.com

www.Syncrisis.com

www.Presearcher.com

www.SirSeek.com

www.FotoTrix.com

www.BoobSigns.com

www.Canuckster.com

me.ddleso.me

www.9lbs.com

www.TXT2PIC.com

www.FakeMagazineCover.com

www.Trollize.com

www.FanSignGenerator.com

www.Holy-Bibles.org

www.Is-A-Jerk.com

www.HolyBibleSearch.com
www.SillyWebcam.com
www.SillyScenes.com
www.Seekerific.com
www.Nerdful.com
www.BodySwitcher.com
www.13KG.com
www.SpareSomeChange.com
www.FloppyApps.com
www.MaxSpider.com
www.ChatPhobia.com
www.SirSeek.com
www.HappyFaceGenerator.com
www.DangerSignGenerator.com
HolyBiblesSearch:
Internet Search:

www.WHAK.com

www.MAKE-A-MEME.com
www.HolyBibleVerse.com

www.SignGenerator.org

www.MedChecker.com

www.SeekFreak.com

www.Syncrisis.com

www.Presearcher.com

www.SirSeek.com

www.FotoTrix.com

www.BoobSigns.com

www.Canuckster.com

me.ddleso.me

www.9lbs.com

www.TXT2PIC.com

www.FakeMagazineCover.com

www.Trollize.com

www.FanSignGenerator.com

www.Holy-Bibles.org

www.Is-A-Jerk.com

www.HolyBibleSearch.com
www.SillyWebcam.com
www.SillyScenes.com
www.Seekerific.com
www.Nerdful.com
www.BodySwitcher.com
www.13KG.com
www.SpareSomeChange.com
www.FloppyApps.com
www.MaxSpider.com
www.ChatPhobia.com
www.SirSeek.com
www.HappyFaceGenerator.com
www.DangerSignGenerator.com
HolyBiblesSearch:
Internet Search:

www.WHAK.com

www.MAKE-A-MEME.com
www.HolyBibleVerse.com

www.SignGenerator.org

www.MedChecker.com

www.SeekFreak.com

www.Syncrisis.com

www.Presearcher.com

www.SirSeek.com

www.FotoTrix.com

www.BoobSigns.com

www.Canuckster.com

me.ddleso.me

www.9lbs.com

www.TXT2PIC.com

www.FakeMagazineCover.com

www.Trollize.com

www.FanSignGenerator.com

www.Holy-Bibles.org

www.Is-A-Jerk.com

www.HolyBibleSearch.com
www.SillyWebcam.com
www.SillyScenes.com
www.Seekerific.com
www.Nerdful.com
www.BodySwitcher.com
www.13KG.com
www.SpareSomeChange.com
www.FloppyApps.com
www.MaxSpider.com
www.ChatPhobia.com
www.SirSeek.com
www.HappyFaceGenerator.com
www.DangerSignGenerator.com
HolyBiblesSearch:
Internet Search:

www.WHAK.com

www.MAKE-A-MEME.com
www.HolyBibleVerse.com

www.SignGenerator.org

www.MedChecker.com

www.SeekFreak.com

www.Syncrisis.com

www.Presearcher.com

www.SirSeek.com

www.FotoTrix.com

www.BoobSigns.com

www.Canuckster.com

me.ddleso.me

www.9lbs.com

www.TXT2PIC.com

www.FakeMagazineCover.com

www.Trollize.com

www.FanSignGenerator.com

www.Holy-Bibles.org

www.Is-A-Jerk.com

www.HolyBibleSearch.com
www.SillyWebcam.com
www.SillyScenes.com
www.Seekerific.com
www.Nerdful.com
www.BodySwitcher.com
www.13KG.com
www.SpareSomeChange.com
www.FloppyApps.com
www.MaxSpider.com
www.ChatPhobia.com
www.SirSeek.com
www.HappyFaceGenerator.com
www.DangerSignGenerator.com
HolyBiblesSearch:
Internet Search:

www.WHAK.com

www.MAKE-A-MEME.com
www.HolyBibleVerse.com

www.SignGenerator.org

www.MedChecker.com

www.SeekFreak.com

www.Syncrisis.com

www.Presearcher.com

www.SirSeek.com

www.FotoTrix.com

www.BoobSigns.com

www.Canuckster.com

me.ddleso.me

www.9lbs.com

www.TXT2PIC.com

www.FakeMagazineCover.com

www.Trollize.com

www.FanSignGenerator.com

www.Holy-Bibles.org

www.Is-A-Jerk.com

www.HolyBibleSearch.com
www.SillyWebcam.com
www.SillyScenes.com
www.Seekerific.com
www.Nerdful.com
www.BodySwitcher.com
www.13KG.com
www.SpareSomeChange.com
www.FloppyApps.com
www.MaxSpider.com
www.ChatPhobia.com
www.SirSeek.com
www.HappyFaceGenerator.com
www.DangerSignGenerator.com
HolyBiblesSearch:
Internet Search:

www.WHAK.com

www.MAKE-A-MEME.com
www.HolyBibleVerse.com

www.SignGenerator.org

www.MedChecker.com

www.SeekFreak.com

www.Syncrisis.com

www.Presearcher.com

www.SirSeek.com

www.FotoTrix.com

www.BoobSigns.com

www.Canuckster.com

me.ddleso.me

www.9lbs.com

www.TXT2PIC.com

www.FakeMagazineCover.com

www.Trollize.com

www.FanSignGenerator.com

www.Holy-Bibles.org

www.Is-A-Jerk.com

www.HolyBibleSearch.com
www.SillyWebcam.com
www.SillyScenes.com
www.Seekerific.com
www.Nerdful.com
www.BodySwitcher.com
www.13KG.com
www.SpareSomeChange.com
www.FloppyApps.com
www.MaxSpider.com
www.ChatPhobia.com
www.SirSeek.com
www.HappyFaceGenerator.com
www.DangerSignGenerator.com
HolyBiblesSearch:
Internet Search:

www.WHAK.com

www.MAKE-A-MEME.com
www.HolyBibleVerse.com

www.SignGenerator.org

www.MedChecker.com

www.SeekFreak.com

www.Syncrisis.com

www.Presearcher.com

www.SirSeek.com

www.FotoTrix.com

www.BoobSigns.com

www.Canuckster.com

me.ddleso.me

www.9lbs.com

www.TXT2PIC.com

www.FakeMagazineCover.com

www.Trollize.com

www.FanSignGenerator.com

www.Holy-Bibles.org

www.Is-A-Jerk.com

www.HolyBibleSearch.com
www.SillyWebcam.com
www.SillyScenes.com
www.Seekerific.com
www.Nerdful.com
www.BodySwitcher.com
www.13KG.com
www.SpareSomeChange.com
www.FloppyApps.com
www.MaxSpider.com
www.ChatPhobia.com
www.SirSeek.com
www.HappyFaceGenerator.com
www.DangerSignGenerator.com
HolyBiblesSearch:
Internet Search:

www.WHAK.com

www.MAKE-A-MEME.com
www.HolyBibleVerse.com

www.SignGenerator.org

www.MedChecker.com

www.SeekFreak.com

www.Syncrisis.com

www.Presearcher.com

www.SirSeek.com

www.FotoTrix.com

www.BoobSigns.com

www.Canuckster.com

me.ddleso.me

www.9lbs.com

www.TXT2PIC.com

www.FakeMagazineCover.com

www.Trollize.com

www.FanSignGenerator.com

www.Holy-Bibles.org

www.Is-A-Jerk.com

www.HolyBibleSearch.com
www.SillyWebcam.com
www.SillyScenes.com
www.Seekerific.com
www.Nerdful.com
www.BodySwitcher.com
www.13KG.com
www.SpareSomeChange.com
www.FloppyApps.com
www.MaxSpider.com
www.ChatPhobia.com
www.SirSeek.com
www.HappyFaceGenerator.com
www.DangerSignGenerator.com
HolyBiblesSearch:
Internet Search:

www.WHAK.com

www.MAKE-A-MEME.com
www.HolyBibleVerse.com

www.SignGenerator.org

www.MedChecker.com

www.SeekFreak.com

www.Syncrisis.com

www.Presearcher.com

www.SirSeek.com

www.FotoTrix.com

www.BoobSigns.com

www.Canuckster.com

me.ddleso.me

www.9lbs.com

www.TXT2PIC.com

www.FakeMagazineCover.com

www.Trollize.com

www.FanSignGenerator.com

www.Holy-Bibles.org

www.Is-A-Jerk.com

www.HolyBibleSearch.com
www.SillyWebcam.com
www.SillyScenes.com
www.Seekerific.com
www.Nerdful.com
www.BodySwitcher.com
www.13KG.com
www.SpareSomeChange.com
www.FloppyApps.com
www.MaxSpider.com
www.ChatPhobia.com
www.SirSeek.com
www.HappyFaceGenerator.com
www.DangerSignGenerator.com
HolyBiblesSearch:
Internet Search:

www.WHAK.com

www.MAKE-A-MEME.com
www.HolyBibleVerse.com

www.SignGenerator.org

www.MedChecker.com

www.SeekFreak.com

www.Syncrisis.com

www.Presearcher.com

www.SirSeek.com

www.FotoTrix.com

www.BoobSigns.com

www.Canuckster.com

me.ddleso.me

www.9lbs.com

www.TXT2PIC.com

www.FakeMagazineCover.com

www.Trollize.com

www.FanSignGenerator.com

www.Holy-Bibles.org

www.Is-A-Jerk.com

www.HolyBibleSearch.com
www.SillyWebcam.com
www.SillyScenes.com
www.Seekerific.com
www.Nerdful.com
www.BodySwitcher.com
www.13KG.com
www.SpareSomeChange.com
www.FloppyApps.com
www.MaxSpider.com
www.ChatPhobia.com
www.SirSeek.com
www.HappyFaceGenerator.com
www.DangerSignGenerator.com
HolyBiblesSearch:
Internet Search:

www.WHAK.com

www.MAKE-A-MEME.com
www.HolyBibleVerse.com

www.SignGenerator.org

www.MedChecker.com

www.SeekFreak.com

www.Syncrisis.com

www.Presearcher.com

www.SirSeek.com

www.FotoTrix.com

www.BoobSigns.com

www.Canuckster.com

me.ddleso.me

www.9lbs.com

www.TXT2PIC.com

www.FakeMagazineCover.com

www.Trollize.com

www.FanSignGenerator.com

www.Holy-Bibles.org

www.Is-A-Jerk.com

www.HolyBibleSearch.com
www.SillyWebcam.com
www.SillyScenes.com
www.Seekerific.com
www.Nerdful.com
www.BodySwitcher.com
www.13KG.com
www.SpareSomeChange.com
www.FloppyApps.com
www.MaxSpider.com
www.ChatPhobia.com
www.SirSeek.com
www.HappyFaceGenerator.com
www.DangerSignGenerator.com
HolyBiblesSearch:
Internet Search:

www.WHAK.com

www.MAKE-A-MEME.com
www.HolyBibleVerse.com

www.SignGenerator.org

www.MedChecker.com

www.SeekFreak.com

www.Syncrisis.com

www.Presearcher.com

www.SirSeek.com

www.FotoTrix.com

www.BoobSigns.com

www.Canuckster.com

me.ddleso.me

www.9lbs.com

www.TXT2PIC.com

www.FakeMagazineCover.com

www.Trollize.com

www.FanSignGenerator.com

www.Holy-Bibles.org

www.Is-A-Jerk.com

www.HolyBibleSearch.com
www.SillyWebcam.com
www.SillyScenes.com
www.Seekerific.com
www.Nerdful.com
www.BodySwitcher.com
www.13KG.com
www.SpareSomeChange.com
www.FloppyApps.com
www.MaxSpider.com
www.ChatPhobia.com
www.SirSeek.com
www.HappyFaceGenerator.com
www.DangerSignGenerator.com
HolyBiblesSearch:
Internet Search:

www.WHAK.com

www.MAKE-A-MEME.com
www.HolyBibleVerse.com

www.SignGenerator.org

www.MedChecker.com

www.SeekFreak.com

www.Syncrisis.com

www.Presearcher.com

www.SirSeek.com

www.FotoTrix.com

www.BoobSigns.com

www.Canuckster.com

me.ddleso.me

www.9lbs.com

www.TXT2PIC.com

www.FakeMagazineCover.com

www.Trollize.com

www.FanSignGenerator.com

www.Holy-Bibles.org

www.Is-A-Jerk.com

www.HolyBibleSearch.com
www.SillyWebcam.com
www.SillyScenes.com
www.Seekerific.com
www.Nerdful.com
www.BodySwitcher.com
www.13KG.com
www.SpareSomeChange.com
www.FloppyApps.com
www.MaxSpider.com
www.ChatPhobia.com
www.SirSeek.com
www.HappyFaceGenerator.com
www.DangerSignGenerator.com
HolyBiblesSearch:
Internet Search:

www.WHAK.com

www.MAKE-A-MEME.com
www.HolyBibleVerse.com

www.SignGenerator.org

www.MedChecker.com

www.SeekFreak.com

www.Syncrisis.com

www.Presearcher.com

www.SirSeek.com

www.FotoTrix.com

www.BoobSigns.com

www.Canuckster.com

me.ddleso.me

www.9lbs.com

www.TXT2PIC.com

www.FakeMagazineCover.com

www.Trollize.com

www.FanSignGenerator.com

www.Holy-Bibles.org

www.Is-A-Jerk.com

www.HolyBibleSearch.com
www.SillyWebcam.com
www.SillyScenes.com
www.Seekerific.com
www.Nerdful.com
www.BodySwitcher.com
www.13KG.com
www.SpareSomeChange.com
www.FloppyApps.com
www.MaxSpider.com
www.ChatPhobia.com
www.SirSeek.com
www.HappyFaceGenerator.com
www.DangerSignGenerator.com
HolyBiblesSearch:
Internet Search:

www.WHAK.com

www.MAKE-A-MEME.com
www.HolyBibleVerse.com

www.SignGenerator.org

www.MedChecker.com

www.SeekFreak.com

www.Syncrisis.com

www.Presearcher.com

www.SirSeek.com

www.FotoTrix.com

www.BoobSigns.com

www.Canuckster.com

me.ddleso.me

www.9lbs.com

www.TXT2PIC.com

www.FakeMagazineCover.com

www.Trollize.com

www.FanSignGenerator.com

www.Holy-Bibles.org

www.Is-A-Jerk.com

www.HolyBibleSearch.com
www.SillyWebcam.com
www.SillyScenes.com
www.Seekerific.com
www.Nerdful.com
www.BodySwitcher.com
www.13KG.com
www.SpareSomeChange.com
www.FloppyApps.com
www.MaxSpider.com
www.ChatPhobia.com
www.SirSeek.com
www.HappyFaceGenerator.com
www.DangerSignGenerator.com
HolyBiblesSearch:
Internet Search:

www.WHAK.com

www.MAKE-A-MEME.com
www.HolyBibleVerse.com

www.SignGenerator.org

www.MedChecker.com

www.SeekFreak.com

www.Syncrisis.com

www.Presearcher.com

www.SirSeek.com

www.FotoTrix.com

www.BoobSigns.com

www.Canuckster.com

me.ddleso.me

www.9lbs.com

www.TXT2PIC.com

www.FakeMagazineCover.com

www.Trollize.com

www.FanSignGenerator.com

www.Holy-Bibles.org

www.Is-A-Jerk.com

www.HolyBibleSearch.com
www.SillyWebcam.com
www.SillyScenes.com
www.Seekerific.com
www.Nerdful.com
www.BodySwitcher.com
www.13KG.com
www.SpareSomeChange.com
www.FloppyApps.com
www.MaxSpider.com
www.ChatPhobia.com
www.SirSeek.com
www.HappyFaceGenerator.com
www.DangerSignGenerator.com
HolyBiblesSearch:
Internet Search:

www.WHAK.com

www.MAKE-A-MEME.com
www.HolyBibleVerse.com

www.SignGenerator.org

www.MedChecker.com

www.SeekFreak.com

www.Syncrisis.com

www.Presearcher.com

www.SirSeek.com

www.FotoTrix.com

www.BoobSigns.com

www.Canuckster.com

me.ddleso.me

www.9lbs.com

www.TXT2PIC.com

www.FakeMagazineCover.com

www.Trollize.com

www.FanSignGenerator.com

www.Holy-Bibles.org

www.Is-A-Jerk.com

www.HolyBibleSearch.com
www.SillyWebcam.com
www.SillyScenes.com
www.Seekerific.com
www.Nerdful.com
www.BodySwitcher.com
www.13KG.com
www.SpareSomeChange.com
www.FloppyApps.com
www.MaxSpider.com
www.ChatPhobia.com
www.SirSeek.com
www.HappyFaceGenerator.com
www.DangerSignGenerator.com
HolyBiblesSearch:
Internet Search:

www.WHAK.com

www.MAKE-A-MEME.com
www.HolyBibleVerse.com

www.SignGenerator.org

www.MedChecker.com

www.SeekFreak.com

www.Syncrisis.com

www.Presearcher.com

www.SirSeek.com

www.FotoTrix.com

www.BoobSigns.com

www.Canuckster.com

me.ddleso.me

www.9lbs.com

www.TXT2PIC.com

www.FakeMagazineCover.com

www.Trollize.com

www.FanSignGenerator.com

www.Holy-Bibles.org

www.Is-A-Jerk.com

www.HolyBibleSearch.com
www.SillyWebcam.com
www.SillyScenes.com
www.Seekerific.com
www.Nerdful.com
www.BodySwitcher.com
www.13KG.com
www.SpareSomeChange.com
www.FloppyApps.com
www.MaxSpider.com
www.ChatPhobia.com
www.SirSeek.com
www.HappyFaceGenerator.com
www.DangerSignGenerator.com
HolyBiblesSearch:
Internet Search:

www.WHAK.com

www.MAKE-A-MEME.com
www.HolyBibleVerse.com

www.SignGenerator.org

www.MedChecker.com

www.SeekFreak.com

www.Syncrisis.com

www.Presearcher.com

www.SirSeek.com

www.FotoTrix.com

www.BoobSigns.com

www.Canuckster.com

me.ddleso.me

www.9lbs.com

www.TXT2PIC.com

www.FakeMagazineCover.com

www.Trollize.com

www.FanSignGenerator.com

www.Holy-Bibles.org

www.Is-A-Jerk.com

www.HolyBibleSearch.com
www.SillyWebcam.com
www.SillyScenes.com
www.Seekerific.com
www.Nerdful.com
www.BodySwitcher.com
www.13KG.com
www.SpareSomeChange.com
www.FloppyApps.com
www.MaxSpider.com
www.ChatPhobia.com
www.SirSeek.com
www.HappyFaceGenerator.com
www.DangerSignGenerator.com
HolyBiblesSearch:
Internet Search:

www.WHAK.com

www.MAKE-A-MEME.com
www.HolyBibleVerse.com

www.SignGenerator.org

www.MedChecker.com

www.SeekFreak.com

www.Syncrisis.com

www.Presearcher.com

www.SirSeek.com

www.FotoTrix.com

www.BoobSigns.com

www.Canuckster.com

me.ddleso.me

www.9lbs.com

www.TXT2PIC.com

www.FakeMagazineCover.com

www.Trollize.com

www.FanSignGenerator.com

www.Holy-Bibles.org

www.Is-A-Jerk.com

www.HolyBibleSearch.com
www.SillyWebcam.com
www.SillyScenes.com
www.Seekerific.com
www.Nerdful.com
www.BodySwitcher.com
www.13KG.com
www.SpareSomeChange.com
www.FloppyApps.com
www.MaxSpider.com
www.ChatPhobia.com
www.SirSeek.com
www.HappyFaceGenerator.com
www.DangerSignGenerator.com
HolyBiblesSearch:
Internet Search:

www.WHAK.com

www.MAKE-A-MEME.com
www.HolyBibleVerse.com

www.SignGenerator.org

www.MedChecker.com

www.SeekFreak.com

www.Syncrisis.com

www.Presearcher.com

www.SirSeek.com

www.FotoTrix.com

www.BoobSigns.com

www.Canuckster.com

me.ddleso.me

www.9lbs.com

www.TXT2PIC.com

www.FakeMagazineCover.com

www.Trollize.com

www.FanSignGenerator.com

www.Holy-Bibles.org

www.Is-A-Jerk.com

www.HolyBibleSearch.com
www.SillyWebcam.com
www.SillyScenes.com
www.Seekerific.com
www.Nerdful.com
www.BodySwitcher.com
www.13KG.com
www.SpareSomeChange.com
www.FloppyApps.com
www.MaxSpider.com
www.ChatPhobia.com
www.SirSeek.com
www.HappyFaceGenerator.com
www.DangerSignGenerator.com
HolyBiblesSearch:
Internet Search:

www.WHAK.com

www.MAKE-A-MEME.com
www.HolyBibleVerse.com

www.SignGenerator.org

www.MedChecker.com

www.SeekFreak.com

www.Syncrisis.com

www.Presearcher.com

www.SirSeek.com

www.FotoTrix.com

www.BoobSigns.com

www.Canuckster.com

me.ddleso.me

www.9lbs.com

www.TXT2PIC.com

www.FakeMagazineCover.com

www.Trollize.com

www.FanSignGenerator.com

www.Holy-Bibles.org

www.Is-A-Jerk.com

www.HolyBibleSearch.com
www.SillyWebcam.com
www.SillyScenes.com
www.Seekerific.com
www.Nerdful.com
www.BodySwitcher.com
www.13KG.com
www.SpareSomeChange.com
www.FloppyApps.com
www.MaxSpider.com
www.ChatPhobia.com
www.SirSeek.com
www.HappyFaceGenerator.com
www.DangerSignGenerator.com
HolyBiblesSearch:
Internet Search:

www.WHAK.com

www.MAKE-A-MEME.com
www.HolyBibleVerse.com

www.SignGenerator.org

www.MedChecker.com

www.SeekFreak.com

www.Syncrisis.com

www.Presearcher.com

www.SirSeek.com

www.FotoTrix.com

www.BoobSigns.com

www.Canuckster.com

me.ddleso.me

www.9lbs.com

www.TXT2PIC.com

www.FakeMagazineCover.com

www.Trollize.com

www.FanSignGenerator.com

www.Holy-Bibles.org

www.Is-A-Jerk.com

www.HolyBibleSearch.com
www.SillyWebcam.com
www.SillyScenes.com
www.Seekerific.com
www.Nerdful.com
www.BodySwitcher.com
www.13KG.com
www.SpareSomeChange.com
www.FloppyApps.com
www.MaxSpider.com
www.ChatPhobia.com
www.SirSeek.com
www.HappyFaceGenerator.com
www.DangerSignGenerator.com
HolyBiblesSearch:
Internet Search:

www.WHAK.com

www.MAKE-A-MEME.com
www.HolyBibleVerse.com

www.SignGenerator.org

www.MedChecker.com

www.SeekFreak.com

www.Syncrisis.com

www.Presearcher.com

www.SirSeek.com

www.FotoTrix.com

www.BoobSigns.com

www.Canuckster.com

me.ddleso.me

www.9lbs.com

www.TXT2PIC.com

www.FakeMagazineCover.com

www.Trollize.com

www.FanSignGenerator.com

www.Holy-Bibles.org

www.Is-A-Jerk.com

www.HolyBibleSearch.com
www.SillyWebcam.com
www.SillyScenes.com
www.Seekerific.com
www.Nerdful.com
www.BodySwitcher.com
www.13KG.com
www.SpareSomeChange.com
www.FloppyApps.com
www.MaxSpider.com
www.ChatPhobia.com
www.SirSeek.com
www.HappyFaceGenerator.com
www.DangerSignGenerator.com
HolyBiblesSearch:
Internet Search:

www.WHAK.com

www.MAKE-A-MEME.com
www.HolyBibleVerse.com

www.SignGenerator.org

www.MedChecker.com

www.SeekFreak.com

www.Syncrisis.com

www.Presearcher.com

www.SirSeek.com

www.FotoTrix.com

www.BoobSigns.com

www.Canuckster.com

me.ddleso.me

www.9lbs.com

www.TXT2PIC.com

www.FakeMagazineCover.com

www.Trollize.com

www.FanSignGenerator.com

www.Holy-Bibles.org

www.Is-A-Jerk.com

www.HolyBibleSearch.com
www.SillyWebcam.com
www.SillyScenes.com
www.Seekerific.com
www.Nerdful.com
www.BodySwitcher.com
www.13KG.com
www.SpareSomeChange.com
www.FloppyApps.com
www.MaxSpider.com
www.ChatPhobia.com
www.SirSeek.com
www.HappyFaceGenerator.com
www.DangerSignGenerator.com
HolyBiblesSearch:
Internet Search:

www.WHAK.com

www.MAKE-A-MEME.com
www.HolyBibleVerse.com

www.SignGenerator.org

www.MedChecker.com

www.SeekFreak.com

www.Syncrisis.com

www.Presearcher.com

www.SirSeek.com

www.FotoTrix.com

www.BoobSigns.com

www.Canuckster.com

me.ddleso.me

www.9lbs.com

www.TXT2PIC.com

www.FakeMagazineCover.com

www.Trollize.com

www.FanSignGenerator.com

www.Holy-Bibles.org

www.Is-A-Jerk.com

www.HolyBibleSearch.com
www.SillyWebcam.com
www.SillyScenes.com
www.Seekerific.com
www.Nerdful.com
www.BodySwitcher.com
www.13KG.com
www.SpareSomeChange.com
www.FloppyApps.com
www.MaxSpider.com
www.ChatPhobia.com
www.SirSeek.com
www.HappyFaceGenerator.com
www.DangerSignGenerator.com
HolyBiblesSearch:
Internet Search:

www.WHAK.com

www.MAKE-A-MEME.com
www.HolyBibleVerse.com

www.SignGenerator.org

www.MedChecker.com

www.SeekFreak.com

www.Syncrisis.com

www.Presearcher.com

www.SirSeek.com

www.FotoTrix.com

www.BoobSigns.com

www.Canuckster.com

me.ddleso.me

www.9lbs.com

www.TXT2PIC.com

www.FakeMagazineCover.com

www.Trollize.com

www.FanSignGenerator.com

www.Holy-Bibles.org

www.Is-A-Jerk.com

www.HolyBibleSearch.com
www.SillyWebcam.com
www.SillyScenes.com
www.Seekerific.com
www.Nerdful.com
www.BodySwitcher.com
www.13KG.com
www.SpareSomeChange.com
www.FloppyApps.com
www.MaxSpider.com
www.ChatPhobia.com
www.SirSeek.com
www.HappyFaceGenerator.com
www.DangerSignGenerator.com
HolyBiblesSearch:
Internet Search:

www.WHAK.com

www.MAKE-A-MEME.com
www.HolyBibleVerse.com

www.SignGenerator.org

www.MedChecker.com

www.SeekFreak.com

www.Syncrisis.com

www.Presearcher.com

www.SirSeek.com

www.FotoTrix.com

www.BoobSigns.com

www.Canuckster.com

me.ddleso.me

www.9lbs.com

www.TXT2PIC.com

www.FakeMagazineCover.com

www.Trollize.com

www.FanSignGenerator.com

www.Holy-Bibles.org

www.Is-A-Jerk.com

www.HolyBibleSearch.com
www.SillyWebcam.com
www.SillyScenes.com
www.Seekerific.com
www.Nerdful.com
www.BodySwitcher.com
www.13KG.com
www.SpareSomeChange.com
www.FloppyApps.com
www.MaxSpider.com
www.ChatPhobia.com
www.SirSeek.com
www.HappyFaceGenerator.com
www.DangerSignGenerator.com
HolyBiblesSearch:
Internet Search:

www.WHAK.com

www.MAKE-A-MEME.com
www.HolyBibleVerse.com

www.SignGenerator.org

www.MedChecker.com

www.SeekFreak.com

www.Syncrisis.com

www.Presearcher.com

www.SirSeek.com

www.FotoTrix.com

www.BoobSigns.com

www.Canuckster.com

me.ddleso.me

www.9lbs.com

www.TXT2PIC.com

www.FakeMagazineCover.com

www.Trollize.com

www.FanSignGenerator.com

www.Holy-Bibles.org

www.Is-A-Jerk.com

www.HolyBibleSearch.com
www.SillyWebcam.com
www.SillyScenes.com
www.Seekerific.com
www.Nerdful.com
www.BodySwitcher.com
www.13KG.com
www.SpareSomeChange.com
www.FloppyApps.com
www.MaxSpider.com
www.ChatPhobia.com
www.SirSeek.com
www.HappyFaceGenerator.com
www.DangerSignGenerator.com
HolyBiblesSearch:
Internet Search:

www.WHAK.com

www.MAKE-A-MEME.com
www.HolyBibleVerse.com

www.SignGenerator.org

www.MedChecker.com

www.SeekFreak.com

www.Syncrisis.com

www.Presearcher.com

www.SirSeek.com

www.FotoTrix.com

www.BoobSigns.com

www.Canuckster.com

me.ddleso.me

www.9lbs.com

www.TXT2PIC.com

www.FakeMagazineCover.com

www.Trollize.com

www.FanSignGenerator.com

www.Holy-Bibles.org

www.Is-A-Jerk.com

www.HolyBibleSearch.com
www.SillyWebcam.com
www.SillyScenes.com
www.Seekerific.com
www.Nerdful.com
www.BodySwitcher.com
www.13KG.com
www.SpareSomeChange.com
www.FloppyApps.com
www.MaxSpider.com
www.ChatPhobia.com
www.SirSeek.com
www.HappyFaceGenerator.com
www.DangerSignGenerator.com
HolyBiblesSearch:
Internet Search:

www.WHAK.com

www.MAKE-A-MEME.com
www.HolyBibleVerse.com

www.SignGenerator.org

www.MedChecker.com

www.SeekFreak.com

www.Syncrisis.com

www.Presearcher.com

www.SirSeek.com

www.FotoTrix.com

www.BoobSigns.com

www.Canuckster.com

me.ddleso.me

www.9lbs.com

www.TXT2PIC.com

www.FakeMagazineCover.com

www.Trollize.com

www.FanSignGenerator.com

www.Holy-Bibles.org

www.Is-A-Jerk.com

www.HolyBibleSearch.com
www.SillyWebcam.com
www.SillyScenes.com
www.Seekerific.com
www.Nerdful.com
www.BodySwitcher.com
www.13KG.com
www.SpareSomeChange.com
www.FloppyApps.com
www.MaxSpider.com
www.ChatPhobia.com
www.SirSeek.com
www.HappyFaceGenerator.com
www.DangerSignGenerator.com
HolyBiblesSearch:
Internet Search:

www.WHAK.com

www.MAKE-A-MEME.com
www.HolyBibleVerse.com

www.SignGenerator.org

www.MedChecker.com

www.SeekFreak.com

www.Syncrisis.com

www.Presearcher.com

www.SirSeek.com

www.FotoTrix.com

www.BoobSigns.com

www.Canuckster.com

me.ddleso.me

www.9lbs.com

www.TXT2PIC.com

www.FakeMagazineCover.com

www.Trollize.com

www.FanSignGenerator.com

www.Holy-Bibles.org

www.Is-A-Jerk.com

www.HolyBibleSearch.com
www.SillyWebcam.com
www.SillyScenes.com
www.Seekerific.com
www.Nerdful.com
www.BodySwitcher.com
www.13KG.com
www.SpareSomeChange.com
www.FloppyApps.com
www.MaxSpider.com
www.ChatPhobia.com
www.SirSeek.com
www.HappyFaceGenerator.com
www.DangerSignGenerator.com
HolyBiblesSearch:
Internet Search:

www.WHAK.com

www.MAKE-A-MEME.com
www.HolyBibleVerse.com

www.SignGenerator.org

www.MedChecker.com

www.SeekFreak.com

www.Syncrisis.com

www.Presearcher.com

www.SirSeek.com

www.FotoTrix.com

www.BoobSigns.com

www.Canuckster.com

me.ddleso.me

www.9lbs.com

www.TXT2PIC.com

www.FakeMagazineCover.com

www.Trollize.com

www.FanSignGenerator.com

www.Holy-Bibles.org

www.Is-A-Jerk.com

www.HolyBibleSearch.com
www.SillyWebcam.com
www.SillyScenes.com
www.Seekerific.com
www.Nerdful.com
www.BodySwitcher.com
www.13KG.com
www.SpareSomeChange.com
www.FloppyApps.com
www.MaxSpider.com
www.ChatPhobia.com
www.SirSeek.com
www.HappyFaceGenerator.com
www.DangerSignGenerator.com
HolyBiblesSearch:
Internet Search:

www.WHAK.com

www.MAKE-A-MEME.com
www.HolyBibleVerse.com

www.SignGenerator.org

www.MedChecker.com

www.SeekFreak.com

www.Syncrisis.com

www.Presearcher.com

www.SirSeek.com

www.FotoTrix.com

www.BoobSigns.com

www.Canuckster.com

me.ddleso.me

www.9lbs.com

www.TXT2PIC.com

www.FakeMagazineCover.com

www.Trollize.com

www.FanSignGenerator.com

www.Holy-Bibles.org

www.Is-A-Jerk.com

www.HolyBibleSearch.com
www.SillyWebcam.com
www.SillyScenes.com
www.Seekerific.com
www.Nerdful.com
www.BodySwitcher.com
www.13KG.com
www.SpareSomeChange.com
www.FloppyApps.com
www.MaxSpider.com
www.ChatPhobia.com
www.SirSeek.com
www.HappyFaceGenerator.com
www.DangerSignGenerator.com
HolyBiblesSearch:
Internet Search:

www.WHAK.com

www.MAKE-A-MEME.com
www.HolyBibleVerse.com

www.SignGenerator.org

www.MedChecker.com

www.SeekFreak.com

www.Syncrisis.com

www.Presearcher.com

www.SirSeek.com

www.FotoTrix.com

www.BoobSigns.com

www.Canuckster.com

me.ddleso.me

www.9lbs.com

www.TXT2PIC.com

www.FakeMagazineCover.com

www.Trollize.com

www.FanSignGenerator.com

www.Holy-Bibles.org

www.Is-A-Jerk.com

www.HolyBibleSearch.com
www.SillyWebcam.com
www.SillyScenes.com
www.Seekerific.com
www.Nerdful.com
www.BodySwitcher.com
www.13KG.com
www.SpareSomeChange.com
www.FloppyApps.com
www.MaxSpider.com
www.ChatPhobia.com
www.SirSeek.com
www.HappyFaceGenerator.com
www.DangerSignGenerator.com
HolyBiblesSearch:
Internet Search:

www.WHAK.com

www.MAKE-A-MEME.com
www.HolyBibleVerse.com

www.SignGenerator.org

www.MedChecker.com

www.SeekFreak.com

www.Syncrisis.com

www.Presearcher.com

www.SirSeek.com

www.FotoTrix.com

www.BoobSigns.com

www.Canuckster.com

me.ddleso.me

www.9lbs.com

www.TXT2PIC.com

www.FakeMagazineCover.com

www.Trollize.com

www.FanSignGenerator.com

www.Holy-Bibles.org

www.Is-A-Jerk.com

www.HolyBibleSearch.com
www.SillyWebcam.com
www.SillyScenes.com
www.Seekerific.com
www.Nerdful.com
www.BodySwitcher.com
www.13KG.com
www.SpareSomeChange.com
www.FloppyApps.com
www.MaxSpider.com
www.ChatPhobia.com
www.SirSeek.com
www.HappyFaceGenerator.com
www.DangerSignGenerator.com
HolyBiblesSearch:
Internet Search:

www.WHAK.com

www.MAKE-A-MEME.com
www.HolyBibleVerse.com

www.SignGenerator.org

www.MedChecker.com

www.SeekFreak.com

www.Syncrisis.com

www.Presearcher.com

www.SirSeek.com

www.FotoTrix.com

www.BoobSigns.com

www.Canuckster.com

me.ddleso.me

www.9lbs.com

www.TXT2PIC.com

www.FakeMagazineCover.com

www.Trollize.com

www.FanSignGenerator.com

www.Holy-Bibles.org

www.Is-A-Jerk.com

www.HolyBibleSearch.com
www.SillyWebcam.com
www.SillyScenes.com
www.Seekerific.com
www.Nerdful.com
www.BodySwitcher.com
www.13KG.com
www.SpareSomeChange.com
www.FloppyApps.com
www.MaxSpider.com
www.ChatPhobia.com
www.SirSeek.com
www.HappyFaceGenerator.com
www.DangerSignGenerator.com
HolyBiblesSearch:
Internet Search:

www.WHAK.com

www.MAKE-A-MEME.com
www.HolyBibleVerse.com

www.SignGenerator.org

www.MedChecker.com

www.SeekFreak.com

www.Syncrisis.com

www.Presearcher.com

www.SirSeek.com

www.FotoTrix.com

www.BoobSigns.com

www.Canuckster.com

me.ddleso.me

www.9lbs.com

www.TXT2PIC.com

www.FakeMagazineCover.com

www.Trollize.com

www.FanSignGenerator.com

www.Holy-Bibles.org

www.Is-A-Jerk.com

www.HolyBibleSearch.com
www.SillyWebcam.com
www.SillyScenes.com
www.Seekerific.com
www.Nerdful.com
www.BodySwitcher.com
www.13KG.com
www.SpareSomeChange.com
www.FloppyApps.com
www.MaxSpider.com
www.ChatPhobia.com
www.SirSeek.com
www.HappyFaceGenerator.com
www.DangerSignGenerator.com
HolyBiblesSearch:
Internet Search:

www.WHAK.com

www.MAKE-A-MEME.com
www.HolyBibleVerse.com

www.SignGenerator.org

www.MedChecker.com

www.SeekFreak.com

www.Syncrisis.com

www.Presearcher.com

www.SirSeek.com

www.FotoTrix.com

www.BoobSigns.com

www.Canuckster.com

me.ddleso.me

www.9lbs.com

www.TXT2PIC.com

www.FakeMagazineCover.com

www.Trollize.com

www.FanSignGenerator.com

www.Holy-Bibles.org

www.Is-A-Jerk.com

www.HolyBibleSearch.com
www.SillyWebcam.com
www.SillyScenes.com
www.Seekerific.com
www.Nerdful.com
www.BodySwitcher.com
www.13KG.com
www.SpareSomeChange.com
www.FloppyApps.com
www.MaxSpider.com
www.ChatPhobia.com
www.SirSeek.com
www.HappyFaceGenerator.com
www.DangerSignGenerator.com
HolyBiblesSearch:
Internet Search:

www.WHAK.com

www.MAKE-A-MEME.com
www.HolyBibleVerse.com

www.SignGenerator.org

www.MedChecker.com

www.SeekFreak.com

www.Syncrisis.com

www.Presearcher.com

www.SirSeek.com

www.FotoTrix.com

www.BoobSigns.com

www.Canuckster.com

me.ddleso.me

www.9lbs.com

www.TXT2PIC.com

www.FakeMagazineCover.com

www.Trollize.com

www.FanSignGenerator.com

www.Holy-Bibles.org

www.Is-A-Jerk.com

www.HolyBibleSearch.com
www.SillyWebcam.com
www.SillyScenes.com
www.Seekerific.com
www.Nerdful.com
www.BodySwitcher.com
www.13KG.com
www.SpareSomeChange.com
www.FloppyApps.com
www.MaxSpider.com
www.ChatPhobia.com
www.SirSeek.com
www.HappyFaceGenerator.com
www.DangerSignGenerator.com
HolyBiblesSearch:
Internet Search:

www.WHAK.com

www.MAKE-A-MEME.com
www.HolyBibleVerse.com

www.SignGenerator.org

www.MedChecker.com

www.SeekFreak.com

www.Syncrisis.com

www.Presearcher.com

www.SirSeek.com

www.FotoTrix.com

www.BoobSigns.com

www.Canuckster.com

me.ddleso.me

www.9lbs.com

www.TXT2PIC.com

www.FakeMagazineCover.com

www.Trollize.com

www.FanSignGenerator.com

www.Holy-Bibles.org

www.Is-A-Jerk.com

www.HolyBibleSearch.com
www.SillyWebcam.com
www.SillyScenes.com
www.Seekerific.com
www.Nerdful.com
www.BodySwitcher.com
www.13KG.com
www.SpareSomeChange.com
www.FloppyApps.com
www.MaxSpider.com
www.ChatPhobia.com
www.SirSeek.com
www.HappyFaceGenerator.com
www.DangerSignGenerator.com
HolyBiblesSearch:
Internet Search:

www.WHAK.com

www.MAKE-A-MEME.com
www.HolyBibleVerse.com

www.SignGenerator.org

www.MedChecker.com

www.SeekFreak.com

www.Syncrisis.com

www.Presearcher.com

www.SirSeek.com

www.FotoTrix.com

www.BoobSigns.com

www.Canuckster.com

me.ddleso.me

www.9lbs.com

www.TXT2PIC.com

www.FakeMagazineCover.com

www.Trollize.com

www.FanSignGenerator.com

www.Holy-Bibles.org

www.Is-A-Jerk.com

www.HolyBibleSearch.com
www.SillyWebcam.com
www.SillyScenes.com
www.Seekerific.com
www.Nerdful.com
www.BodySwitcher.com
www.13KG.com
www.SpareSomeChange.com
www.FloppyApps.com
www.MaxSpider.com
www.ChatPhobia.com
www.SirSeek.com
www.HappyFaceGenerator.com
www.DangerSignGenerator.com
HolyBiblesSearch:
Internet Search:

www.WHAK.com

www.MAKE-A-MEME.com
www.HolyBibleVerse.com

www.SignGenerator.org

www.MedChecker.com

www.SeekFreak.com

www.Syncrisis.com

www.Presearcher.com

www.SirSeek.com

www.FotoTrix.com

www.BoobSigns.com

www.Canuckster.com

me.ddleso.me

www.9lbs.com

www.TXT2PIC.com

www.FakeMagazineCover.com

www.Trollize.com

www.FanSignGenerator.com

www.Holy-Bibles.org

www.Is-A-Jerk.com

www.HolyBibleSearch.com
www.SillyWebcam.com
www.SillyScenes.com
www.Seekerific.com
www.Nerdful.com
www.BodySwitcher.com
www.13KG.com
www.SpareSomeChange.com
www.FloppyApps.com
www.MaxSpider.com
www.ChatPhobia.com
www.SirSeek.com
www.HappyFaceGenerator.com
www.DangerSignGenerator.com
HolyBiblesSearch:
Internet Search:

www.WHAK.com

www.MAKE-A-MEME.com
www.HolyBibleVerse.com

www.SignGenerator.org

www.MedChecker.com

www.SeekFreak.com

www.Syncrisis.com

www.Presearcher.com

www.SirSeek.com

www.FotoTrix.com

www.BoobSigns.com

www.Canuckster.com

me.ddleso.me

www.9lbs.com

www.TXT2PIC.com

www.FakeMagazineCover.com

www.Trollize.com

www.FanSignGenerator.com

www.Holy-Bibles.org

www.Is-A-Jerk.com

www.HolyBibleSearch.com
www.SillyWebcam.com
www.SillyScenes.com
www.Seekerific.com
www.Nerdful.com
www.BodySwitcher.com
www.13KG.com
www.SpareSomeChange.com
www.FloppyApps.com
www.MaxSpider.com
www.ChatPhobia.com
www.SirSeek.com
www.HappyFaceGenerator.com
www.DangerSignGenerator.com
HolyBiblesSearch:
Internet Search:

www.WHAK.com

www.MAKE-A-MEME.com
www.HolyBibleVerse.com

www.SignGenerator.org

www.MedChecker.com

www.SeekFreak.com

www.Syncrisis.com

www.Presearcher.com

www.SirSeek.com

www.FotoTrix.com

www.BoobSigns.com

www.Canuckster.com

me.ddleso.me

www.9lbs.com

www.TXT2PIC.com

www.FakeMagazineCover.com

www.Trollize.com

www.FanSignGenerator.com

www.Holy-Bibles.org

www.Is-A-Jerk.com

www.HolyBibleSearch.com
www.SillyWebcam.com
www.SillyScenes.com
www.Seekerific.com
www.Nerdful.com
www.BodySwitcher.com
www.13KG.com
www.SpareSomeChange.com
www.FloppyApps.com
www.MaxSpider.com
www.ChatPhobia.com
www.SirSeek.com
www.HappyFaceGenerator.com
www.DangerSignGenerator.com
HolyBiblesSearch:
Internet Search:

www.WHAK.com

www.MAKE-A-MEME.com
www.HolyBibleVerse.com

www.SignGenerator.org

www.MedChecker.com

www.SeekFreak.com

www.Syncrisis.com

www.Presearcher.com

www.SirSeek.com

www.FotoTrix.com

www.BoobSigns.com

www.Canuckster.com

me.ddleso.me

www.9lbs.com

www.TXT2PIC.com

www.FakeMagazineCover.com

www.Trollize.com

www.FanSignGenerator.com

www.Holy-Bibles.org

www.Is-A-Jerk.com

www.HolyBibleSearch.com
www.SillyWebcam.com
www.SillyScenes.com
www.Seekerific.com
www.Nerdful.com
www.BodySwitcher.com
www.13KG.com
www.SpareSomeChange.com
www.FloppyApps.com
www.MaxSpider.com
www.ChatPhobia.com
www.SirSeek.com
www.HappyFaceGenerator.com
www.DangerSignGenerator.com
HolyBiblesSearch:
Internet Search:

www.WHAK.com

www.MAKE-A-MEME.com
www.HolyBibleVerse.com

www.SignGenerator.org

www.MedChecker.com

www.SeekFreak.com

www.Syncrisis.com

www.Presearcher.com

www.SirSeek.com

www.FotoTrix.com

www.BoobSigns.com

www.Canuckster.com

me.ddleso.me

www.9lbs.com

www.TXT2PIC.com

www.FakeMagazineCover.com

www.Trollize.com

www.FanSignGenerator.com

www.Holy-Bibles.org

www.Is-A-Jerk.com

www.HolyBibleSearch.com
www.SillyWebcam.com
www.SillyScenes.com
www.Seekerific.com
www.Nerdful.com
www.BodySwitcher.com
www.13KG.com
www.SpareSomeChange.com
www.FloppyApps.com
www.MaxSpider.com
www.ChatPhobia.com
www.SirSeek.com
www.HappyFaceGenerator.com
www.DangerSignGenerator.com
HolyBiblesSearch:
Internet Search:

www.WHAK.com

www.MAKE-A-MEME.com
www.HolyBibleVerse.com

www.SignGenerator.org

www.MedChecker.com

www.SeekFreak.com

www.Syncrisis.com

www.Presearcher.com

www.SirSeek.com

www.FotoTrix.com

www.BoobSigns.com

www.Canuckster.com

me.ddleso.me

www.9lbs.com

www.TXT2PIC.com

www.FakeMagazineCover.com

www.Trollize.com

www.FanSignGenerator.com

www.Holy-Bibles.org

www.Is-A-Jerk.com

www.HolyBibleSearch.com
www.SillyWebcam.com
www.SillyScenes.com
www.Seekerific.com
www.Nerdful.com
www.BodySwitcher.com
www.13KG.com
www.SpareSomeChange.com
www.FloppyApps.com
www.MaxSpider.com
www.ChatPhobia.com
www.SirSeek.com
www.HappyFaceGenerator.com
www.DangerSignGenerator.com
HolyBiblesSearch:
Internet Search:

www.WHAK.com

www.MAKE-A-MEME.com
www.HolyBibleVerse.com

www.SignGenerator.org

www.MedChecker.com

www.SeekFreak.com

www.Syncrisis.com

www.Presearcher.com

www.SirSeek.com

www.FotoTrix.com

www.BoobSigns.com

www.Canuckster.com

me.ddleso.me

www.9lbs.com

www.TXT2PIC.com

www.FakeMagazineCover.com

www.Trollize.com

www.FanSignGenerator.com

www.Holy-Bibles.org

www.Is-A-Jerk.com

www.HolyBibleSearch.com
www.SillyWebcam.com
www.SillyScenes.com
www.Seekerific.com
www.Nerdful.com
www.BodySwitcher.com
www.13KG.com
www.SpareSomeChange.com
www.FloppyApps.com
www.MaxSpider.com
www.ChatPhobia.com
www.SirSeek.com
www.HappyFaceGenerator.com
www.DangerSignGenerator.com
HolyBiblesSearch:
Internet Search:

www.WHAK.com

www.MAKE-A-MEME.com
www.HolyBibleVerse.com

www.SignGenerator.org

www.MedChecker.com

www.SeekFreak.com

www.Syncrisis.com

www.Presearcher.com

www.SirSeek.com

www.FotoTrix.com

www.BoobSigns.com

www.Canuckster.com

me.ddleso.me

www.9lbs.com

www.TXT2PIC.com

www.FakeMagazineCover.com

www.Trollize.com

www.FanSignGenerator.com

www.Holy-Bibles.org

www.Is-A-Jerk.com

www.HolyBibleSearch.com
www.SillyWebcam.com
www.SillyScenes.com
www.Seekerific.com
www.Nerdful.com
www.BodySwitcher.com
www.13KG.com
www.SpareSomeChange.com
www.FloppyApps.com
www.MaxSpider.com
www.ChatPhobia.com
www.SirSeek.com
www.HappyFaceGenerator.com
www.DangerSignGenerator.com
HolyBiblesSearch:
Internet Search:

www.WHAK.com

www.MAKE-A-MEME.com
www.HolyBibleVerse.com

www.SignGenerator.org

www.MedChecker.com

www.SeekFreak.com

www.Syncrisis.com

www.Presearcher.com

www.SirSeek.com

www.FotoTrix.com

www.BoobSigns.com

www.Canuckster.com

me.ddleso.me

www.9lbs.com

www.TXT2PIC.com

www.FakeMagazineCover.com

www.Trollize.com

www.FanSignGenerator.com

www.Holy-Bibles.org

www.Is-A-Jerk.com

www.HolyBibleSearch.com
www.SillyWebcam.com
www.SillyScenes.com
www.Seekerific.com
www.Nerdful.com
www.BodySwitcher.com
www.13KG.com
www.SpareSomeChange.com
www.FloppyApps.com
www.MaxSpider.com
www.ChatPhobia.com
www.SirSeek.com
www.HappyFaceGenerator.com
www.DangerSignGenerator.com
HolyBiblesSearch:
Internet Search:

www.WHAK.com

www.MAKE-A-MEME.com
www.HolyBibleVerse.com

www.SignGenerator.org

www.MedChecker.com

www.SeekFreak.com

www.Syncrisis.com

www.Presearcher.com

www.SirSeek.com

www.FotoTrix.com

www.BoobSigns.com

www.Canuckster.com

me.ddleso.me

www.9lbs.com

www.TXT2PIC.com

www.FakeMagazineCover.com

www.Trollize.com

www.FanSignGenerator.com

www.Holy-Bibles.org

www.Is-A-Jerk.com

www.HolyBibleSearch.com
www.SillyWebcam.com
www.SillyScenes.com
www.Seekerific.com
www.Nerdful.com
www.BodySwitcher.com
www.13KG.com
www.SpareSomeChange.com
www.FloppyApps.com
www.MaxSpider.com
www.ChatPhobia.com
www.SirSeek.com
www.HappyFaceGenerator.com
www.DangerSignGenerator.com
HolyBiblesSearch:
Internet Search:

www.WHAK.com

www.MAKE-A-MEME.com
www.HolyBibleVerse.com

www.SignGenerator.org

www.MedChecker.com

www.SeekFreak.com

www.Syncrisis.com

www.Presearcher.com

www.SirSeek.com

www.FotoTrix.com

www.BoobSigns.com

www.Canuckster.com

me.ddleso.me

www.9lbs.com

www.TXT2PIC.com

www.FakeMagazineCover.com

www.Trollize.com

www.FanSignGenerator.com

www.Holy-Bibles.org

www.Is-A-Jerk.com

www.HolyBibleSearch.com
www.SillyWebcam.com
www.SillyScenes.com
www.Seekerific.com
www.Nerdful.com
www.BodySwitcher.com
www.13KG.com
www.SpareSomeChange.com
www.FloppyApps.com
www.MaxSpider.com
www.ChatPhobia.com
www.SirSeek.com
www.HappyFaceGenerator.com
www.DangerSignGenerator.com
HolyBiblesSearch:
Internet Search:

www.WHAK.com

www.MAKE-A-MEME.com
www.HolyBibleVerse.com

www.SignGenerator.org

www.MedChecker.com

www.SeekFreak.com

www.Syncrisis.com

www.Presearcher.com

www.SirSeek.com

www.FotoTrix.com

www.BoobSigns.com

www.Canuckster.com

me.ddleso.me

www.9lbs.com

www.TXT2PIC.com

www.FakeMagazineCover.com

www.Trollize.com

www.FanSignGenerator.com

www.Holy-Bibles.org

www.Is-A-Jerk.com

www.HolyBibleSearch.com
www.SillyWebcam.com
www.SillyScenes.com
www.Seekerific.com
www.Nerdful.com
www.BodySwitcher.com
www.13KG.com
www.SpareSomeChange.com
www.FloppyApps.com
www.MaxSpider.com
www.ChatPhobia.com
www.SirSeek.com
www.HappyFaceGenerator.com
www.DangerSignGenerator.com
HolyBiblesSearch:
Internet Search:

www.WHAK.com

www.MAKE-A-MEME.com
www.HolyBibleVerse.com

www.SignGenerator.org

www.MedChecker.com

www.SeekFreak.com

www.Syncrisis.com

www.Presearcher.com

www.SirSeek.com

www.FotoTrix.com

www.BoobSigns.com

www.Canuckster.com

me.ddleso.me

www.9lbs.com

www.TXT2PIC.com

www.FakeMagazineCover.com

www.Trollize.com

www.FanSignGenerator.com

www.Holy-Bibles.org

www.Is-A-Jerk.com

www.HolyBibleSearch.com
www.SillyWebcam.com
www.SillyScenes.com
www.Seekerific.com
www.Nerdful.com
www.BodySwitcher.com
www.13KG.com
www.SpareSomeChange.com
www.FloppyApps.com
www.MaxSpider.com
www.ChatPhobia.com
www.SirSeek.com
www.HappyFaceGenerator.com
www.DangerSignGenerator.com
HolyBiblesSearch:
Internet Search:

www.WHAK.com

www.MAKE-A-MEME.com
www.HolyBibleVerse.com

www.SignGenerator.org

www.MedChecker.com

www.SeekFreak.com

www.Syncrisis.com

www.Presearcher.com

www.SirSeek.com

www.FotoTrix.com

www.BoobSigns.com

www.Canuckster.com

me.ddleso.me

www.9lbs.com

www.TXT2PIC.com

www.FakeMagazineCover.com

www.Trollize.com

www.FanSignGenerator.com

www.Holy-Bibles.org

www.Is-A-Jerk.com

www.HolyBibleSearch.com
www.SillyWebcam.com
www.SillyScenes.com
www.Seekerific.com
www.Nerdful.com
www.BodySwitcher.com
www.13KG.com
www.SpareSomeChange.com
www.FloppyApps.com
www.MaxSpider.com
www.ChatPhobia.com
www.SirSeek.com
www.HappyFaceGenerator.com
www.DangerSignGenerator.com
HolyBiblesSearch:
Internet Search:

www.WHAK.com

www.MAKE-A-MEME.com
www.HolyBibleVerse.com

www.SignGenerator.org

www.MedChecker.com

www.SeekFreak.com

www.Syncrisis.com

www.Presearcher.com

www.SirSeek.com

www.FotoTrix.com

www.BoobSigns.com

www.Canuckster.com

me.ddleso.me

www.9lbs.com

www.TXT2PIC.com

www.FakeMagazineCover.com

www.Trollize.com

www.FanSignGenerator.com

www.Holy-Bibles.org

www.Is-A-Jerk.com

www.HolyBibleSearch.com
www.SillyWebcam.com
www.SillyScenes.com
www.Seekerific.com
www.Nerdful.com
www.BodySwitcher.com
www.13KG.com
www.SpareSomeChange.com
www.FloppyApps.com
www.MaxSpider.com
www.ChatPhobia.com
www.SirSeek.com
www.HappyFaceGenerator.com
www.DangerSignGenerator.com
HolyBiblesSearch:
Internet Search:

www.WHAK.com

www.MAKE-A-MEME.com
www.HolyBibleVerse.com

www.SignGenerator.org

www.MedChecker.com

www.SeekFreak.com

www.Syncrisis.com

www.Presearcher.com

www.SirSeek.com

www.FotoTrix.com

www.BoobSigns.com

www.Canuckster.com

me.ddleso.me

www.9lbs.com

www.TXT2PIC.com

www.FakeMagazineCover.com

www.Trollize.com

www.FanSignGenerator.com

www.Holy-Bibles.org

www.Is-A-Jerk.com

www.HolyBibleSearch.com
www.SillyWebcam.com
www.SillyScenes.com
www.Seekerific.com
www.Nerdful.com
www.BodySwitcher.com
www.13KG.com
www.SpareSomeChange.com
www.FloppyApps.com
www.MaxSpider.com
www.ChatPhobia.com
www.SirSeek.com
www.HappyFaceGenerator.com
www.DangerSignGenerator.com
HolyBiblesSearch:
Internet Search:

www.WHAK.com

www.MAKE-A-MEME.com
www.HolyBibleVerse.com

www.SignGenerator.org

www.MedChecker.com

www.SeekFreak.com

www.Syncrisis.com

www.Presearcher.com

www.SirSeek.com

www.FotoTrix.com

www.BoobSigns.com

www.Canuckster.com

me.ddleso.me

www.9lbs.com

www.TXT2PIC.com

www.FakeMagazineCover.com

www.Trollize.com

www.FanSignGenerator.com

www.Holy-Bibles.org

www.Is-A-Jerk.com

www.HolyBibleSearch.com
www.SillyWebcam.com
www.SillyScenes.com
www.Seekerific.com
www.Nerdful.com
www.BodySwitcher.com
www.13KG.com
www.SpareSomeChange.com
www.FloppyApps.com
www.MaxSpider.com
www.ChatPhobia.com
www.SirSeek.com
www.HappyFaceGenerator.com
www.DangerSignGenerator.com
HolyBiblesSearch:
Internet Search:

www.WHAK.com

www.MAKE-A-MEME.com
www.HolyBibleVerse.com

www.SignGenerator.org

www.MedChecker.com

www.SeekFreak.com

www.Syncrisis.com

www.Presearcher.com

www.SirSeek.com

www.FotoTrix.com

www.BoobSigns.com

www.Canuckster.com

me.ddleso.me

www.9lbs.com

www.TXT2PIC.com

www.FakeMagazineCover.com

www.Trollize.com

www.FanSignGenerator.com

www.Holy-Bibles.org

www.Is-A-Jerk.com

www.HolyBibleSearch.com
www.SillyWebcam.com
www.SillyScenes.com
www.Seekerific.com
www.Nerdful.com
www.BodySwitcher.com
www.13KG.com
www.SpareSomeChange.com
www.FloppyApps.com
www.MaxSpider.com
www.ChatPhobia.com
www.SirSeek.com
www.HappyFaceGenerator.com
www.DangerSignGenerator.com
HolyBiblesSearch:
Internet Search:

www.WHAK.com

www.MAKE-A-MEME.com
www.HolyBibleVerse.com

www.SignGenerator.org

www.MedChecker.com

www.SeekFreak.com

www.Syncrisis.com

www.Presearcher.com

www.SirSeek.com

www.FotoTrix.com

www.BoobSigns.com

www.Canuckster.com

me.ddleso.me

www.9lbs.com

www.TXT2PIC.com

www.FakeMagazineCover.com

www.Trollize.com

www.FanSignGenerator.com

www.Holy-Bibles.org

www.Is-A-Jerk.com

www.HolyBibleSearch.com
www.SillyWebcam.com
www.SillyScenes.com
www.Seekerific.com
www.Nerdful.com
www.BodySwitcher.com
www.13KG.com
www.SpareSomeChange.com
www.FloppyApps.com
www.MaxSpider.com
www.ChatPhobia.com
www.SirSeek.com
www.HappyFaceGenerator.com
www.DangerSignGenerator.com
HolyBiblesSearch:
Internet Search:

www.WHAK.com

www.MAKE-A-MEME.com
www.HolyBibleVerse.com

www.SignGenerator.org

www.MedChecker.com

www.SeekFreak.com

www.Syncrisis.com

www.Presearcher.com

www.SirSeek.com

www.FotoTrix.com

www.BoobSigns.com

www.Canuckster.com

me.ddleso.me

www.9lbs.com

www.TXT2PIC.com

www.FakeMagazineCover.com

www.Trollize.com

www.FanSignGenerator.com

www.Holy-Bibles.org

www.Is-A-Jerk.com

www.HolyBibleSearch.com
www.SillyWebcam.com
www.SillyScenes.com
www.Seekerific.com
www.Nerdful.com
www.BodySwitcher.com
www.13KG.com
www.SpareSomeChange.com
www.FloppyApps.com
www.MaxSpider.com
www.ChatPhobia.com
www.SirSeek.com
www.HappyFaceGenerator.com
www.DangerSignGenerator.com
HolyBiblesSearch:
Internet Search:

www.WHAK.com

www.MAKE-A-MEME.com
www.HolyBibleVerse.com

www.SignGenerator.org

www.MedChecker.com

www.SeekFreak.com

www.Syncrisis.com

www.Presearcher.com

www.SirSeek.com

www.FotoTrix.com

www.BoobSigns.com

www.Canuckster.com

me.ddleso.me

www.9lbs.com

www.TXT2PIC.com

www.FakeMagazineCover.com

www.Trollize.com

www.FanSignGenerator.com

www.Holy-Bibles.org

www.Is-A-Jerk.com

www.HolyBibleSearch.com
www.SillyWebcam.com
www.SillyScenes.com
www.Seekerific.com
www.Nerdful.com
www.BodySwitcher.com
www.13KG.com
www.SpareSomeChange.com
www.FloppyApps.com
www.MaxSpider.com
www.ChatPhobia.com
www.SirSeek.com
www.HappyFaceGenerator.com
www.DangerSignGenerator.com
HolyBiblesSearch:
Internet Search:

www.WHAK.com

www.MAKE-A-MEME.com
www.HolyBibleVerse.com

www.SignGenerator.org

www.MedChecker.com

www.SeekFreak.com

www.Syncrisis.com

www.Presearcher.com

www.SirSeek.com

www.FotoTrix.com

www.BoobSigns.com

www.Canuckster.com

me.ddleso.me

www.9lbs.com

www.TXT2PIC.com

www.FakeMagazineCover.com

www.Trollize.com

www.FanSignGenerator.com

www.Holy-Bibles.org

www.Is-A-Jerk.com

www.HolyBibleSearch.com
www.SillyWebcam.com
www.SillyScenes.com
www.Seekerific.com
www.Nerdful.com
www.BodySwitcher.com
www.13KG.com
www.SpareSomeChange.com
www.FloppyApps.com
www.MaxSpider.com
www.ChatPhobia.com
www.SirSeek.com
www.HappyFaceGenerator.com
www.DangerSignGenerator.com
HolyBiblesSearch:
Internet Search:

www.WHAK.com

www.MAKE-A-MEME.com
www.HolyBibleVerse.com

www.SignGenerator.org

www.MedChecker.com

www.SeekFreak.com

www.Syncrisis.com

www.Presearcher.com

www.SirSeek.com

www.FotoTrix.com

www.BoobSigns.com

www.Canuckster.com

me.ddleso.me

www.9lbs.com

www.TXT2PIC.com

www.FakeMagazineCover.com

www.Trollize.com

www.FanSignGenerator.com

www.Holy-Bibles.org

www.Is-A-Jerk.com

www.HolyBibleSearch.com
www.SillyWebcam.com
www.SillyScenes.com
www.Seekerific.com
www.Nerdful.com
www.BodySwitcher.com
www.13KG.com
www.SpareSomeChange.com
www.FloppyApps.com
www.MaxSpider.com
www.ChatPhobia.com
www.SirSeek.com
www.HappyFaceGenerator.com
www.DangerSignGenerator.com
HolyBiblesSearch:
Internet Search:

www.WHAK.com

www.MAKE-A-MEME.com
www.HolyBibleVerse.com

www.SignGenerator.org

www.MedChecker.com

www.SeekFreak.com

www.Syncrisis.com

www.Presearcher.com

www.SirSeek.com

www.FotoTrix.com

www.BoobSigns.com

www.Canuckster.com

me.ddleso.me

www.9lbs.com

www.TXT2PIC.com

www.FakeMagazineCover.com

www.Trollize.com

www.FanSignGenerator.com

www.Holy-Bibles.org

www.Is-A-Jerk.com

www.HolyBibleSearch.com
www.SillyWebcam.com
www.SillyScenes.com
www.Seekerific.com
www.Nerdful.com
www.BodySwitcher.com
www.13KG.com
www.SpareSomeChange.com
www.FloppyApps.com
www.MaxSpider.com
www.ChatPhobia.com
www.SirSeek.com
www.HappyFaceGenerator.com
www.DangerSignGenerator.com
HolyBiblesSearch:
Internet Search:

www.WHAK.com

www.MAKE-A-MEME.com
www.HolyBibleVerse.com

www.SignGenerator.org

www.MedChecker.com

www.SeekFreak.com

www.Syncrisis.com

www.Presearcher.com

www.SirSeek.com

www.FotoTrix.com

www.BoobSigns.com

www.Canuckster.com

me.ddleso.me

www.9lbs.com

www.TXT2PIC.com

www.FakeMagazineCover.com

www.Trollize.com

www.FanSignGenerator.com

www.Holy-Bibles.org

www.Is-A-Jerk.com

www.HolyBibleSearch.com
www.SillyWebcam.com
www.SillyScenes.com
www.Seekerific.com
www.Nerdful.com
www.BodySwitcher.com
www.13KG.com
www.SpareSomeChange.com
www.FloppyApps.com
www.MaxSpider.com
www.ChatPhobia.com
www.SirSeek.com
www.HappyFaceGenerator.com
www.DangerSignGenerator.com
HolyBiblesSearch:
Internet Search:

www.WHAK.com

www.MAKE-A-MEME.com
www.HolyBibleVerse.com

www.SignGenerator.org

www.MedChecker.com

www.SeekFreak.com

www.Syncrisis.com

www.Presearcher.com

www.SirSeek.com

www.FotoTrix.com

www.BoobSigns.com

www.Canuckster.com

me.ddleso.me

www.9lbs.com

www.TXT2PIC.com

www.FakeMagazineCover.com

www.Trollize.com

www.FanSignGenerator.com

www.Holy-Bibles.org

www.Is-A-Jerk.com

www.HolyBibleSearch.com
www.SillyWebcam.com
www.SillyScenes.com
www.Seekerific.com
www.Nerdful.com
www.BodySwitcher.com
www.13KG.com
www.SpareSomeChange.com
www.FloppyApps.com
www.MaxSpider.com
www.ChatPhobia.com
www.SirSeek.com
www.HappyFaceGenerator.com
www.DangerSignGenerator.com
HolyBiblesSearch:
Internet Search:

www.WHAK.com

www.MAKE-A-MEME.com
www.HolyBibleVerse.com

www.SignGenerator.org

www.MedChecker.com

www.SeekFreak.com

www.Syncrisis.com

www.Presearcher.com

www.SirSeek.com

www.FotoTrix.com

www.BoobSigns.com

www.Canuckster.com

me.ddleso.me

www.9lbs.com

www.TXT2PIC.com

www.FakeMagazineCover.com

www.Trollize.com

www.FanSignGenerator.com

www.Holy-Bibles.org

www.Is-A-Jerk.com

www.HolyBibleSearch.com
www.SillyWebcam.com
www.SillyScenes.com
www.Seekerific.com
www.Nerdful.com
www.BodySwitcher.com
www.13KG.com
www.SpareSomeChange.com
www.FloppyApps.com
www.MaxSpider.com
www.ChatPhobia.com
www.SirSeek.com
www.HappyFaceGenerator.com
www.DangerSignGenerator.com
HolyBiblesSearch:
Internet Search:

www.WHAK.com

www.MAKE-A-MEME.com
www.HolyBibleVerse.com

www.SignGenerator.org

www.MedChecker.com

www.SeekFreak.com

www.Syncrisis.com

www.Presearcher.com

www.SirSeek.com

www.FotoTrix.com

www.BoobSigns.com

www.Canuckster.com

me.ddleso.me

www.9lbs.com

www.TXT2PIC.com

www.FakeMagazineCover.com

www.Trollize.com

www.FanSignGenerator.com

www.Holy-Bibles.org

www.Is-A-Jerk.com

www.HolyBibleSearch.com
www.SillyWebcam.com
www.SillyScenes.com
www.Seekerific.com
www.Nerdful.com
www.BodySwitcher.com
www.13KG.com
www.SpareSomeChange.com
www.FloppyApps.com
www.MaxSpider.com
www.ChatPhobia.com
www.SirSeek.com
www.HappyFaceGenerator.com
www.DangerSignGenerator.com
HolyBiblesSearch:
Internet Search:

www.WHAK.com

www.MAKE-A-MEME.com
www.HolyBibleVerse.com

www.SignGenerator.org

www.MedChecker.com

www.SeekFreak.com

www.Syncrisis.com

www.Presearcher.com

www.SirSeek.com

www.FotoTrix.com

www.BoobSigns.com

www.Canuckster.com

me.ddleso.me

www.9lbs.com

www.TXT2PIC.com

www.FakeMagazineCover.com

www.Trollize.com

www.FanSignGenerator.com

www.Holy-Bibles.org

www.Is-A-Jerk.com

www.HolyBibleSearch.com
www.SillyWebcam.com
www.SillyScenes.com
www.Seekerific.com
www.Nerdful.com
www.BodySwitcher.com
www.13KG.com
www.SpareSomeChange.com
www.FloppyApps.com
www.MaxSpider.com
www.ChatPhobia.com
www.SirSeek.com
www.HappyFaceGenerator.com
www.DangerSignGenerator.com
HolyBiblesSearch:
Internet Search:

www.WHAK.com

www.MAKE-A-MEME.com
www.HolyBibleVerse.com

www.SignGenerator.org

www.MedChecker.com

www.SeekFreak.com

www.Syncrisis.com

www.Presearcher.com

www.SirSeek.com

www.FotoTrix.com

www.BoobSigns.com

www.Canuckster.com

me.ddleso.me

www.9lbs.com

www.TXT2PIC.com

www.FakeMagazineCover.com

www.Trollize.com

www.FanSignGenerator.com

www.Holy-Bibles.org

www.Is-A-Jerk.com

www.HolyBibleSearch.com
www.SillyWebcam.com
www.SillyScenes.com
www.Seekerific.com
www.Nerdful.com
www.BodySwitcher.com
www.13KG.com
www.SpareSomeChange.com
www.FloppyApps.com
www.MaxSpider.com
www.ChatPhobia.com
www.SirSeek.com
www.HappyFaceGenerator.com
www.DangerSignGenerator.com
HolyBiblesSearch:
Internet Search:

www.WHAK.com

www.MAKE-A-MEME.com
www.HolyBibleVerse.com

www.SignGenerator.org

www.MedChecker.com

www.SeekFreak.com

www.Syncrisis.com

www.Presearcher.com

www.SirSeek.com

www.FotoTrix.com

www.BoobSigns.com

www.Canuckster.com

me.ddleso.me

www.9lbs.com

www.TXT2PIC.com

www.FakeMagazineCover.com

www.Trollize.com

www.FanSignGenerator.com

www.Holy-Bibles.org

www.Is-A-Jerk.com

www.HolyBibleSearch.com
www.SillyWebcam.com
www.SillyScenes.com
www.Seekerific.com
www.Nerdful.com
www.BodySwitcher.com
www.13KG.com
www.SpareSomeChange.com
www.FloppyApps.com
www.MaxSpider.com
www.ChatPhobia.com
www.SirSeek.com
www.HappyFaceGenerator.com
www.DangerSignGenerator.com
HolyBiblesSearch:
Internet Search:

www.WHAK.com

www.MAKE-A-MEME.com
www.HolyBibleVerse.com

www.SignGenerator.org

www.MedChecker.com

www.SeekFreak.com

www.Syncrisis.com

www.Presearcher.com

www.SirSeek.com

www.FotoTrix.com

www.BoobSigns.com

www.Canuckster.com

me.ddleso.me

www.9lbs.com

www.TXT2PIC.com

www.FakeMagazineCover.com

www.Trollize.com

www.FanSignGenerator.com

www.Holy-Bibles.org

www.Is-A-Jerk.com

www.HolyBibleSearch.com
www.SillyWebcam.com
www.SillyScenes.com
www.Seekerific.com
www.Nerdful.com
www.BodySwitcher.com
www.13KG.com
www.SpareSomeChange.com
www.FloppyApps.com
www.MaxSpider.com
www.ChatPhobia.com
www.SirSeek.com
www.HappyFaceGenerator.com
www.DangerSignGenerator.com
HolyBiblesSearch:
Internet Search:

www.WHAK.com

www.MAKE-A-MEME.com
www.HolyBibleVerse.com

www.SignGenerator.org

www.MedChecker.com

www.SeekFreak.com

www.Syncrisis.com

www.Presearcher.com

www.SirSeek.com

www.FotoTrix.com

www.BoobSigns.com

www.Canuckster.com

me.ddleso.me

www.9lbs.com

www.TXT2PIC.com

www.FakeMagazineCover.com

www.Trollize.com

www.FanSignGenerator.com

www.Holy-Bibles.org

www.Is-A-Jerk.com

www.HolyBibleSearch.com
www.SillyWebcam.com
www.SillyScenes.com
www.Seekerific.com
www.Nerdful.com
www.BodySwitcher.com
www.13KG.com
www.SpareSomeChange.com
www.FloppyApps.com
www.MaxSpider.com
www.ChatPhobia.com
www.SirSeek.com
www.HappyFaceGenerator.com
www.DangerSignGenerator.com
HolyBiblesSearch:
Internet Search:

www.WHAK.com

www.MAKE-A-MEME.com
www.HolyBibleVerse.com

www.SignGenerator.org

www.MedChecker.com

www.SeekFreak.com

www.Syncrisis.com

www.Presearcher.com

www.SirSeek.com

www.FotoTrix.com

www.BoobSigns.com

www.Canuckster.com

me.ddleso.me

www.9lbs.com

www.TXT2PIC.com

www.FakeMagazineCover.com

www.Trollize.com

www.FanSignGenerator.com

www.Holy-Bibles.org

www.Is-A-Jerk.com

www.HolyBibleSearch.com
www.SillyWebcam.com
www.SillyScenes.com
www.Seekerific.com
www.Nerdful.com
www.BodySwitcher.com
www.13KG.com
www.SpareSomeChange.com
www.FloppyApps.com
www.MaxSpider.com
www.ChatPhobia.com
www.SirSeek.com
www.HappyFaceGenerator.com
www.DangerSignGenerator.com
HolyBiblesSearch:
Internet Search:

www.WHAK.com

www.MAKE-A-MEME.com
www.HolyBibleVerse.com

www.SignGenerator.org

www.MedChecker.com

www.SeekFreak.com

www.Syncrisis.com

www.Presearcher.com

www.SirSeek.com

www.FotoTrix.com

www.BoobSigns.com

www.Canuckster.com

me.ddleso.me

www.9lbs.com

www.TXT2PIC.com

www.FakeMagazineCover.com

www.Trollize.com

www.FanSignGenerator.com

www.Holy-Bibles.org

www.Is-A-Jerk.com

www.HolyBibleSearch.com
www.SillyWebcam.com
www.SillyScenes.com
www.Seekerific.com
www.Nerdful.com
www.BodySwitcher.com
www.13KG.com
www.SpareSomeChange.com
www.FloppyApps.com
www.MaxSpider.com
www.ChatPhobia.com
www.SirSeek.com
www.HappyFaceGenerator.com
www.DangerSignGenerator.com
HolyBiblesSearch:
Internet Search:

www.WHAK.com

www.MAKE-A-MEME.com
www.HolyBibleVerse.com

www.SignGenerator.org

www.MedChecker.com

www.SeekFreak.com

www.Syncrisis.com

www.Presearcher.com

www.SirSeek.com

www.FotoTrix.com

www.BoobSigns.com

www.Canuckster.com

me.ddleso.me

www.9lbs.com

www.TXT2PIC.com

www.FakeMagazineCover.com

www.Trollize.com

www.FanSignGenerator.com

www.Holy-Bibles.org

www.Is-A-Jerk.com

www.HolyBibleSearch.com
www.SillyWebcam.com
www.SillyScenes.com
www.Seekerific.com
www.Nerdful.com
www.BodySwitcher.com
www.13KG.com
www.SpareSomeChange.com
www.FloppyApps.com
www.MaxSpider.com
www.ChatPhobia.com
www.SirSeek.com
www.HappyFaceGenerator.com
www.DangerSignGenerator.com
HolyBiblesSearch:
Internet Search:

www.WHAK.com

www.MAKE-A-MEME.com
www.HolyBibleVerse.com

www.SignGenerator.org

www.MedChecker.com

www.SeekFreak.com

www.Syncrisis.com

www.Presearcher.com

www.SirSeek.com

www.FotoTrix.com

www.BoobSigns.com

www.Canuckster.com

me.ddleso.me

www.9lbs.com

www.TXT2PIC.com

www.FakeMagazineCover.com

www.Trollize.com

www.FanSignGenerator.com

www.Holy-Bibles.org

www.Is-A-Jerk.com

www.HolyBibleSearch.com
www.SillyWebcam.com
www.SillyScenes.com
www.Seekerific.com
www.Nerdful.com
www.BodySwitcher.com
www.13KG.com
www.SpareSomeChange.com
www.FloppyApps.com
www.MaxSpider.com
www.ChatPhobia.com
www.SirSeek.com
www.HappyFaceGenerator.com
www.DangerSignGenerator.com
HolyBiblesSearch:
Internet Search:

www.WHAK.com

www.MAKE-A-MEME.com
www.HolyBibleVerse.com

www.SignGenerator.org

www.MedChecker.com

www.SeekFreak.com

www.Syncrisis.com

www.Presearcher.com

www.SirSeek.com

www.FotoTrix.com

www.BoobSigns.com

www.Canuckster.com

me.ddleso.me

www.9lbs.com

www.TXT2PIC.com

www.FakeMagazineCover.com

www.Trollize.com

www.FanSignGenerator.com

www.Holy-Bibles.org

www.Is-A-Jerk.com

www.HolyBibleSearch.com
www.SillyWebcam.com
www.SillyScenes.com
www.Seekerific.com
www.Nerdful.com
www.BodySwitcher.com
www.13KG.com
www.SpareSomeChange.com
www.FloppyApps.com
www.MaxSpider.com
www.ChatPhobia.com
www.SirSeek.com
www.HappyFaceGenerator.com
www.DangerSignGenerator.com
HolyBiblesSearch:
Internet Search:

www.WHAK.com

www.MAKE-A-MEME.com
www.HolyBibleVerse.com

www.SignGenerator.org

www.MedChecker.com

www.SeekFreak.com

www.Syncrisis.com

www.Presearcher.com

www.SirSeek.com

www.FotoTrix.com

www.BoobSigns.com

www.Canuckster.com

me.ddleso.me

www.9lbs.com

www.TXT2PIC.com

www.FakeMagazineCover.com

www.Trollize.com

www.FanSignGenerator.com

www.Holy-Bibles.org

www.Is-A-Jerk.com

www.HolyBibleSearch.com
www.SillyWebcam.com
www.SillyScenes.com
www.Seekerific.com
www.Nerdful.com
www.BodySwitcher.com
www.13KG.com
www.SpareSomeChange.com
www.FloppyApps.com
www.MaxSpider.com
www.ChatPhobia.com
www.SirSeek.com
www.HappyFaceGenerator.com
www.DangerSignGenerator.com
HolyBiblesSearch:
Internet Search:

www.WHAK.com

www.MAKE-A-MEME.com
www.HolyBibleVerse.com

www.SignGenerator.org

www.MedChecker.com

www.SeekFreak.com

www.Syncrisis.com

www.Presearcher.com

www.SirSeek.com

www.FotoTrix.com

www.BoobSigns.com

www.Canuckster.com

me.ddleso.me

www.9lbs.com

www.TXT2PIC.com

www.FakeMagazineCover.com

www.Trollize.com

www.FanSignGenerator.com

www.Holy-Bibles.org

www.Is-A-Jerk.com

www.HolyBibleSearch.com
www.SillyWebcam.com
www.SillyScenes.com
www.Seekerific.com
www.Nerdful.com
www.BodySwitcher.com
www.13KG.com
www.SpareSomeChange.com
www.FloppyApps.com
www.MaxSpider.com
www.ChatPhobia.com
www.SirSeek.com
www.HappyFaceGenerator.com
www.DangerSignGenerator.com
HolyBiblesSearch:
Internet Search:

www.WHAK.com

www.MAKE-A-MEME.com
www.HolyBibleVerse.com

www.SignGenerator.org

www.MedChecker.com

www.SeekFreak.com

www.Syncrisis.com

www.Presearcher.com

www.SirSeek.com

www.FotoTrix.com

www.BoobSigns.com

www.Canuckster.com

me.ddleso.me

www.9lbs.com

www.TXT2PIC.com

www.FakeMagazineCover.com

www.Trollize.com

www.FanSignGenerator.com

www.Holy-Bibles.org

www.Is-A-Jerk.com

www.HolyBibleSearch.com
www.SillyWebcam.com
www.SillyScenes.com
www.Seekerific.com
www.Nerdful.com
www.BodySwitcher.com
www.13KG.com
www.SpareSomeChange.com
www.FloppyApps.com
www.MaxSpider.com
www.ChatPhobia.com
www.SirSeek.com
www.HappyFaceGenerator.com
www.DangerSignGenerator.com
HolyBiblesSearch:
Internet Search:

www.WHAK.com

www.MAKE-A-MEME.com
www.HolyBibleVerse.com

www.SignGenerator.org

www.MedChecker.com

www.SeekFreak.com

www.Syncrisis.com

www.Presearcher.com

www.SirSeek.com

www.FotoTrix.com

www.BoobSigns.com

www.Canuckster.com

me.ddleso.me

www.9lbs.com

www.TXT2PIC.com

www.FakeMagazineCover.com

www.Trollize.com

www.FanSignGenerator.com

www.Holy-Bibles.org

www.Is-A-Jerk.com

www.HolyBibleSearch.com
www.SillyWebcam.com
www.SillyScenes.com
www.Seekerific.com
www.Nerdful.com
www.BodySwitcher.com
www.13KG.com
www.SpareSomeChange.com
www.FloppyApps.com
www.MaxSpider.com
www.ChatPhobia.com
www.SirSeek.com
www.HappyFaceGenerator.com
www.DangerSignGenerator.com
HolyBiblesSearch:
Internet Search:

www.WHAK.com

www.MAKE-A-MEME.com
www.HolyBibleVerse.com

www.SignGenerator.org

www.MedChecker.com

www.SeekFreak.com

www.Syncrisis.com

www.Presearcher.com

www.SirSeek.com

www.FotoTrix.com

www.BoobSigns.com

www.Canuckster.com

me.ddleso.me

www.9lbs.com

www.TXT2PIC.com

www.FakeMagazineCover.com

www.Trollize.com

www.FanSignGenerator.com

www.Holy-Bibles.org

www.Is-A-Jerk.com

www.HolyBibleSearch.com
www.SillyWebcam.com
www.SillyScenes.com
www.Seekerific.com
www.Nerdful.com
www.BodySwitcher.com
www.13KG.com
www.SpareSomeChange.com
www.FloppyApps.com
www.MaxSpider.com
www.ChatPhobia.com
www.SirSeek.com
www.HappyFaceGenerator.com
www.DangerSignGenerator.com
HolyBiblesSearch:
Internet Search:

www.WHAK.com

www.MAKE-A-MEME.com
www.HolyBibleVerse.com

www.SignGenerator.org

www.MedChecker.com

www.SeekFreak.com

www.Syncrisis.com

www.Presearcher.com

www.SirSeek.com

www.FotoTrix.com

www.BoobSigns.com

www.Canuckster.com

me.ddleso.me

www.9lbs.com

www.TXT2PIC.com

www.FakeMagazineCover.com

www.Trollize.com

www.FanSignGenerator.com

www.Holy-Bibles.org

www.Is-A-Jerk.com

www.HolyBibleSearch.com
www.SillyWebcam.com
www.SillyScenes.com
www.Seekerific.com
www.Nerdful.com
www.BodySwitcher.com
www.13KG.com
www.SpareSomeChange.com
www.FloppyApps.com
www.MaxSpider.com
www.ChatPhobia.com
www.SirSeek.com
www.HappyFaceGenerator.com
www.DangerSignGenerator.com
HolyBiblesSearch:
Internet Search:

www.WHAK.com

www.MAKE-A-MEME.com
www.HolyBibleVerse.com

www.SignGenerator.org

www.MedChecker.com

www.SeekFreak.com

www.Syncrisis.com

www.Presearcher.com

www.SirSeek.com

www.FotoTrix.com

www.BoobSigns.com

www.Canuckster.com

me.ddleso.me

www.9lbs.com

www.TXT2PIC.com

www.FakeMagazineCover.com

www.Trollize.com

www.FanSignGenerator.com

www.Holy-Bibles.org

www.Is-A-Jerk.com

www.HolyBibleSearch.com
www.SillyWebcam.com
www.SillyScenes.com
www.Seekerific.com
www.Nerdful.com
www.BodySwitcher.com
www.13KG.com
www.SpareSomeChange.com
www.FloppyApps.com
www.MaxSpider.com
www.ChatPhobia.com
www.SirSeek.com
www.HappyFaceGenerator.com
www.DangerSignGenerator.com
HolyBiblesSearch:
Internet Search:

www.WHAK.com

www.MAKE-A-MEME.com
www.HolyBibleVerse.com

www.SignGenerator.org

www.MedChecker.com

www.SeekFreak.com

www.Syncrisis.com

www.Presearcher.com

www.SirSeek.com

www.FotoTrix.com

www.BoobSigns.com

www.Canuckster.com

me.ddleso.me

www.9lbs.com

www.TXT2PIC.com

www.FakeMagazineCover.com

www.Trollize.com

www.FanSignGenerator.com

www.Holy-Bibles.org

www.Is-A-Jerk.com

www.HolyBibleSearch.com
www.SillyWebcam.com
www.SillyScenes.com
www.Seekerific.com
www.Nerdful.com
www.BodySwitcher.com
www.13KG.com
www.SpareSomeChange.com
www.FloppyApps.com
www.MaxSpider.com
www.ChatPhobia.com
www.SirSeek.com
www.HappyFaceGenerator.com
www.DangerSignGenerator.com
HolyBiblesSearch:
Internet Search:

www.WHAK.com

www.MAKE-A-MEME.com
www.HolyBibleVerse.com

www.SignGenerator.org

www.MedChecker.com

www.SeekFreak.com

www.Syncrisis.com

www.Presearcher.com

www.SirSeek.com

www.FotoTrix.com

www.BoobSigns.com

www.Canuckster.com

me.ddleso.me

www.9lbs.com

www.TXT2PIC.com

www.FakeMagazineCover.com

www.Trollize.com

www.FanSignGenerator.com

www.Holy-Bibles.org

www.Is-A-Jerk.com

www.HolyBibleSearch.com
www.SillyWebcam.com
www.SillyScenes.com
www.Seekerific.com
www.Nerdful.com
www.BodySwitcher.com
www.13KG.com
www.SpareSomeChange.com
www.FloppyApps.com
www.MaxSpider.com
www.ChatPhobia.com
www.SirSeek.com
www.HappyFaceGenerator.com
www.DangerSignGenerator.com
HolyBiblesSearch:
Internet Search:

www.WHAK.com

www.MAKE-A-MEME.com
www.HolyBibleVerse.com

www.SignGenerator.org

www.MedChecker.com

www.SeekFreak.com

www.Syncrisis.com

www.Presearcher.com

www.SirSeek.com

www.FotoTrix.com

www.BoobSigns.com

www.Canuckster.com

me.ddleso.me

www.9lbs.com

www.TXT2PIC.com

www.FakeMagazineCover.com

www.Trollize.com

www.FanSignGenerator.com

www.Holy-Bibles.org

www.Is-A-Jerk.com

www.HolyBibleSearch.com
www.SillyWebcam.com
www.SillyScenes.com
www.Seekerific.com
www.Nerdful.com
www.BodySwitcher.com
www.13KG.com
www.SpareSomeChange.com
www.FloppyApps.com
www.MaxSpider.com
www.ChatPhobia.com
www.SirSeek.com
www.HappyFaceGenerator.com
www.DangerSignGenerator.com
HolyBiblesSearch:
Internet Search:

www.WHAK.com

www.MAKE-A-MEME.com
www.HolyBibleVerse.com

www.SignGenerator.org

www.MedChecker.com

www.SeekFreak.com

www.Syncrisis.com

www.Presearcher.com

www.SirSeek.com

www.FotoTrix.com

www.BoobSigns.com

www.Canuckster.com

me.ddleso.me

www.9lbs.com

www.TXT2PIC.com

www.FakeMagazineCover.com

www.Trollize.com

www.FanSignGenerator.com

www.Holy-Bibles.org

www.Is-A-Jerk.com

www.HolyBibleSearch.com
www.SillyWebcam.com
www.SillyScenes.com
www.Seekerific.com
www.Nerdful.com
www.BodySwitcher.com
www.13KG.com
www.SpareSomeChange.com
www.FloppyApps.com
www.MaxSpider.com
www.ChatPhobia.com
www.SirSeek.com
www.HappyFaceGenerator.com
www.DangerSignGenerator.com
HolyBiblesSearch:
Internet Search:

www.WHAK.com

www.MAKE-A-MEME.com
www.HolyBibleVerse.com

www.SignGenerator.org

www.MedChecker.com

www.SeekFreak.com

www.Syncrisis.com

www.Presearcher.com

www.SirSeek.com

www.FotoTrix.com

www.BoobSigns.com

www.Canuckster.com

me.ddleso.me

www.9lbs.com

www.TXT2PIC.com

www.FakeMagazineCover.com

www.Trollize.com

www.FanSignGenerator.com

www.Holy-Bibles.org

www.Is-A-Jerk.com

www.HolyBibleSearch.com
www.SillyWebcam.com
www.SillyScenes.com
www.Seekerific.com
www.Nerdful.com
www.BodySwitcher.com
www.13KG.com
www.SpareSomeChange.com
www.FloppyApps.com
www.MaxSpider.com
www.ChatPhobia.com
www.SirSeek.com
www.HappyFaceGenerator.com
www.DangerSignGenerator.com
HolyBiblesSearch:
Internet Search:

www.WHAK.com

www.MAKE-A-MEME.com
www.HolyBibleVerse.com

www.SignGenerator.org

www.MedChecker.com

www.SeekFreak.com

www.Syncrisis.com

www.Presearcher.com

www.SirSeek.com

www.FotoTrix.com

www.BoobSigns.com

www.Canuckster.com

me.ddleso.me

www.9lbs.com

www.TXT2PIC.com

www.FakeMagazineCover.com

www.Trollize.com

www.FanSignGenerator.com

www.Holy-Bibles.org

www.Is-A-Jerk.com

www.HolyBibleSearch.com
www.SillyWebcam.com
www.SillyScenes.com
www.Seekerific.com
www.Nerdful.com
www.BodySwitcher.com
www.13KG.com
www.SpareSomeChange.com
www.FloppyApps.com
www.MaxSpider.com
www.ChatPhobia.com
www.SirSeek.com
www.HappyFaceGenerator.com
www.DangerSignGenerator.com
HolyBiblesSearch:
Internet Search:

www.WHAK.com

www.MAKE-A-MEME.com
www.HolyBibleVerse.com

www.SignGenerator.org

www.MedChecker.com

www.SeekFreak.com

www.Syncrisis.com

www.Presearcher.com

www.SirSeek.com

www.FotoTrix.com

www.BoobSigns.com

www.Canuckster.com

me.ddleso.me

www.9lbs.com

www.TXT2PIC.com

www.FakeMagazineCover.com

www.Trollize.com

www.FanSignGenerator.com

www.Holy-Bibles.org

www.Is-A-Jerk.com

www.HolyBibleSearch.com
www.SillyWebcam.com
www.SillyScenes.com
www.Seekerific.com
www.Nerdful.com
www.BodySwitcher.com
www.13KG.com
www.SpareSomeChange.com
www.FloppyApps.com
www.MaxSpider.com
www.ChatPhobia.com
www.SirSeek.com
www.HappyFaceGenerator.com
www.DangerSignGenerator.com
HolyBiblesSearch:
Internet Search:

www.WHAK.com

www.MAKE-A-MEME.com
www.HolyBibleVerse.com

www.SignGenerator.org

www.MedChecker.com

www.SeekFreak.com

www.Syncrisis.com

www.Presearcher.com

www.SirSeek.com

www.FotoTrix.com

www.BoobSigns.com

www.Canuckster.com

me.ddleso.me

www.9lbs.com

www.TXT2PIC.com

www.FakeMagazineCover.com

www.Trollize.com

www.FanSignGenerator.com

www.Holy-Bibles.org

www.Is-A-Jerk.com

www.HolyBibleSearch.com
www.SillyWebcam.com
www.SillyScenes.com
www.Seekerific.com
www.Nerdful.com
www.BodySwitcher.com
www.13KG.com
www.SpareSomeChange.com
www.FloppyApps.com
www.MaxSpider.com
www.ChatPhobia.com
www.SirSeek.com
www.HappyFaceGenerator.com
www.DangerSignGenerator.com
HolyBiblesSearch:
Internet Search:

www.WHAK.com

www.MAKE-A-MEME.com
www.HolyBibleVerse.com

www.SignGenerator.org

www.MedChecker.com

www.SeekFreak.com

www.Syncrisis.com

www.Presearcher.com

www.SirSeek.com

www.FotoTrix.com

www.BoobSigns.com

www.Canuckster.com

me.ddleso.me

www.9lbs.com

www.TXT2PIC.com

www.FakeMagazineCover.com

www.Trollize.com

www.FanSignGenerator.com

www.Holy-Bibles.org

www.Is-A-Jerk.com

www.HolyBibleSearch.com
www.SillyWebcam.com
www.SillyScenes.com
www.Seekerific.com
www.Nerdful.com
www.BodySwitcher.com
www.13KG.com
www.SpareSomeChange.com
www.FloppyApps.com
www.MaxSpider.com
www.ChatPhobia.com
www.SirSeek.com
www.HappyFaceGenerator.com
www.DangerSignGenerator.com
HolyBiblesSearch:
Internet Search:

www.WHAK.com

www.MAKE-A-MEME.com
www.HolyBibleVerse.com

www.SignGenerator.org

www.MedChecker.com

www.SeekFreak.com

www.Syncrisis.com

www.Presearcher.com

www.SirSeek.com

www.FotoTrix.com

www.BoobSigns.com

www.Canuckster.com

me.ddleso.me

www.9lbs.com

www.TXT2PIC.com

www.FakeMagazineCover.com

www.Trollize.com

www.FanSignGenerator.com

www.Holy-Bibles.org

www.Is-A-Jerk.com

www.HolyBibleSearch.com
www.SillyWebcam.com
www.SillyScenes.com
www.Seekerific.com
www.Nerdful.com
www.BodySwitcher.com
www.13KG.com
www.SpareSomeChange.com
www.FloppyApps.com
www.MaxSpider.com
www.ChatPhobia.com
www.SirSeek.com
www.HappyFaceGenerator.com
www.DangerSignGenerator.com
HolyBiblesSearch:
Internet Search:

www.WHAK.com

www.MAKE-A-MEME.com
www.HolyBibleVerse.com

www.SignGenerator.org

www.MedChecker.com

www.SeekFreak.com

www.Syncrisis.com

www.Presearcher.com

www.SirSeek.com

www.FotoTrix.com

www.BoobSigns.com

www.Canuckster.com

me.ddleso.me

www.9lbs.com

www.TXT2PIC.com

www.FakeMagazineCover.com

www.Trollize.com

www.FanSignGenerator.com

www.Holy-Bibles.org

www.Is-A-Jerk.com

www.HolyBibleSearch.com
www.SillyWebcam.com
www.SillyScenes.com
www.Seekerific.com
www.Nerdful.com
www.BodySwitcher.com
www.13KG.com
www.SpareSomeChange.com
www.FloppyApps.com
www.MaxSpider.com
www.ChatPhobia.com
www.SirSeek.com
www.HappyFaceGenerator.com
www.DangerSignGenerator.com
HolyBiblesSearch:
Internet Search:

www.WHAK.com

www.MAKE-A-MEME.com
www.HolyBibleVerse.com

www.SignGenerator.org

www.MedChecker.com

www.SeekFreak.com

www.Syncrisis.com

www.Presearcher.com

www.SirSeek.com

www.FotoTrix.com

www.BoobSigns.com

www.Canuckster.com

me.ddleso.me

www.9lbs.com

www.TXT2PIC.com

www.FakeMagazineCover.com

www.Trollize.com

www.FanSignGenerator.com

www.Holy-Bibles.org

www.Is-A-Jerk.com

www.HolyBibleSearch.com
www.SillyWebcam.com
www.SillyScenes.com
www.Seekerific.com
www.Nerdful.com
www.BodySwitcher.com
www.13KG.com
www.SpareSomeChange.com
www.FloppyApps.com
www.MaxSpider.com
www.ChatPhobia.com
www.SirSeek.com
www.HappyFaceGenerator.com
www.DangerSignGenerator.com
HolyBiblesSearch:
Internet Search:

www.WHAK.com

www.MAKE-A-MEME.com
www.HolyBibleVerse.com

www.SignGenerator.org

www.MedChecker.com

www.SeekFreak.com

www.Syncrisis.com

www.Presearcher.com

www.SirSeek.com

www.FotoTrix.com

www.BoobSigns.com

www.Canuckster.com

me.ddleso.me

www.9lbs.com

www.TXT2PIC.com

www.FakeMagazineCover.com

www.Trollize.com

www.FanSignGenerator.com

www.Holy-Bibles.org

www.Is-A-Jerk.com

www.HolyBibleSearch.com
www.SillyWebcam.com
www.SillyScenes.com
www.Seekerific.com
www.Nerdful.com
www.BodySwitcher.com
www.13KG.com
www.SpareSomeChange.com
www.FloppyApps.com
www.MaxSpider.com
www.ChatPhobia.com
www.SirSeek.com
www.HappyFaceGenerator.com
www.DangerSignGenerator.com
HolyBiblesSearch:
Internet Search:

www.WHAK.com

www.MAKE-A-MEME.com
www.HolyBibleVerse.com

www.SignGenerator.org

www.MedChecker.com

www.SeekFreak.com

www.Syncrisis.com

www.Presearcher.com

www.SirSeek.com

www.FotoTrix.com

www.BoobSigns.com

www.Canuckster.com

me.ddleso.me

www.9lbs.com

www.TXT2PIC.com

www.FakeMagazineCover.com

www.Trollize.com

www.FanSignGenerator.com

www.Holy-Bibles.org

www.Is-A-Jerk.com

www.HolyBibleSearch.com
www.SillyWebcam.com
www.SillyScenes.com
www.Seekerific.com
www.Nerdful.com
www.BodySwitcher.com
www.13KG.com
www.SpareSomeChange.com
www.FloppyApps.com
www.MaxSpider.com
www.ChatPhobia.com
www.SirSeek.com
www.HappyFaceGenerator.com
www.DangerSignGenerator.com
HolyBiblesSearch:
Internet Search:

www.WHAK.com

www.MAKE-A-MEME.com
www.HolyBibleVerse.com

www.SignGenerator.org

www.MedChecker.com

www.SeekFreak.com

www.Syncrisis.com

www.Presearcher.com

www.SirSeek.com

www.FotoTrix.com

www.BoobSigns.com

www.Canuckster.com

me.ddleso.me

www.9lbs.com

www.TXT2PIC.com

www.FakeMagazineCover.com

www.Trollize.com

www.FanSignGenerator.com

www.Holy-Bibles.org

www.Is-A-Jerk.com

www.HolyBibleSearch.com
www.SillyWebcam.com
www.SillyScenes.com
www.Seekerific.com
www.Nerdful.com
www.BodySwitcher.com
www.13KG.com
www.SpareSomeChange.com
www.FloppyApps.com
www.MaxSpider.com
www.ChatPhobia.com
www.SirSeek.com
www.HappyFaceGenerator.com
www.DangerSignGenerator.com
HolyBiblesSearch:
Internet Search:

www.WHAK.com

www.MAKE-A-MEME.com
www.HolyBibleVerse.com

www.SignGenerator.org

www.MedChecker.com

www.SeekFreak.com

www.Syncrisis.com

www.Presearcher.com

www.SirSeek.com

www.FotoTrix.com

www.BoobSigns.com

www.Canuckster.com

me.ddleso.me

www.9lbs.com

www.TXT2PIC.com

www.FakeMagazineCover.com

www.Trollize.com

www.FanSignGenerator.com

www.Holy-Bibles.org

www.Is-A-Jerk.com

www.HolyBibleSearch.com
www.SillyWebcam.com
www.SillyScenes.com
www.Seekerific.com
www.Nerdful.com
www.BodySwitcher.com
www.13KG.com
www.SpareSomeChange.com
www.FloppyApps.com
www.MaxSpider.com
www.ChatPhobia.com
www.SirSeek.com
www.HappyFaceGenerator.com
www.DangerSignGenerator.com
HolyBiblesSearch:
Internet Search:

www.WHAK.com

www.MAKE-A-MEME.com
www.HolyBibleVerse.com

www.SignGenerator.org

www.MedChecker.com

www.SeekFreak.com

www.Syncrisis.com

www.Presearcher.com

www.SirSeek.com

www.FotoTrix.com

www.BoobSigns.com

www.Canuckster.com

me.ddleso.me

www.9lbs.com

www.TXT2PIC.com

www.FakeMagazineCover.com

www.Trollize.com

www.FanSignGenerator.com

www.Holy-Bibles.org

www.Is-A-Jerk.com

www.HolyBibleSearch.com
www.SillyWebcam.com
www.SillyScenes.com
www.Seekerific.com
www.Nerdful.com
www.BodySwitcher.com
www.13KG.com
www.SpareSomeChange.com
www.FloppyApps.com
www.MaxSpider.com
www.ChatPhobia.com
www.SirSeek.com
www.HappyFaceGenerator.com
www.DangerSignGenerator.com
HolyBiblesSearch:
Internet Search:

www.WHAK.com

www.MAKE-A-MEME.com
www.HolyBibleVerse.com

www.SignGenerator.org

www.MedChecker.com

www.SeekFreak.com

www.Syncrisis.com

www.Presearcher.com

www.SirSeek.com

www.FotoTrix.com

www.BoobSigns.com

www.Canuckster.com

me.ddleso.me

www.9lbs.com

www.TXT2PIC.com

www.FakeMagazineCover.com

www.Trollize.com

www.FanSignGenerator.com

www.Holy-Bibles.org

www.Is-A-Jerk.com

www.HolyBibleSearch.com
www.SillyWebcam.com
www.SillyScenes.com
www.Seekerific.com
www.Nerdful.com
www.BodySwitcher.com
www.13KG.com
www.SpareSomeChange.com
www.FloppyApps.com
www.MaxSpider.com
www.ChatPhobia.com
www.SirSeek.com
www.HappyFaceGenerator.com
www.DangerSignGenerator.com
HolyBiblesSearch:
Internet Search:

www.WHAK.com

www.MAKE-A-MEME.com
www.HolyBibleVerse.com

www.SignGenerator.org

www.MedChecker.com

www.SeekFreak.com

www.Syncrisis.com

www.Presearcher.com

www.SirSeek.com

www.FotoTrix.com

www.BoobSigns.com

www.Canuckster.com

me.ddleso.me

www.9lbs.com

www.TXT2PIC.com

www.FakeMagazineCover.com

www.Trollize.com

www.FanSignGenerator.com

www.Holy-Bibles.org

www.Is-A-Jerk.com

www.HolyBibleSearch.com
www.SillyWebcam.com
www.SillyScenes.com
www.Seekerific.com
www.Nerdful.com
www.BodySwitcher.com
www.13KG.com
www.SpareSomeChange.com
www.FloppyApps.com
www.MaxSpider.com
www.ChatPhobia.com
www.SirSeek.com
www.HappyFaceGenerator.com
www.DangerSignGenerator.com
HolyBiblesSearch:
Internet Search:

www.WHAK.com

www.MAKE-A-MEME.com
www.HolyBibleVerse.com

www.SignGenerator.org

www.MedChecker.com

www.SeekFreak.com

www.Syncrisis.com

www.Presearcher.com

www.SirSeek.com

www.FotoTrix.com

www.BoobSigns.com

www.Canuckster.com

me.ddleso.me

www.9lbs.com

www.TXT2PIC.com

www.FakeMagazineCover.com

www.Trollize.com

www.FanSignGenerator.com

www.Holy-Bibles.org

www.Is-A-Jerk.com

www.HolyBibleSearch.com
www.SillyWebcam.com
www.SillyScenes.com
www.Seekerific.com
www.Nerdful.com
www.BodySwitcher.com
www.13KG.com
www.SpareSomeChange.com
www.FloppyApps.com
www.MaxSpider.com
www.ChatPhobia.com
www.SirSeek.com
www.HappyFaceGenerator.com
www.DangerSignGenerator.com
HolyBiblesSearch:
Internet Search:

www.WHAK.com

www.MAKE-A-MEME.com
www.HolyBibleVerse.com

www.SignGenerator.org

www.MedChecker.com

www.SeekFreak.com

www.Syncrisis.com

www.Presearcher.com

www.SirSeek.com

www.FotoTrix.com

www.BoobSigns.com

www.Canuckster.com

me.ddleso.me

www.9lbs.com

www.TXT2PIC.com

www.FakeMagazineCover.com

www.Trollize.com

www.FanSignGenerator.com

www.Holy-Bibles.org

www.Is-A-Jerk.com

www.HolyBibleSearch.com
www.SillyWebcam.com
www.SillyScenes.com
www.Seekerific.com
www.Nerdful.com
www.BodySwitcher.com
www.13KG.com
www.SpareSomeChange.com
www.FloppyApps.com
www.MaxSpider.com
www.ChatPhobia.com
www.SirSeek.com
www.HappyFaceGenerator.com
www.DangerSignGenerator.com
HolyBiblesSearch:
Internet Search:

www.WHAK.com

www.MAKE-A-MEME.com
www.HolyBibleVerse.com

www.SignGenerator.org

www.MedChecker.com

www.SeekFreak.com

www.Syncrisis.com

www.Presearcher.com

www.SirSeek.com

www.FotoTrix.com

www.BoobSigns.com

www.Canuckster.com

me.ddleso.me

www.9lbs.com

www.TXT2PIC.com

www.FakeMagazineCover.com

www.Trollize.com

www.FanSignGenerator.com

www.Holy-Bibles.org

www.Is-A-Jerk.com

www.HolyBibleSearch.com
www.SillyWebcam.com
www.SillyScenes.com
www.Seekerific.com
www.Nerdful.com
www.BodySwitcher.com
www.13KG.com
www.SpareSomeChange.com
www.FloppyApps.com
www.MaxSpider.com
www.ChatPhobia.com
www.SirSeek.com
www.HappyFaceGenerator.com
www.DangerSignGenerator.com
HolyBiblesSearch:
Internet Search:

www.WHAK.com

www.MAKE-A-MEME.com
www.HolyBibleVerse.com

www.SignGenerator.org

www.MedChecker.com

www.SeekFreak.com

www.Syncrisis.com

www.Presearcher.com

www.SirSeek.com

www.FotoTrix.com

www.BoobSigns.com

www.Canuckster.com

me.ddleso.me

www.9lbs.com

www.TXT2PIC.com

www.FakeMagazineCover.com

www.Trollize.com

www.FanSignGenerator.com

www.Holy-Bibles.org

www.Is-A-Jerk.com

www.HolyBibleSearch.com
www.SillyWebcam.com
www.SillyScenes.com
www.Seekerific.com
www.Nerdful.com
www.BodySwitcher.com
www.13KG.com
www.SpareSomeChange.com
www.FloppyApps.com
www.MaxSpider.com
www.ChatPhobia.com
www.SirSeek.com
www.HappyFaceGenerator.com
www.DangerSignGenerator.com
HolyBiblesSearch:
Internet Search:

www.WHAK.com

www.MAKE-A-MEME.com
www.HolyBibleVerse.com

www.SignGenerator.org

www.MedChecker.com

www.SeekFreak.com

www.Syncrisis.com

www.Presearcher.com

www.SirSeek.com

www.FotoTrix.com

www.BoobSigns.com

www.Canuckster.com

me.ddleso.me

www.9lbs.com

www.TXT2PIC.com

www.FakeMagazineCover.com

www.Trollize.com

www.FanSignGenerator.com

www.Holy-Bibles.org

www.Is-A-Jerk.com

www.HolyBibleSearch.com
www.SillyWebcam.com
www.SillyScenes.com
www.Seekerific.com
www.Nerdful.com
www.BodySwitcher.com
www.13KG.com
www.SpareSomeChange.com
www.FloppyApps.com
www.MaxSpider.com
www.ChatPhobia.com
www.SirSeek.com
www.HappyFaceGenerator.com
www.DangerSignGenerator.com
HolyBiblesSearch:
Internet Search:

www.WHAK.com

www.MAKE-A-MEME.com
www.HolyBibleVerse.com

www.SignGenerator.org

www.MedChecker.com

www.SeekFreak.com

www.Syncrisis.com

www.Presearcher.com

www.SirSeek.com

www.FotoTrix.com

www.BoobSigns.com

www.Canuckster.com

me.ddleso.me

www.9lbs.com

www.TXT2PIC.com

www.FakeMagazineCover.com

www.Trollize.com

www.FanSignGenerator.com

www.Holy-Bibles.org

www.Is-A-Jerk.com

www.HolyBibleSearch.com
www.SillyWebcam.com
www.SillyScenes.com
www.Seekerific.com
www.Nerdful.com
www.BodySwitcher.com
www.13KG.com
www.SpareSomeChange.com
www.FloppyApps.com
www.MaxSpider.com
www.ChatPhobia.com
www.SirSeek.com
www.HappyFaceGenerator.com
www.DangerSignGenerator.com
HolyBiblesSearch:
Internet Search:

www.WHAK.com

www.MAKE-A-MEME.com
www.HolyBibleVerse.com

www.SignGenerator.org

www.MedChecker.com

www.SeekFreak.com

www.Syncrisis.com

www.Presearcher.com

www.SirSeek.com

www.FotoTrix.com

www.BoobSigns.com

www.Canuckster.com

me.ddleso.me

www.9lbs.com

www.TXT2PIC.com

www.FakeMagazineCover.com

www.Trollize.com

www.FanSignGenerator.com

www.Holy-Bibles.org

www.Is-A-Jerk.com

www.HolyBibleSearch.com
www.SillyWebcam.com
www.SillyScenes.com
www.Seekerific.com
www.Nerdful.com
www.BodySwitcher.com
www.13KG.com
www.SpareSomeChange.com
www.FloppyApps.com
www.MaxSpider.com
www.ChatPhobia.com
www.SirSeek.com
www.HappyFaceGenerator.com
www.DangerSignGenerator.com
HolyBiblesSearch:
Internet Search:

www.WHAK.com

www.MAKE-A-MEME.com
www.HolyBibleVerse.com

www.SignGenerator.org

www.MedChecker.com

www.SeekFreak.com

www.Syncrisis.com

www.Presearcher.com

www.SirSeek.com

www.FotoTrix.com

www.BoobSigns.com

www.Canuckster.com

me.ddleso.me

www.9lbs.com

www.TXT2PIC.com

www.FakeMagazineCover.com

www.Trollize.com

www.FanSignGenerator.com

www.Holy-Bibles.org

www.Is-A-Jerk.com

www.HolyBibleSearch.com
www.SillyWebcam.com
www.SillyScenes.com
www.Seekerific.com
www.Nerdful.com
www.BodySwitcher.com
www.13KG.com
www.SpareSomeChange.com
www.FloppyApps.com
www.MaxSpider.com
www.ChatPhobia.com
www.SirSeek.com
www.HappyFaceGenerator.com
www.DangerSignGenerator.com
HolyBiblesSearch:
Internet Search:

www.WHAK.com

www.MAKE-A-MEME.com
www.HolyBibleVerse.com

www.SignGenerator.org

www.MedChecker.com

www.SeekFreak.com

www.Syncrisis.com

www.Presearcher.com

www.SirSeek.com

www.FotoTrix.com

www.BoobSigns.com

www.Canuckster.com

me.ddleso.me

www.9lbs.com

www.TXT2PIC.com

www.FakeMagazineCover.com

www.Trollize.com

www.FanSignGenerator.com

www.Holy-Bibles.org

www.Is-A-Jerk.com

www.HolyBibleSearch.com
www.SillyWebcam.com
www.SillyScenes.com
www.Seekerific.com
www.Nerdful.com
www.BodySwitcher.com
www.13KG.com
www.SpareSomeChange.com
www.FloppyApps.com
www.MaxSpider.com
www.ChatPhobia.com
www.SirSeek.com
www.HappyFaceGenerator.com
www.DangerSignGenerator.com
HolyBiblesSearch:
Internet Search:

www.WHAK.com

www.MAKE-A-MEME.com
www.HolyBibleVerse.com

www.SignGenerator.org

www.MedChecker.com

www.SeekFreak.com

www.Syncrisis.com

www.Presearcher.com

www.SirSeek.com

www.FotoTrix.com

www.BoobSigns.com

www.Canuckster.com

me.ddleso.me

www.9lbs.com

www.TXT2PIC.com

www.FakeMagazineCover.com

www.Trollize.com

www.FanSignGenerator.com

www.Holy-Bibles.org

www.Is-A-Jerk.com

www.HolyBibleSearch.com
www.SillyWebcam.com
www.SillyScenes.com
www.Seekerific.com
www.Nerdful.com
www.BodySwitcher.com
www.13KG.com
www.SpareSomeChange.com
www.FloppyApps.com
www.MaxSpider.com
www.ChatPhobia.com
www.SirSeek.com
www.HappyFaceGenerator.com
www.DangerSignGenerator.com
HolyBiblesSearch:
Internet Search:

www.WHAK.com

www.MAKE-A-MEME.com
www.HolyBibleVerse.com

www.SignGenerator.org

www.MedChecker.com

www.SeekFreak.com

www.Syncrisis.com

www.Presearcher.com

www.SirSeek.com

www.FotoTrix.com

www.BoobSigns.com

www.Canuckster.com

me.ddleso.me

www.9lbs.com

www.TXT2PIC.com

www.FakeMagazineCover.com

www.Trollize.com

www.FanSignGenerator.com

www.Holy-Bibles.org

www.Is-A-Jerk.com

www.HolyBibleSearch.com
www.SillyWebcam.com
www.SillyScenes.com
www.Seekerific.com
www.Nerdful.com
www.BodySwitcher.com
www.13KG.com
www.SpareSomeChange.com
www.FloppyApps.com
www.MaxSpider.com
www.ChatPhobia.com
www.SirSeek.com
www.HappyFaceGenerator.com
www.DangerSignGenerator.com
HolyBiblesSearch:
Internet Search:

www.WHAK.com

www.MAKE-A-MEME.com
www.HolyBibleVerse.com

www.SignGenerator.org

www.MedChecker.com

www.SeekFreak.com

www.Syncrisis.com

www.Presearcher.com

www.SirSeek.com

www.FotoTrix.com

www.BoobSigns.com

www.Canuckster.com

me.ddleso.me

www.9lbs.com

www.TXT2PIC.com

www.FakeMagazineCover.com

www.Trollize.com

www.FanSignGenerator.com

www.Holy-Bibles.org

www.Is-A-Jerk.com

www.HolyBibleSearch.com
www.SillyWebcam.com
www.SillyScenes.com
www.Seekerific.com
www.Nerdful.com
www.BodySwitcher.com
www.13KG.com
www.SpareSomeChange.com
www.FloppyApps.com
www.MaxSpider.com
www.ChatPhobia.com
www.SirSeek.com
www.HappyFaceGenerator.com
www.DangerSignGenerator.com
HolyBiblesSearch:
Internet Search:

www.WHAK.com

www.MAKE-A-MEME.com
www.HolyBibleVerse.com

www.SignGenerator.org

www.MedChecker.com

www.SeekFreak.com

www.Syncrisis.com

www.Presearcher.com

www.SirSeek.com

www.FotoTrix.com

www.BoobSigns.com

www.Canuckster.com

me.ddleso.me

www.9lbs.com

www.TXT2PIC.com

www.FakeMagazineCover.com

www.Trollize.com

www.FanSignGenerator.com

www.Holy-Bibles.org

www.Is-A-Jerk.com

www.HolyBibleSearch.com
www.SillyWebcam.com
www.SillyScenes.com
www.Seekerific.com
www.Nerdful.com
www.BodySwitcher.com
www.13KG.com
www.SpareSomeChange.com
www.FloppyApps.com
www.MaxSpider.com
www.ChatPhobia.com
www.SirSeek.com
www.HappyFaceGenerator.com
www.DangerSignGenerator.com
HolyBiblesSearch:
Internet Search:

www.WHAK.com

www.MAKE-A-MEME.com
www.HolyBibleVerse.com

www.SignGenerator.org

www.MedChecker.com

www.SeekFreak.com

www.Syncrisis.com

www.Presearcher.com

www.SirSeek.com

www.FotoTrix.com

www.BoobSigns.com

www.Canuckster.com

me.ddleso.me

www.9lbs.com

www.TXT2PIC.com

www.FakeMagazineCover.com

www.Trollize.com

www.FanSignGenerator.com

www.Holy-Bibles.org

www.Is-A-Jerk.com

www.HolyBibleSearch.com
www.SillyWebcam.com
www.SillyScenes.com
www.Seekerific.com
www.Nerdful.com
www.BodySwitcher.com
www.13KG.com
www.SpareSomeChange.com
www.FloppyApps.com
www.MaxSpider.com
www.ChatPhobia.com
www.SirSeek.com
www.HappyFaceGenerator.com
www.DangerSignGenerator.com
HolyBiblesSearch:
Internet Search:

www.WHAK.com

www.MAKE-A-MEME.com
www.HolyBibleVerse.com

www.SignGenerator.org

www.MedChecker.com

www.SeekFreak.com

www.Syncrisis.com

www.Presearcher.com

www.SirSeek.com

www.FotoTrix.com

www.BoobSigns.com

www.Canuckster.com

me.ddleso.me

www.9lbs.com

www.TXT2PIC.com

www.FakeMagazineCover.com

www.Trollize.com

www.FanSignGenerator.com

www.Holy-Bibles.org

www.Is-A-Jerk.com

www.HolyBibleSearch.com
www.SillyWebcam.com
www.SillyScenes.com
www.Seekerific.com
www.Nerdful.com
www.BodySwitcher.com
www.13KG.com
www.SpareSomeChange.com
www.FloppyApps.com
www.MaxSpider.com
www.ChatPhobia.com
www.SirSeek.com
www.HappyFaceGenerator.com
www.DangerSignGenerator.com
HolyBiblesSearch:
Internet Search:

www.WHAK.com

www.MAKE-A-MEME.com
www.HolyBibleVerse.com

www.SignGenerator.org

www.MedChecker.com

www.SeekFreak.com

www.Syncrisis.com

www.Presearcher.com

www.SirSeek.com

www.FotoTrix.com

www.BoobSigns.com

www.Canuckster.com

me.ddleso.me

www.9lbs.com

www.TXT2PIC.com

www.FakeMagazineCover.com

www.Trollize.com

www.FanSignGenerator.com

www.Holy-Bibles.org

www.Is-A-Jerk.com

www.HolyBibleSearch.com
www.SillyWebcam.com
www.SillyScenes.com
www.Seekerific.com
www.Nerdful.com
www.BodySwitcher.com
www.13KG.com
www.SpareSomeChange.com
www.FloppyApps.com
www.MaxSpider.com
www.ChatPhobia.com
www.SirSeek.com
www.HappyFaceGenerator.com
www.DangerSignGenerator.com
HolyBiblesSearch:
Internet Search:

www.WHAK.com

www.MAKE-A-MEME.com
www.HolyBibleVerse.com

www.SignGenerator.org

www.MedChecker.com

www.SeekFreak.com

www.Syncrisis.com

www.Presearcher.com

www.SirSeek.com

www.FotoTrix.com

www.BoobSigns.com

www.Canuckster.com

me.ddleso.me

www.9lbs.com

www.TXT2PIC.com

www.FakeMagazineCover.com

www.Trollize.com

www.FanSignGenerator.com

www.Holy-Bibles.org

www.Is-A-Jerk.com

www.HolyBibleSearch.com
www.SillyWebcam.com
www.SillyScenes.com
www.Seekerific.com
www.Nerdful.com
www.BodySwitcher.com
www.13KG.com
www.SpareSomeChange.com
www.FloppyApps.com
www.MaxSpider.com
www.ChatPhobia.com
www.SirSeek.com
www.HappyFaceGenerator.com
www.DangerSignGenerator.com
HolyBiblesSearch:
Internet Search:

www.WHAK.com

www.MAKE-A-MEME.com
www.HolyBibleVerse.com

www.SignGenerator.org

www.MedChecker.com

www.SeekFreak.com

www.Syncrisis.com

www.Presearcher.com

www.SirSeek.com

www.FotoTrix.com

www.BoobSigns.com

www.Canuckster.com

me.ddleso.me

www.9lbs.com

www.TXT2PIC.com

www.FakeMagazineCover.com

www.Trollize.com

www.FanSignGenerator.com

www.Holy-Bibles.org

www.Is-A-Jerk.com

www.HolyBibleSearch.com
www.SillyWebcam.com
www.SillyScenes.com
www.Seekerific.com
www.Nerdful.com
www.BodySwitcher.com
www.13KG.com
www.SpareSomeChange.com
www.FloppyApps.com
www.MaxSpider.com
www.ChatPhobia.com
www.SirSeek.com
www.HappyFaceGenerator.com
www.DangerSignGenerator.com
HolyBiblesSearch:
Internet Search:

www.WHAK.com

www.MAKE-A-MEME.com
www.HolyBibleVerse.com

www.SignGenerator.org

www.MedChecker.com

www.SeekFreak.com

www.Syncrisis.com

www.Presearcher.com

www.SirSeek.com

www.FotoTrix.com

www.BoobSigns.com

www.Canuckster.com

me.ddleso.me

www.9lbs.com

www.TXT2PIC.com

www.FakeMagazineCover.com

www.Trollize.com

www.FanSignGenerator.com

www.Holy-Bibles.org

www.Is-A-Jerk.com

www.HolyBibleSearch.com
www.SillyWebcam.com
www.SillyScenes.com
www.Seekerific.com
www.Nerdful.com
www.BodySwitcher.com
www.13KG.com
www.SpareSomeChange.com
www.FloppyApps.com
www.MaxSpider.com
www.ChatPhobia.com
www.SirSeek.com
www.HappyFaceGenerator.com
www.DangerSignGenerator.com
HolyBiblesSearch:
Internet Search:

www.WHAK.com

www.MAKE-A-MEME.com
www.HolyBibleVerse.com

www.SignGenerator.org

www.MedChecker.com

www.SeekFreak.com

www.Syncrisis.com

www.Presearcher.com

www.SirSeek.com

www.FotoTrix.com

www.BoobSigns.com

www.Canuckster.com

me.ddleso.me

www.9lbs.com

www.TXT2PIC.com

www.FakeMagazineCover.com

www.Trollize.com

www.FanSignGenerator.com

www.Holy-Bibles.org

www.Is-A-Jerk.com

www.HolyBibleSearch.com
www.SillyWebcam.com
www.SillyScenes.com
www.Seekerific.com
www.Nerdful.com
www.BodySwitcher.com
www.13KG.com
www.SpareSomeChange.com
www.FloppyApps.com
www.MaxSpider.com
www.ChatPhobia.com
www.SirSeek.com
www.HappyFaceGenerator.com
www.DangerSignGenerator.com
HolyBiblesSearch:
Internet Search:

www.WHAK.com

www.MAKE-A-MEME.com
www.HolyBibleVerse.com

www.SignGenerator.org

www.MedChecker.com

www.SeekFreak.com

www.Syncrisis.com

www.Presearcher.com

www.SirSeek.com

www.FotoTrix.com

www.BoobSigns.com

www.Canuckster.com

me.ddleso.me

www.9lbs.com

www.TXT2PIC.com

www.FakeMagazineCover.com

www.Trollize.com

www.FanSignGenerator.com

www.Holy-Bibles.org

www.Is-A-Jerk.com

www.HolyBibleSearch.com
www.SillyWebcam.com
www.SillyScenes.com
www.Seekerific.com
www.Nerdful.com
www.BodySwitcher.com
www.13KG.com
www.SpareSomeChange.com
www.FloppyApps.com
www.MaxSpider.com
www.ChatPhobia.com
www.SirSeek.com
www.HappyFaceGenerator.com
www.DangerSignGenerator.com
HolyBiblesSearch:
Internet Search:

www.WHAK.com

www.MAKE-A-MEME.com
www.HolyBibleVerse.com

www.SignGenerator.org

www.MedChecker.com

www.SeekFreak.com

www.Syncrisis.com

www.Presearcher.com

www.SirSeek.com

www.FotoTrix.com

www.BoobSigns.com

www.Canuckster.com

me.ddleso.me

www.9lbs.com

www.TXT2PIC.com

www.FakeMagazineCover.com

www.Trollize.com

www.FanSignGenerator.com

www.Holy-Bibles.org

www.Is-A-Jerk.com

www.HolyBibleSearch.com
www.SillyWebcam.com
www.SillyScenes.com
www.Seekerific.com
www.Nerdful.com
www.BodySwitcher.com
www.13KG.com
www.SpareSomeChange.com
www.FloppyApps.com
www.MaxSpider.com
www.ChatPhobia.com
www.SirSeek.com
www.HappyFaceGenerator.com
www.DangerSignGenerator.com
HolyBiblesSearch:
Internet Search:

www.WHAK.com

www.MAKE-A-MEME.com
www.HolyBibleVerse.com

www.SignGenerator.org

www.MedChecker.com

www.SeekFreak.com

www.Syncrisis.com

www.Presearcher.com

www.SirSeek.com

www.FotoTrix.com

www.BoobSigns.com

www.Canuckster.com

me.ddleso.me

www.9lbs.com

www.TXT2PIC.com

www.FakeMagazineCover.com

www.Trollize.com

www.FanSignGenerator.com

www.Holy-Bibles.org

www.Is-A-Jerk.com

www.HolyBibleSearch.com
www.SillyWebcam.com
www.SillyScenes.com
www.Seekerific.com
www.Nerdful.com
www.BodySwitcher.com
www.13KG.com
www.SpareSomeChange.com
www.FloppyApps.com
www.MaxSpider.com
www.ChatPhobia.com
www.SirSeek.com
www.HappyFaceGenerator.com
www.DangerSignGenerator.com
HolyBiblesSearch:
Internet Search:

www.WHAK.com

www.MAKE-A-MEME.com
www.HolyBibleVerse.com

www.SignGenerator.org

www.MedChecker.com

www.SeekFreak.com

www.Syncrisis.com

www.Presearcher.com

www.SirSeek.com

www.FotoTrix.com

www.BoobSigns.com

www.Canuckster.com

me.ddleso.me

www.9lbs.com

www.TXT2PIC.com

www.FakeMagazineCover.com

www.Trollize.com

www.FanSignGenerator.com

www.Holy-Bibles.org

www.Is-A-Jerk.com

www.HolyBibleSearch.com
www.SillyWebcam.com
www.SillyScenes.com
www.Seekerific.com
www.Nerdful.com
www.BodySwitcher.com
www.13KG.com
www.SpareSomeChange.com
www.FloppyApps.com
www.MaxSpider.com
www.ChatPhobia.com
www.SirSeek.com
www.HappyFaceGenerator.com
www.DangerSignGenerator.com
HolyBiblesSearch:
Internet Search:

www.WHAK.com

www.MAKE-A-MEME.com
www.HolyBibleVerse.com

www.SignGenerator.org

www.MedChecker.com

www.SeekFreak.com

www.Syncrisis.com

www.Presearcher.com

www.SirSeek.com

www.FotoTrix.com

www.BoobSigns.com

www.Canuckster.com

me.ddleso.me

www.9lbs.com

www.TXT2PIC.com

www.FakeMagazineCover.com

www.Trollize.com

www.FanSignGenerator.com

www.Holy-Bibles.org

www.Is-A-Jerk.com

www.HolyBibleSearch.com
www.SillyWebcam.com
www.SillyScenes.com
www.Seekerific.com
www.Nerdful.com
www.BodySwitcher.com
www.13KG.com
www.SpareSomeChange.com
www.FloppyApps.com
www.MaxSpider.com
www.ChatPhobia.com
www.SirSeek.com
www.HappyFaceGenerator.com
www.DangerSignGenerator.com
HolyBiblesSearch:
Internet Search:

www.WHAK.com

www.MAKE-A-MEME.com
www.HolyBibleVerse.com

www.SignGenerator.org

www.MedChecker.com

www.SeekFreak.com

www.Syncrisis.com

www.Presearcher.com

www.SirSeek.com

www.FotoTrix.com

www.BoobSigns.com

www.Canuckster.com

me.ddleso.me

www.9lbs.com

www.TXT2PIC.com

www.FakeMagazineCover.com

www.Trollize.com

www.FanSignGenerator.com

www.Holy-Bibles.org

www.Is-A-Jerk.com

www.HolyBibleSearch.com
www.SillyWebcam.com
www.SillyScenes.com
www.Seekerific.com
www.Nerdful.com
www.BodySwitcher.com
www.13KG.com
www.SpareSomeChange.com
www.FloppyApps.com
www.MaxSpider.com
www.ChatPhobia.com
www.SirSeek.com
www.HappyFaceGenerator.com
www.DangerSignGenerator.com
HolyBiblesSearch:
Internet Search:

www.WHAK.com

www.MAKE-A-MEME.com
www.HolyBibleVerse.com

www.SignGenerator.org

www.MedChecker.com

www.SeekFreak.com

www.Syncrisis.com

www.Presearcher.com

www.SirSeek.com

www.FotoTrix.com

www.BoobSigns.com

www.Canuckster.com

me.ddleso.me

www.9lbs.com

www.TXT2PIC.com

www.FakeMagazineCover.com

www.Trollize.com

www.FanSignGenerator.com

www.Holy-Bibles.org

www.Is-A-Jerk.com

www.HolyBibleSearch.com
www.SillyWebcam.com
www.SillyScenes.com
www.Seekerific.com
www.Nerdful.com
www.BodySwitcher.com
www.13KG.com
www.SpareSomeChange.com
www.FloppyApps.com
www.MaxSpider.com
www.ChatPhobia.com
www.SirSeek.com
www.HappyFaceGenerator.com
www.DangerSignGenerator.com
HolyBiblesSearch:
Internet Search:

www.WHAK.com

www.MAKE-A-MEME.com
www.HolyBibleVerse.com

www.SignGenerator.org

www.MedChecker.com

www.SeekFreak.com

www.Syncrisis.com

www.Presearcher.com

www.SirSeek.com

www.FotoTrix.com

www.BoobSigns.com

www.Canuckster.com

me.ddleso.me

www.9lbs.com

www.TXT2PIC.com

www.FakeMagazineCover.com

www.Trollize.com

www.FanSignGenerator.com

www.Holy-Bibles.org

www.Is-A-Jerk.com

www.HolyBibleSearch.com
www.SillyWebcam.com
www.SillyScenes.com
www.Seekerific.com
www.Nerdful.com
www.BodySwitcher.com
www.13KG.com
www.SpareSomeChange.com
www.FloppyApps.com
www.MaxSpider.com
www.ChatPhobia.com
www.SirSeek.com
www.HappyFaceGenerator.com
www.DangerSignGenerator.com
HolyBiblesSearch:
Internet Search:

www.WHAK.com

www.MAKE-A-MEME.com
www.HolyBibleVerse.com

www.SignGenerator.org

www.MedChecker.com

www.SeekFreak.com

www.Syncrisis.com

www.Presearcher.com

www.SirSeek.com

www.FotoTrix.com

www.BoobSigns.com

www.Canuckster.com

me.ddleso.me

www.9lbs.com

www.TXT2PIC.com

www.FakeMagazineCover.com

www.Trollize.com

www.FanSignGenerator.com

www.Holy-Bibles.org

www.Is-A-Jerk.com

www.HolyBibleSearch.com
www.SillyWebcam.com
www.SillyScenes.com
www.Seekerific.com
www.Nerdful.com
www.BodySwitcher.com
www.13KG.com
www.SpareSomeChange.com
www.FloppyApps.com
www.MaxSpider.com
www.ChatPhobia.com
www.SirSeek.com
www.HappyFaceGenerator.com
www.DangerSignGenerator.com
HolyBiblesSearch:
Internet Search:

www.WHAK.com

www.MAKE-A-MEME.com
www.HolyBibleVerse.com

www.SignGenerator.org

www.MedChecker.com

www.SeekFreak.com

www.Syncrisis.com

www.Presearcher.com

www.SirSeek.com

www.FotoTrix.com

www.BoobSigns.com

www.Canuckster.com

me.ddleso.me

www.9lbs.com

www.TXT2PIC.com

www.FakeMagazineCover.com

www.Trollize.com

www.FanSignGenerator.com

www.Holy-Bibles.org

www.Is-A-Jerk.com

www.HolyBibleSearch.com
www.SillyWebcam.com
www.SillyScenes.com
www.Seekerific.com
www.Nerdful.com
www.BodySwitcher.com
www.13KG.com
www.SpareSomeChange.com
www.FloppyApps.com
www.MaxSpider.com
www.ChatPhobia.com
www.SirSeek.com
www.HappyFaceGenerator.com
www.DangerSignGenerator.com
HolyBiblesSearch:
Internet Search:

www.WHAK.com

www.MAKE-A-MEME.com
www.HolyBibleVerse.com

www.SignGenerator.org

www.MedChecker.com

www.SeekFreak.com

www.Syncrisis.com

www.Presearcher.com

www.SirSeek.com

www.FotoTrix.com

www.BoobSigns.com

www.Canuckster.com

me.ddleso.me

www.9lbs.com

www.TXT2PIC.com

www.FakeMagazineCover.com

www.Trollize.com

www.FanSignGenerator.com

www.Holy-Bibles.org

www.Is-A-Jerk.com

www.HolyBibleSearch.com
www.SillyWebcam.com
www.SillyScenes.com
www.Seekerific.com
www.Nerdful.com
www.BodySwitcher.com
www.13KG.com
www.SpareSomeChange.com
www.FloppyApps.com
www.MaxSpider.com
www.ChatPhobia.com
www.SirSeek.com
www.HappyFaceGenerator.com
www.DangerSignGenerator.com
HolyBiblesSearch:
Internet Search:

www.WHAK.com

www.MAKE-A-MEME.com
www.HolyBibleVerse.com

www.SignGenerator.org

www.MedChecker.com

www.SeekFreak.com

www.Syncrisis.com

www.Presearcher.com

www.SirSeek.com

www.FotoTrix.com

www.BoobSigns.com

www.Canuckster.com

me.ddleso.me

www.9lbs.com

www.TXT2PIC.com

www.FakeMagazineCover.com

www.Trollize.com

www.FanSignGenerator.com

www.Holy-Bibles.org

www.Is-A-Jerk.com

www.HolyBibleSearch.com
www.SillyWebcam.com
www.SillyScenes.com
www.Seekerific.com
www.Nerdful.com
www.BodySwitcher.com
www.13KG.com
www.SpareSomeChange.com
www.FloppyApps.com
www.MaxSpider.com
www.ChatPhobia.com
www.SirSeek.com
www.HappyFaceGenerator.com
www.DangerSignGenerator.com
HolyBiblesSearch:
Internet Search:

www.WHAK.com

www.MAKE-A-MEME.com
www.HolyBibleVerse.com

www.SignGenerator.org

www.MedChecker.com

www.SeekFreak.com

www.Syncrisis.com

www.Presearcher.com

www.SirSeek.com

www.FotoTrix.com

www.BoobSigns.com

www.Canuckster.com

me.ddleso.me

www.9lbs.com

www.TXT2PIC.com

www.FakeMagazineCover.com

www.Trollize.com

www.FanSignGenerator.com

www.Holy-Bibles.org

www.Is-A-Jerk.com

www.HolyBibleSearch.com
www.SillyWebcam.com
www.SillyScenes.com
www.Seekerific.com
www.Nerdful.com
www.BodySwitcher.com
www.13KG.com
www.SpareSomeChange.com
www.FloppyApps.com
www.MaxSpider.com
www.ChatPhobia.com
www.SirSeek.com
www.HappyFaceGenerator.com
www.DangerSignGenerator.com
HolyBiblesSearch:
Internet Search:

www.WHAK.com

www.MAKE-A-MEME.com
www.HolyBibleVerse.com

www.SignGenerator.org

www.MedChecker.com

www.SeekFreak.com

www.Syncrisis.com

www.Presearcher.com

www.SirSeek.com

www.FotoTrix.com

www.BoobSigns.com

www.Canuckster.com

me.ddleso.me

www.9lbs.com

www.TXT2PIC.com

www.FakeMagazineCover.com

www.Trollize.com

www.FanSignGenerator.com

www.Holy-Bibles.org

www.Is-A-Jerk.com

www.HolyBibleSearch.com
www.SillyWebcam.com
www.SillyScenes.com
www.Seekerific.com
www.Nerdful.com
www.BodySwitcher.com
www.13KG.com
www.SpareSomeChange.com
www.FloppyApps.com
www.MaxSpider.com
www.ChatPhobia.com
www.SirSeek.com
www.HappyFaceGenerator.com
www.DangerSignGenerator.com
HolyBiblesSearch:
Internet Search:

www.WHAK.com

www.MAKE-A-MEME.com
www.HolyBibleVerse.com

www.SignGenerator.org

www.MedChecker.com

www.SeekFreak.com

www.Syncrisis.com

www.Presearcher.com

www.SirSeek.com

www.FotoTrix.com

www.BoobSigns.com

www.Canuckster.com

me.ddleso.me

www.9lbs.com

www.TXT2PIC.com

www.FakeMagazineCover.com

www.Trollize.com

www.FanSignGenerator.com

www.Holy-Bibles.org

www.Is-A-Jerk.com

www.HolyBibleSearch.com
www.SillyWebcam.com
www.SillyScenes.com
www.Seekerific.com
www.Nerdful.com
www.BodySwitcher.com
www.13KG.com
www.SpareSomeChange.com
www.FloppyApps.com
www.MaxSpider.com
www.ChatPhobia.com
www.SirSeek.com
www.HappyFaceGenerator.com
www.DangerSignGenerator.com